125449 (717579), страница 2
Текст из файла (страница 2)
Фірма "Борг-Вонер" (США) поставляє торцеві ущільнення (Рис.6) для потужних (до 12,5 МВт) високообертових (до 8000 об/хв) живильних насосів АЕС [24] ; тиск ущільнювальної рідини до 14 МПа, колова швидкість до 75 м/с. Пара тертя карбід вольфраму - графіт добре припрацьовується та має підвищену термостійкість, завдяки чому ущільнення зберігає працездатність в умовах запарювання насоса. При цьому передвключене дискове ущільнення 1 підтримує тиск у кільцевій камері і тим самим перешкоджає протоку пара з порожнини насоса в камеру основного ущільнення. Циркуляція води через зовнішній холодильник забезпечується за рахунок відцентрового напору, що розвивається в камері ущільнення диском, що обертається 1. Ущільнювальні кільця встановлені в обоймах по вільній посадці і герметизуються по тильних поверхнях гумою круглого перетину. Опорне кільце, що обертається, зафіксоване в обоймі штифтом, а аксіально рухоме утримується від проворота силами тертя.
Рисунок 6 - Ущільнення високообертового живильного насоса АЕС фірми "Борг-Вонер"
Конструкція торцевого ущільнення фірми "Летті" (Франція) відрізняється способом установки ущільнювальних кілець в обойми (рис.7). Посадка кільця, що обертається, по внутрішньому діаметру забезпечує добре тепловідведення від зовнішньої циліндрової поверхні. Аксіально рухоме кільце герметизується двома гумовими кільцями круглого перерізу. Ущільнення призначене для живильних насосів АЕС, тиск ущільнювальної рідини 5 МПа, колова швидкість у парі тертя 60 м/с.
Рисунок 7 - Ущільнення живильного насоса АЕС фірми "Летті"
У торцевому ущільненні фірми "Флексибокс" (Англія) обойма кільця (рис.8), що обертається, спирається на гумове кільце круглого перерізу, що допускає деяке самоцентрування та зменшує торцеве биття. Форма перерізу кільця, що обертається, та аксіально рухомого кільця і їх посадка в обоймах вибрані з умови мінімуму сумарних силових та температурних деформацій, що порушують площинність контактних поверхонь. Як матеріали пари тертя використовуються карбіди кремнію або вольфраму по графіту. Ущільнення рекомендується для живильних насосів, ущільнювальний тиск до 7 МПа при коловій швидкості до 70 м/с.
Рисунок 8 - Торцеве ущільнення фірми "Флексибокс"
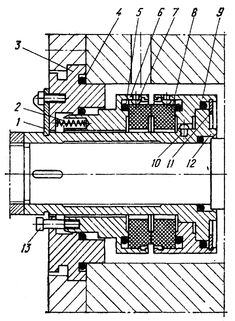
Блокова конструкція торцевого ущільнення типу Т (рис.9) розроблена ВНДІАЕН та серійно виготовляється Нальчикським машинобудівним заводом. Пару тертя утворюють два однакові кільця 8 з силіційованого графіту СГ-П, що вільно встановлені в аксіально рухомій 6 обоймі та обоймі, що обертається 9. Від провертання кільця утримуються повідцями 7 та ущільнюються гумовими кільцями 5. Аксіально рухома обойма з пружинами 2 встановлена в корпусі 3 ущільнення та зафіксована від провертання гвинтами 13. Обойма, що обертається, пружинною шайбою 11 кріпиться на перехідній втулці 12 та утримується від відносного провертання повідцем 10. Монтажна скоба 1 разом з перехідною втулкою забезпечують блоковість конструкції вузла ущільнення. Як вторинні ущільнення 4 використовуються гумові кільця круглого перерізу.
Рисунок 9 - Механічне торцеве ущільнення типу Т
Конструкцію обойми (коефіцієнт навантаження аксіально рухомої обойми 0,7) та спосіб установки кілець забезпечують їх мінімальні деформації. Середній діаметр ущільнювальних пасків від 75 до 120 мм, тиск ущільнювальної рідини до 6 МПа, колова швидкість до 25 м/с.
Ущільнення використовуються в головних (ПЕА 1650-80) та резервних (ПЕА 250-80) живильних насосах енергоблоків з реакторами РБМК-1500, в конденсатних насосах КсВА 700-180 та КсВА 650-135, в насосах розхолоджування та інших насосах із частотою обертання ротора до 3000 об/хв.
Аналіз наведених конструкцій показує, що торцеві ущільнення насосів АЕС на високі параметри в основному виготовляють із зовнішнім підведенням ущільнювальної рідини та з аксіально рухомими кільцями, що не обертаються. Як вторинні ущільнення використовуються гумові кільця круглого перерізу, а як натискні пружні елементи - набори гвинтових циліндрових пружин, розміщенних в ущільнювальній рідині. У більшості конструкцій кільця ущільнювачів встановлюються в обоймах по вільній посадці, а форма поперечних перерізів кілець та розташування тильних опорних поверхонь вибираються так, щоб звести до мінімуму деформації і неплощинність ущільнювальних контактних поверхонь.
Повідцеві пристрої для передачі крутильного моменту від вала на обойму, що обертається, а також способи стопоріння кілець в обоймах і кріплення монтажних гільз на валу найрізноманітніші. Вибір того або іншого конструктивного рішення визначається умовами роботи ущільнень.
Список літератури
1. Mayer E. Axial Gleitringdichtungen. - 7., neubearb. und erw. Aufl. Dusseldorf: VDI - Verlag, 1982.
2. Гордеев В.В. Пути повышения экономичности, надежности и долговечности торцовых уплотнений насосов // Обзорная информация. Сер. ХМ-4. М.: ЦИНТИ-химнефтемаш, 1982. - 38 с.
3. Кондаков Л.А. Рабочие жидкости и уплотнения гидравлических систем. - М.: Машиностроение, 1982.
4. Голубев А.И. Торцовые уплотнения вращающихся валов. - М.: Машиностроение, 1974.
5. Крагельский И.В., Михин Н.М. Узлы трения машин: Справочник. - М.: Машиностроение, 1984.
6. Словарь-справочник по трению, износу и смазки деталей машин / Е.Л. Шведков, Д.Я. Ровинский, В.Д. Зозуля, Э.Д. Браун. - Киев: Наукова думка, 1979.















