125179 (717546)
Текст из файла
Министерство образования и науки Российской Федерации
Российский государственный университет нефти и газа им. И.М. Губкина
РЕФЕРАТ
по курсу: «Нефтегазопромысловое дело».
на тему: «Оборудование для эксплуатации скважин фонтанным и газлифтным способами».
Выполнила: студентка гр. РГ-07-5
Ксенофонтова А. А.
Проверил: ст. преподаватель
Шлапаков А.В.
Москва, 2010 г.
Содержание
Введение.
-
Оборудование фонтанных скважин.
-
Наземное оборудование.
-
Фонтанная арматура.
-
Манифольд.
-
-
-
Подземное оборудование.
-
НКТ.
-
Пакер.
-
Клапаны.
-
-
Клапан – отсекатель.
-
Циркуляционные и ингибиторные клапаны.
-
Разъединитель колон.
-
Телескопические компенсаторы.
-
Оборудование газлифтных скважин.
-
Принцип действия и область применения.
-
Типы газлифта.
-
Оборудование.
-
Наземное оборудование.
-
Скважинное оборудование.
-
-
Заключение.
Список литературы.
Введение
Подъем по скважине нефти, газа, воды, конденсата или их смеси, а также нагнетание в пласт воды, газа, теплоносителя осуществляется с помощью оборудования, часть которого спущена в скважину, а часть расположена на поверхности, т. е. на устье, например, фонтанная арматура, или на прискважинной площадке — манифольд.
Для добычи нефти тремя основными способами — фонтанным, газлифтным и насосным в настоящее время разработаны и широко применяются соответствующие виды оборудования, для эксплуатации скважин: фонтанным способом, бескомпрессорным и компрессорным газлифтом, штанговыми скважинными насосами с механическим или гидравлическим приводом, бесштанговыми насосами — гидропоршневыми, центробежными и винтовыми электронасосами.
Удельный вес применения каждого из видов перечисленного оборудования в разных странах и регионах весьма различен. В России более 70 % нефтяных скважин эксплуатируются штанговыми насосами, менее 20 % — бесштанговыми и около 10%—фонтанным и газлифтным способами. Однако по количеству добываемой нефти первое место занимает фонтанный способ, с помощью которого добывается более половины нефти и практически весь газ газовых месторождений.
В большинстве случаев фонтанный способ эксплуатации позволяет добывать из скважины наибольшее количество нефти при наименьших удельных затратах. Поэтому одной из главных задач при эксплуатации скважин этим способом является обеспечение возможности длительного фонтанирования скважины, что связано с рациональным использованием энергии пласта путем обеспечения высокого к. п. д. работы фонтанного подъемника.
-
-
Оборудование фонтанных скважин
Оборудование фонтанной скважины обычно состоит из арматуры устья и колонны НКТ. Колонна НКТ в некоторых случаях оснащается приемной воронкой, иногда клапанами-отсекателями или седлами для установки вставных клапанов-отсекателей. Иногда в скважине устанавливают пакер.
Несмотря на относительную простоту оборудования скважин для фонтанной добычи нефти и газа, оно выполняет очень ответственные функции и должно быть особенно надежно, так как аварии с оборудованием при фонтанировании могут привести к выбросам и пожарам. Кроме того, оно часто весьма металлоемко (масса арматуры устья скважины составляет от 0,6 до 4,0 т), что при значительном числе фонтанирующих скважин ведет к большому расходу металла. Поэтому при конструировании арматуры необходимо стремиться не только к увеличению ее надежности, но и к сокращению металлоемкости.
-
Наземное оборудование.
Фонтанная арматура.
Фонтанная арматура предназначена для герметизации устья, контроля и регулирования режима эксплуатации скважин (эксплуатационных и нагнетательных). Фонтанная арматура состоит из трубной головки и фонтанной елки.
Трубная головка монтируется непосредственно на колонной головке и предназначается для подвески одной или нескольких колонн НКТ и герметизации на устье межтрубных пространств. Трубная головка должна обеспечивать проход жидкости или газа в межтрубные пространства, а также контроль давления в них и выполнения необходимых исследований скважины. Колонны подъемных труб подвешивают к трубной головке на резьбе либо на муфте; в первом случае, при однорядной конструкции лифта трубы подшивают на стволовой катушке; при двухрядной конструкции внутренний ряд - на стволовой катушке, а наружный - на тройнике трубной головки.
Рисунок 1. Трубная головка: 1 — крестовик; 2 — набор манжет; 3 — грундбукса; 4 — трубодержатель; 5 — предохранитель; 6 — винт; 7 — манжеты; 8 — гайка; 9 — втулка; 10 — переводник.
Фонтанная арматура выполняет несколько функций, главные из которых:
-
удержание на весу колонны НКТ, спущенной в скважину, а при двухрядном подъемнике — двух колонн;
-
герметизация затрубного пространства и их взаимная изоляция;
-
обеспечение возможности регулирования режима работы скважины в заданных пределах, непрерывности ее работы и исследования скважины путем измерения параметров ее работы как внутри самой скважины, так и на поверхности.
Стандартом предусмотрено несколько схем, составляющих две группы арматур, — на базе использования тройников и на базе крестовин.
Рисунок 2. Типовые схемы фонтанной арматуры: 1 - манометр; 2 - запорное устройство к манометру; 3 - фланец под манометр; 4 - запорное устройство; 5 - тройник, крестовина; 6 - дроссель; 7 - переводник трубной головки; 8 - ответный фланец; 9 - трубная головка.
Тройниковую арматуру рекомендуется использовать при низких и средних давлениях. Тройниковую арматуру с двухструнной елкой рекомендуют для скважин, в продукции которых содержаться механические примеси.
Крестовая и тройниковая однострунные арматуры предназначены для скважин, в продукции которых нет механических примесей.
Для средних и высоких давлений рекомендуют применять крестовую арматуру. Крестовая арматура значительно ниже тройниковой, что облегчает ее обслуживание. К недостаткам крестовой арматуры относится то, что при выходе из строя одного из отводов необходимо закрывать нижнее стволовое запорное устройство, а, следовательно, останавливать скважину. У тройниковой арматуры с верхним рабочим отводом при выходе его из строя можно закрыть среднюю стволовую задвижку и включить в работу нижний отвод.
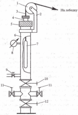
Рисунок 3. Схема лубрикатора: 1 — ролик; 2 — кронштейн; 3 — проволока; 4 — сальниковый узел; 5 — сальниковая крышка; б — труба (собственно лубрикатор); 7 — глубинный прибор; 8 — манометр; 9 — сливной кран; 10 — буферная задвижка; 11 — задвижки выкидных манометров; 12- центральная задвижка.
При исследовании скважин часто необходимо устанавливать над фонтанной елкой лубрикатор для спуска того или иного прибора. Для этой цели в тройниковой и крестовой арматуре предусмотрено верхнее стволовое запорное устройство. Лубрикатор (рис.4) представляет собой отрезок насосно-компрессорной трубы 6 соответствующей длины, устанавливаемый на фланце буферной задвижки 10, и включающий в себя ролик 1, закрепленный на кронштейне 2. Кронштейн крепится на трубе 6. В верхней части имеется сальниковый узел 4 и сальниковая крышка 5, наворачиваемая на трубу 6. Внутрь лубрикатора вводится глубинный прибор 7, спускаемый в скважину на проволоке 3. В нижней части лубрикатора имеется отвод со сливным краном 9. Давление внутри лубрикатора (устьевое давление Р) фиксируется манометром 8. Перед установкой лубрикатора закрывается буферная задвижка 10, а продукция скважины эвакуируется в выкидные манифольды с задвижками 11. Центральная задвижка 12 открыта. После установки лубрикатора на фланце буферной задвижки и введения в него глубинного прибора заворачивается сальниковая крышка 5 с сальниковым узлом 4. Проволока 3 уплотняется в узле 4. Закрывается кран 9 и открывается задвижка 10. Манометр 8 регистрирует давление на устье скважины. После этого прибор спускают в колонну НКТ. В скважинах, эксплуатируемых насосным способом, спуск прибора осуществляют до выкида насоса, а в фонтанных и газлифтных — до забоя.
Шифр фонтанной арматуры в зависимости от ее схемы, конструкции, способа управления задвижками, условного прохода, давления, климатического исполнения и коррозионностойкости может включать от девяти и более буквенных и цифровых обозначений [5].
Полный шифр фонтанной арматуры (ГОСТ 13846-84) условно представляется в виде:
АФХ1Х2Х3 – Х4 x Х5Х6Х7,
где А - арматура;
Ф - фонтанная;
Х1 - конструктивное исполнение: с фланцевыми соединениями - без обозначения (наиболее распространенное); подвеска подъемной колонны на резьбе переводника трубной головки - К;
подвеска колонны на муфте в трубной головке - без обозначения; для эксплуатации скважин УЭЦН - Э,
Х2 - номер схемы арматуры; при двухрядной концентричной подвески к номеру схемы добавляется буква «а» ;
Х3 - способ управления задвижками: вручную - без обозначения; дистанционно и автоматически - В; автоматически - А;
Х4 - условный проход в мм по ГОСТ 13846. В том случае, когда условные проходы ствола елки и ее боковых труб отличаются, цифровое обозначение указывают через дробь;
Х5 - рабочее давление в МПа;
Х6 - климатическое исполнение по ГОСТ 15150: для умеренной климатической зоны - без обозначения; для умеренной и холодной климатических зон - ХЛ;
Х7 - исполнение по коррозионностойкости: для обычных сред - без обозначения; для сред, содержащих:
до 6% СО2 – К1;
до 6% Н2S и СО2 – К2;
до 25% Н2S и СО2 – К4.
Для изготовления элементов фонтанной арматуры применяются, стали марок 45, 40ХЛ, 40ХНЛ и другие легированные стали.
Большое значение для надежности, металлоемкости, технологичности изготовления, сборки-разборки, ремонтоспособности имеет способ стыковки элементов фонтанной арматуры: тройников, крестовиков, запорных устройств, катушек, вентилей, а также способ герметизации этих стыков. Существуют несколько способов стыка элементов фонтанной арматуры. Наиболее распространенный — фланцевый с креплением болтами или шпильками. К недостаткам таких соединений относятся их значительная металлоемкость, большое число болтов (шпилек) и необходимость стабильности крепления каждого из них, а также чувствительность соединения к эффекту релаксации. Фланцевые соединения обусловили необходимость сварки литой части заготовок корпусов тройников и крестовин со штамповками, что усложняет изготовление и приводит к увеличению объема работ по механической обработке.
Более простое соединение стыков — резьбовое с муфтовым соединением, так как отпадает необходимость во фланце, прокладках, большом числе болтов, отверстий под них и упрощается сборка-разборка. Однако резьбовое соединение увеличивает вертикальный размер арматуры.
В последние годы получают все более широкое применение так называемые хомутовые соединения, позволяющие резко уменьшить размеры фланцев стыкуемых деталей, которые превращаются в небольшие бурты. Одновременно отпадает необходимость в большом числе шпилек и отверстий под них. Особое преимущество хомутового соединения — в резком ускорении и упрощении сборки и разборки стыкуемых элементов арматуры.
При обеспечении высокой надежности элементов запорных устройств становится возможным и целесообразным, особенно при больших давлениях, изготавливать фонтанную арматуру из моноблоков, каждый из которых содержит несколько элементов арматуры: две — четыре задвижки, тройник или крестовину. В этом случае вообще отсутствуют стыки между этими элементами и отпадает необходимость в их герметизации, уменьшаются размеры, значительно сокращается металлоемкость.
Техническая характеристика фонтанной арматуры:
| Основные параметры, характеризующие фонтанную арматуру | ||||
| Рабочее давление, | Условный проход, мм | Пробное давление, МПа | ||
| МПа | Ствол | Боковые отводы | На прочность | На герметичность |
| 7 | 65 | 50; 65 | 14 | 7 |
| 14 | 65* | 50; 65* | 28 | 14 |
| 21 | 65* | 50; 65* | 42 | 21 |
| 21 | 80* | 50; 66* | 42 | 21 |
| 21 | 100* | 65; 100* | 42 | 21 |
| 21 | 150* | 100* | 42 | 21 |
| 35 | 50 | 50 | 70 | 35 |
| 35 | 65* | 50; 65* | 70 | 35 |
| 35 | 80 | 50; 65 | 70 | 35 |
| 35 | 100* | 65; 80; 100* | 70 | 35 |
| 70 | 52* | 52* | 105 | 70 |
| 70 | 65 | 50; 65 | 105 | 70 |
| 70 | 80* | 50*; 65; 80 | 105 | 70 |
| 105 | 50 | 50 | 150 | 105 |
| * Выпускаются серийно; остальные - по требованию заказчика | ||||
Запорные и регулирующие устройства фонтанной арматуры и манифольда.
В арматуре применяются следующие запорные устройства:
-
задвижки клиновые;
-
задвижки прямоточные;
-
краны;
-
вентили;
-
штуцера.
Характеристики
Тип файла документ
Документы такого типа открываются такими программами, как Microsoft Office Word на компьютерах Windows, Apple Pages на компьютерах Mac, Open Office - бесплатная альтернатива на различных платформах, в том числе Linux. Наиболее простым и современным решением будут Google документы, так как открываются онлайн без скачивания прямо в браузере на любой платформе. Существуют российские качественные аналоги, например от Яндекса.
Будьте внимательны на мобильных устройствах, так как там используются упрощённый функционал даже в официальном приложении от Microsoft, поэтому для просмотра скачивайте PDF-версию. А если нужно редактировать файл, то используйте оригинальный файл.
Файлы такого типа обычно разбиты на страницы, а текст может быть форматированным (жирный, курсив, выбор шрифта, таблицы и т.п.), а также в него можно добавлять изображения. Формат идеально подходит для рефератов, докладов и РПЗ курсовых проектов, которые необходимо распечатать. Кстати перед печатью также сохраняйте файл в PDF, так как принтер может начудить со шрифтами.
















