124804 (717465)
Текст из файла
Экструдеры для переработки полимеров
1. Классификация экструдеров для переработки полимеров
При экструзии расплав полимера продавливается через профилирующий инструмент, в результате чего получается изделие нужного поперечного сечения. Методом экструзии изготавливают самые разнообразные изделия, такие, как гранулы, трубы, листы, пленки, профильные полосы, кабельные оболочки и многие другие.
Основным оборудованием для переработки полимеров методом экструзии являются одно- и многочервячные экструдеры. В последнее время для переработки эластичных расплавов начинают применять дисковые бесчервячные экструдеры, в которых давление экструзии создается по принципу эффекта Вайссенберга. Наконец, в производстве изделий из фторпластов до сих пор применяют плунжерные экструдеры.
Все многообразие конструкций существующих экструдеров можно систематизировать с помощью семиступенчатой классификационной схемы. В соответствии с этой схемой первая ступень (тип) определяет основной конструктивный признак экструдера (одно- или двухчервячный, плунжерный, дисковый). Вторая ступень (класс) обусловливает функциональное назначение экструдера в наиболее общем виде. Третья ступень (группа) определяет компоновку червяков (в одну или две ступени). Четвертая ступень (ряд) обусловливает термодинамическую категорию и виды воздействия на перерабатываемый полимер. Пятая ступень (исполнение) определяет наличие или отсутствие зоны дегазации расплава, шестая ступень (модель) — размерные характеристики экструдера по диаметру червяка и его относительной длине (D, LID). Седьмая ступень (вид) характеризует особенности конструкции многочервячных экструдеров (направление вращения червяков, наличие или отсутствие взаимозацепления).
В соответствии с этой схемой классификации можно ввести кодированное обозначение экструдера, используя запись в виде последовательности групп цифр, отделенных друг от друга косой чертой, например Э/102/201/301/402/501/6032015. Здесь буква Э означает, что речь идет об экструдере, сочетание 102 показывает, что на первой ступени (отделяется от последующей цифры нулем) экструдер относится к типу 2 (одночервячный); сочетание 201 означает, что на второй ступени экструдер относится к классу 1 (пластицирующий); сочетание 301 означает, что на третьей ступени экструдер относится к группе 1 (одноступенчатый) ; сочетание 402 показывает, что на четвертой ступени экструдер относится к ряду 2 (специальный автогенный); сочетание 501 означает, что на пятой ступени экструдер относится к машинам с зоной дегазации; сочетание 6032015 означает, что диаметр червяка равен 32 мм, а L/Z) = 15.
Выпускаемые отечественной машиностроительной промышленностью универсальные экструдеры имеют относительную длину червяка, равную 20, 25 и 30 диаметрам. Отношение длины рабочей части червяка к диаметру L/D у отечественных двухчервячных экструдеров составляет 12 и 15.
2. Конструкция одночервячного экструдера
Одночервячный экструдер (рис. 1) состоит из червяка 1, вращающегося внутри цилиндрического корпуса 2, на котором установлен бункер И. Внутри корпуса, как правило, запрессовывается гильза 3 с азотированной, закаленной и термообрабо-танной поверхностью. Обогрев корпуса осуществляется нагревателями 4, сгруппированными в несколько (как правило, три или четыре) тепловых зон. На конце корпуса устанавливается головка с профилирующим инструментом 5, соединяющаяся с корпусом экструдера посредством адаптера 6. Между червяком и адаптером располагается решетка с пакетом фильтрующих сеток 7. Корпус устанавливается на станине 8. Осевое усилие воспринимается блоком упорных подшипников 10. Привод червяка осуществляется от регулируемого электродвигателя через шестеренчатый редуктор 9. Бункер изготавливается из листовой стали или алюминиевых сплавов со смотровым окном для контроля за уровнем находящегося в бункере материала. Для переработки материалов, склонных к сводообразованию (зависанию), в бункере устанавливают перемешивающее устройство. Бункера экструдеров, предназначенных для переработки материалов с низкой сыпучестью (порошки, отходы производства пленок и нитей), оборудуют устройствами для предварительного уплотнения материала.
Рис. 1. Принципиальная схема одночервячного экструдера
Рис. 2. Бункер для переработки гидрофильных полимеров
Для переработки гидрофильных полимеров применяют бункера вакуумированием с целью удаления влаги и летучих. В не- которых случаях используют бункера, в которых материалы подогревается горячим воздухом (рис. 2).
2.1 Червяки
В современных экструдерах применяются червяки с относительной длиной L/D= 154-35. Диаметр червяков регламентируется ГОСТ 14773—80 и может составлять 20 32; 45; 63; 90; 125; 160; 200; 250; 320; 450; 630 мм. Наиболее распространены так называемые зонированные червяки рис 3, на которых можно выделить зону питания L3, зону плавления и зону дозирования
Экструзионный материал может поступать на переработку в виде гранул или порошка. Гранулы загружаются в бункер и через загрузочное отверстие поступают к червяку. Продвигаясь вдоль червяка, гранулы расплавляются, расплав продавливается через решетку и пакет фильтрующих сеток. Затем расплав проходит через конический диффузор (адаптер) в головку, в которой установлен профилирующий инструмент. Червяк — это основной рабочий орган экструдера. Он забирает непластицированный материал от загрузочного отверстия пластицирует его и равномерно подает в виде гомогенного расплава к головке. Продвигаясь по каналу червяка, материала разогревается как за счет тепла, выделяющегося вследствие вязкого трения, так и тепла, подводимого от расположение на корпусе нагревателей. В результате уплотнения из материла удаляется захваченный вместе с гранулами (или порошков воздух, и удельный объем пробки гранул уменьшается. Для компенсации уменьшения удельного объема гранулята канал червяка выполняется с уменьшающимся объемом витка. Поэтому глубина винтового канала червяка на выходе всегда меньше, чем на входе.
Рис. 3. Пластицирующий червяк с явно выраженной зоной плавления
По характеру процессов, протекающих на каждом участке червяка, его обычно можно разделить по длине на три основные зоны:
зона питания (или зона загрузки)—участок, на котором перерабатываемый материал находится в твердом состоянии;
зона сжатия (или зона плавления)—участок, на котором почти полностью происходит плавление материала;
зона дозирования — участок, на котором материал находится в расплавленном вязкотекучем состоянии.
Червяк, представленный на рис. 3, имеет явно выраженную зону плавления. В зоне питания глубина канала максимальна. В зоне плавления она постепенно уменьшается до значения, соответствующего зоне дозирования. По мере приближения к головке площадь поперечного сечения канала червяка сокращается. Это достигается в результате уменьшения глубины канала червяка, вследствие снижения шага нарезки или за счет того и другого одновременно.
Отношение объемов витков винтового канала в начале и в конце зоны плавления (геометрическая степень сжатия) рассчитывают по формуле
Червяки современных экструдеров изготавливают из нержавеющих хромомолибденовых, хромоникелевых сталей. Высокая поверхностная твердость обеспечивается различными видами термообработки (закалкой, цементацией с последующей закалкой, азотированием). Гребни нарезки червяков, предназначенных для переработки композиций с абразивным наполнителем, защищают, наваривая покрытие из твердых сплавов с твердостью HRC=70.
При работе экструдера на червяк действуют значительные осевые и радиальные усилия, для восприятия которых в качестве опор применяют конические самоустанавливающиеся подшипники, воспринимающие осевые и радиальные усилия, в сочетании с радиальными подшипниками, воспринимающими только радиальные усилия. При расчете подшипников стандартными методами принимают, что давление в конце червяка (для подсчета осевой составляющей) равно 70—80 МПа, а срок службы — 30-103 ч [1-3].
2.2 Корпус
Корпус одночервячного экструдера изготавливают из поковок, выполненных из стали 45. Крепление корпуса к блоку подшипников осуществляют фланцевым соединением. Гильзы изготавливают из нержавеющей стали, внутреннюю поверхность цементируют и азотируют. В экструдерах, предназначенных для переработки материалов, наполненных абразивным наполнителем, применяют гильзы, внутренняя поверхность которых покрывается твердым износостойким сплавом (победит, ксиллой), или борированные биметаллические гильзы длиной (Зч-4)£>. Для переработки порошкообразных полимеров на участке зоны питания устанавливают втулку с рифленой внутренней поверхностью.
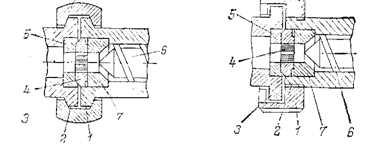
Рис 4. Фланцевое крепление обычными болтами
1- фланец корпуса экструдера, 2 – фланец головки, 3 – болт, 4 – решетка фильтра, 5 – опорное кольцо, 6 – червяк, 7 – втулка крепления фильтра
Рис 5. Крепление стяжными хомутами
1-нижняя половина хомута, 8-верхняя половина хомута. (остальные обозначения см на рис.4)
Корпус экструдера может соединяться с головкой при помощи одного из следующих четырех типов соединений: 1) фланцевое крепление обычными болтами (рис.4); 2) фланцевое крепление откидными шарнирными болтами (рис.5); 3) быстродействующий затвор, состоящий из двух стяжных клиновых хомутов (рис. 5); 4) быстродействующий байонетный затвор, состоящий из установленной на корпусе байонетной гайки и неподвижного упорного фланца.
Преимущество быстродействующих затворов состоит в том, что для их отпирания или запирания достаточно освободить или затянуть только один конструктивный элемент. На больших экструдерах (с диаметром червяка более 250 мм) для стяжных клиновых хомутов вместо винтового механизма применяют гидравлический или пневматический цилиндр.
Обогрев корпуса осуществляется нагревателями сопротивления. Иногда для этой цели применяют индукционные нагреватели, паровой или масляный обогрев.
Для отвода избыточного тепла, выделяющегося из-за вязкого трения в зонах плавления и дозирования, а также для обеспечения нужного температурного режима в зоне питания служит система охлаждения. Чаще всего корпус экструдера охлаждают при помощи систем воздушного охлаждения, обеспечивающих плавное снижение температуры со скоростью около 2,5 град/мин. Для этого на экструдере устанавливают систему воздушного охлаждения, состоящую из одного или нескольких вентиляторов, системы воздухопроводов и заслонок, управляющих подачей охлаждающего воздуха.
Для поддержания заданного температурного режима служит система тепловой автоматики, включающая в себя комплект термопар и комплект регулирующих приборов, собранных в общий пульт тепловой автоматики. Обычно регулирование температуры тепловой зоны ведут по показаниям термопары, установленной в середине зоны, причем отверстие, в которое вставляется термопара, высверливается до половины толщины стенки корпуса. Такое расположение термопары имеет два недостатка: 1) значительное отклонение замеряемой температуры от фактической, так как спай термопары регистрирует некоторую промежуточную температуру между температурой поверхности нагревателя и температурой внутренней поверхности корпуса; 2) большое время запаздывания и значительные колебания температуры, так как утопленная термопара не сразу реагирует на изменение температуры расплава или нагревателя.
Более точное поддержание температуры обеспечивает применение систем каскадного регулирования температуры (рис. 6), в которых используются две термопары. Одна из термопар (регулирующая) располагается непосредственно у поверхности нагревателя и сразу же реагирует на изменение теплового потока, спай второй погружается в расплав или устанавливается на очень небольшом расстоянии от внутренней стенки корпуса. Сигнал с этой термопары Ты подается на вход главного пропорционально-интегрального регулятора Rc, который сравнивает его с установленной величиной Т8 и корректирует установку исполнительных регуляторов RHi—Rh4, соединенных с регулирующими термопарами TSI, управляющими включением и выключением нагревателей Н. Такая система регулирования обеспечивает автоматическую корректировку температуры поверхности корпуса, которая изменяется до тех пор, пока температура расплава (или внутренней поверхности корпуса) не достигнет заданного значения.
Характеристики
Тип файла документ
Документы такого типа открываются такими программами, как Microsoft Office Word на компьютерах Windows, Apple Pages на компьютерах Mac, Open Office - бесплатная альтернатива на различных платформах, в том числе Linux. Наиболее простым и современным решением будут Google документы, так как открываются онлайн без скачивания прямо в браузере на любой платформе. Существуют российские качественные аналоги, например от Яндекса.
Будьте внимательны на мобильных устройствах, так как там используются упрощённый функционал даже в официальном приложении от Microsoft, поэтому для просмотра скачивайте PDF-версию. А если нужно редактировать файл, то используйте оригинальный файл.
Файлы такого типа обычно разбиты на страницы, а текст может быть форматированным (жирный, курсив, выбор шрифта, таблицы и т.п.), а также в него можно добавлять изображения. Формат идеально подходит для рефератов, докладов и РПЗ курсовых проектов, которые необходимо распечатать. Кстати перед печатью также сохраняйте файл в PDF, так как принтер может начудить со шрифтами.















