124804 (717465), страница 2
Текст из файла (страница 2)
2.3 Фильтр для расплава
Для предотвращения попадания в формующий инструмент частиц непроплавленного полимера на выходе из экструдера устанавливается пакет фильтрующих сеток. Обычно пакет набирается из трех-четырех сеток с отверстиями различной величины. При этом в основание пакета укладывается опорная сетка с самыми крупными ячейками. Затем устанавливаются одна или две промежуточные поддерживающие сетки, на которые накладывается последняя фильтрующая сетка с самыми мелкими ячейками. Собранный таким образом пакет устанавливается на решетку и вставляется в корпус экструдера между червяком и головкой. При установке пакета необходимо следить за тем, чтобы мелкая фильтрующая сетка была расположена с внешней стороны пакета. В противном случае давление расплава прорвет сетку и выдавит ее в отверстия решетки.
Такие фильтры рассчитаны на задержание частиц с линейным размером не менее 200 мкм.
В экструдерах, применяемых для изготовления сверхтонких конденсаторных или магнитофонных пленок, устанавливаются специальные фильтры, обеспечивающие улавливание посторонних включений размером до 16 мкм. Обычно такие фильтры состоят из двухпозиционной кассеты, в каждое из гнезд которой вставляется по фильтрующему элементу. Замена фильтра производится без остановки экструдера, простым передвижением кассеты с помощью гидравлического или пневматического сервопривода. Сигналом, указывающим на необходимость замены фильтра, является повышение давления в расплаве перед фильтром. Еще более тонкой очистки удается добиться, применяя фильтрующие элементы, в которых в качестве наполнителя используют кварцевый песок. В таких фильтрах задерживаются частицы размером г=5 мкм.
Конструкция фильтров, предназначенных для очистки расплава, должна удовлетворять следующим требованиям: а) обеспечивать замену фильтрующих сеток при минимальной продолжительности остановок (или без них) технологического процесса;
б)должна быть герметичной, не допускать утечек расплава как мимо фильтрующих сеток, так и в окружающую среду;
в)гидравлическое сопротивление фильтра должно быть мини- мальным; г) в процессе фильтрации в фильтре не должно воз- никать застойных зон; д) распределение температуры в расплаве при прохождении через фильтр должно оставаться неизменным.
Конструкции фильтров классифицируют по характеру фильтрующих элементов (шиберного, кассетного и пробкового типа) и по числу фильтрующих элементов (одно- и двухкамерные).
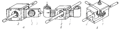
Схема однокамерного фильтра шиберного типа приведена на рис. 5.10. Основным рабочим органом такого фильтра является шибер 1, который перемещается с помощью механического привода, поочередно вводя в корпус экструдера фильтрующие сетки 2 и 3. В фильтре с рулонной самоперемещающейся сеткой, сетка / протягивается через щель в корпус 2 потоком утечек, расход которого определяется величиной зазора между корпусом и сеткой со стороны выхода сетки. В самоочищающемся фильтре (в) засоренная сетка очищается обратным потоком расплава. Для этого диск 1 поворачивается таким образом, чтобы установленный в нем пакет сеток совместился с отверстием, соединяющим камеру фильтрации 2 с атмосферой. Проходящий через пакет сеток в обратном направлении поток расплава промывает фильтр от находящихся на сетке включений.
Типичная конструкция шиберного фильтра приведена на рис. 5.11. Фильтр состоит из корпуса 6, внутри которого neper двигается плоская плита 1 с гнездами 3 и 4 для фильтрующих сеток. Пакеты сеток 2 установлены на решетках 14 и зафиксированы стопорными кольцами 15. Винт 16 служит для продольного перемещения плиты 1. Уплотнение достигается за счет прижатия втулки 9 к торцевой поверхности плиты 1 и растяжения давлением расплава фторопластового кольца 7. Для увеличения усилия, с которым втулка 9 прижимается к плите, на втулке укреплена обтекаемая торпеда 8. Обогрев корпуса 6 и ограничительной плиты 12 осуществляется электронагревателем 13 с регулирующей термопарой 10. Крепление фильтра к корпусу экструдера и адаптеру головки осуществляется болтами 5п11 [1].
Большей универсальностью обладают кассетные фильтры (рис. 10) с цилиндрической фильтрующей сеткой, имеющей гладкую или гофрированную поверхность (с продольными или поперечными гофрами). Фильтрующий элемент 8 состоит из трех концентрических перфорированных цилиндров 3, 4 и 5 с закрепленными на их поверхности фильтрующими сетками и устанавливается непосредственно в корпусе 2 адаптера формующей головки. Расплав из экструдера попадает в каналы фильтрующего элемента 8, а затем проходит через отверстия 1 в цилиндрах и ячейки фильтрующих сеток и попадает в формующую головку. Обогрев корпуса фильтра осуществляется нагревателем 7 с регулирующей термопарой 6. Благодаря большой фильтрующей поверхности срок непрерывной работы такого фильтра может достигать одного месяца.
Рис. 10. Кассетный фильтр
В настоящее время в оборудовании для переработки полимеров наиболее широко используют фильтры шиберного типа (с ручным или гидравлическим приводом шибера) и фильтры кассетного типа с фильтрующей сеткой цилиндрической формы.
2.4 Привод экструдера
Способы регулирования частоты вращения червяка зависят от необходимого диапазона регулирования. Чаще всего в качестве привода применяют электродвигатели постоянного тока с тиристорным управлением и коллекторные двигатели переменного тока. Некоторое распространение получил гидропривод и асинхронные двигатели в сочетании с механическими шестеренчатыми редукторами.
Верхняя граница рабочей области выбрана из условия обеспечения безопасной с точки зрения механодеструкции максимальной скорости вращения червяка (максимальная скорость сдвига).
Выбранный привод должен надежно обеспечивать необходимый для работы экструдера вращающий момент во всем рабочем диапазоне частот вращения червяка..
Удельные энергозатраты при экструзии складываются из энергии, потребляемой приводом червяка, и энергии, потребляемой нагревателями корпуса и головки. С увеличением частоты вращения червяка доля энергии, расходуемой на привод червяка, увеличивается, а используемой нагревательными элементами — соответственно уменьшается.
Электроприводы со стабилизацией частоты вращения червяка. Диапазон регулирования частоты вращения червяков составляет около 1 : 10 (для приемных устройств диапазон регулирования скорости несколько шире-—от 1 :30 до 1:50). В настоящее время для регулирования частоты вращения двигателя наиболее широко применяют систему тиристорный преобразователь — двигатель постоянного тока (ТП—Д) с питанием якорной цепи двигателя от регулируемого резисторного преобразователя при неизменном токе возбуждения двигателя.
Как и большинство современных АСР, она имеет два контура регулирования: внутренний (подчиненный)—замкнутый контур регулирования силы тока с регулятором РТ и измерителем сил тока ДТ — и внешний (основной) контур регулирования частоты с тахогенератором в качестве датчика частоты ДЧ и регулятором, установленными в цепи обратной связи. При таком исполнении АСР тиристорный преобразователь ТП, охваченный отрицательной обратной связью по току, играет роль регулируемого источника питания с большим внутренним сопротивлением; заданное значение силы тока определяется выходным сигналом регулятора частоты РЧ. Ограничение максимальной силы тока двигателя Д (следовательно, и крутящего момента) достигается в такой системе ограничением величины выходного сигнала основного регулятора РЧ. Системы управления приводом такого типа вследствие малой инерционности тиристорных преобразователей обладают высоким быстродействием.
Аппаратура управления экструдеров обычно состоит из пульта управления и шкафа тепловой автоматики. На пульте управления располагается аппаратура управления двигателем привода, кнопки пуска и останова экструдера и приборы, показывающие основные параметры процесса: частоту вращения червяка, силу тока в цепи двигателя привода, температуру и давление расплава на выходе из червяка. В шкафу тепловой автоматики устанавливаются приборы для контроля и регулирования температуры тепловых зон.
В настоящее время широкое распространение получают микропроцессорные системы управления. В таких системах все управление процессом экструзии осуществляется микроЭВМ, в программирующий блок которой лишь вводится перфокарта с заданным технологическим режимом. Применение ЭВМ с микропроцессором позволяет производить быструю переналадку оборудования при переходе с выпуска одного изделия на выпуск другого. Более качественное ведение процесса дает возможность уменьшить поле допуска на разнотолщинность изделий и сократить на 6—10% расход пластмасс [1-3].
Литература
-
Стрепихеев А.А., Деревицкая В.А. Основы химии высокомолекулярных соединений. - М.: Химия, 1976. 440 с.
-
Тагер А.А. Физикохимия полимеров. - М.: Химия, 1978. 544 с.













