124783 (717458)
Текст из файла
ШТАНГОВЫЕ НАСОСНЫЕ УСТАНОВКИ (ШСНУ)
Прекращение или отсутствие фонтанирования обусловило использование других способов подъема нефти на поверхность, например, посредством штанговых скважинных насосов. Этими насосами в настоящее время оборудовано большинство скважин. Дебит скважин — от десятков килограмм в сутки до нескольких тонн. Насосы опускают на глубину от нескольких десятков метров до 3000 м иногда до 3200 — 3400 м.
ШСНУ включает:
а) наземное оборудование — станок-качалка (СК), оборудование устья, блок управления;
б) подземное оборудование — насосно-компрессорные трубы (НКТ), штанги насосные (ШН), штанговый скважинный насос (ШСН) и различные защитные устройства, улучшающие работу установки в осложненных условиях.
Рис. 1. Схема штанговой насосной установки
Штанговая глубинная насосная установка (рисунок 1) состоит из скважинного насоса 2 вставного или невставного типов, насосных штанг 4, насосно-компрессорных труб 3, подвешенных на планшайбе или в трубной подвеске 8 устьевой арматуры, сальникового уплотнения 6, сальникового штока 7, станка качалки 9, фундамента 10 и тройника 5. На приеме скважинного насоса устанавливается защитное приспособление в виде газового или песочного фильтра 1.
СТАНКИ-КАЧАЛКИ
Станок-качалка (рисунок 2), является индивидуальным приводом скважинного насоса.
Рисунок 2 — Станок-качалка типа СКД
1 — подвеска устьевого штока; 2 — балансир с опорой; 3 — стойка; 4 — шатун; 5 — кривошип; 6 — редуктор; 7 — ведомый шкив; 8 — ремень; 9 — электродвигатель; 10 — ведущий шкив; 11 — ограждение; 12 — поворотная плита; 13 — рама; 14 — противовес; 15 — траверса; 16 — тормоз; 17 — канатная подвеска.
Основные узлы станка-качалки — рама, стойка в виде усеченной четырехгранной пирамиды, балансир с поворотной головкой, траверса с шатунами, шарнирно-подвешенная к балансиру, редуктор с кривошипами и противовесами. СК комплектуется набором сменных шкивов для изменения числа качаний, т. е. регулирование дискретное. Для быстрой смены и натяжения ремней электродвигатель устанавливается на поворотной салазке.
Монтируется станок-качалка на раме, устанавливаемой на железобетонное основание (фундамент). Фиксация балансира в необходимом (крайнем верхнем) положении головки осуществляется с помощью тормозного барабана (шкива). Головка балансира откидная или поворотная для беспрепятственного прохода спускоподъемного и глубинного оборудования при подземном ремонте скважины. Поскольку головка балансира совершает движение по дуге, то для сочленения ее с устьевым штоком и штангами имеется гибкая канатная подвеска 17 (рисунок 13). Она позволяет регулировать посадку плунжера в цилиндр насоса для предупреждения ударов плунжера о всасывающий клапан или выхода плунжера из цилиндра, а также устанавливать динамограф для исследования работы оборудования.
Амплитуду движения головки балансира (длина хода устьевого штока — 7 на рисунке 12) регулируют путем изменения места сочленения кривошипа шатуном относительно оси вращения (перестановка пальца кривошипа в другое отверстие). За один двойной ход балансира нагрузка на СК неравномерная. Для уравновешивания работы станка-качалки помещают грузы (противовесы) на балансир, кривошип или на балансир и кривошип. Тогда уравновешивание называют соответственно балансирным, кривошипным (роторным) или комбинированным.
Блок управления обеспечивает управление электродвигателем СК в аварийных ситуациях (обрыв штанг, поломки редуктора, насоса, порыв трубопровода и т. д.), а также самозапуск СК после перерыва в подаче электроэнергии.
Долгое время нашей промышленностью выпускались станки-качалки типоразмеров СК. В настоящее время по ОСТ 26-16-08-87 выпускаются шесть типоразмеров станков-качалок типа СКД, основные характеристики приведены в таблице 1.
Таблица 1
Станок‑качалка | Число ходов балансира, мин. | Масса, кг | Редуктор |
| СКД3 — 1.5-710 | 5 15 | 3270 | Ц2НШ — 315 |
| СКД4 — 21-1400 | 5 15 | 6230 | Ц2НШ — 355 |
| СКД6 — 25-2800 | 5 14 | 7620 | Ц2НШ — 450 |
| СКД8 — 3.0-4000 | 5 14 | 11600 | НШ —700Б |
| СКД10 — 3.5-5600 | 5 12 | 12170 | Ц2НШ — 560 |
| СКД12 —3.0-5600 | 5 12 | 12065 | Ц2НШ — 560 |
В шифре, например, СКД8 — 3.0-4000, указано Д — дезаксиальный; 8 — наибольшая допускаемая нагрузка
на головку балансира в точке подвеса штанг, умноженная на 10 кН; 3.0 — наибольшая длина хода устьевого штока, м; 4000 — наибольший допускаемый крутящий момент
на ведомом валу редуктора, умноженный на 10-2 кН*м.
АО «Мотовилихинские заводы» выпускает привод штангового насоса гидрофицированный ЛП — 114.00.000, разработанный совместно со специалистами ПО «Сургутнефтегаз».
Моноблочная конструкция небольшой массы делает возможным его быструю доставку (даже вертолетом) и установку без фундамента (непосредственно на верхнем фланце трубной головки) в самых труднодоступных регионах, позволяет осуществить быстрый демонтаж и проведение ремонта скважинного оборудования.
Фактически бесступенчатое регулирование длины хода и числа двойных ходов в широком интервале позволяет выбрать наиболее удобный режим работы и существенно увеличивает срок службы подземного оборудования.
| Техническая характеристика | |
| Нагрузка на шток, кН (тс) | 60 (6) |
| Длина хода, м | 1.2 2.5 |
| Число двойных ходов в минуту | 1 7 |
| Мощность, кВт | 18.5 |
| Масса привода, кг | 1800 |
Станки-качалки для временной добычи могут быть передвижными на пневматическом (или гусеничном) ходу. Пример — передвижной станок-качалка «РОУДРАНЕР» фирмы «ЛАФКИН».
УСТЬЕВОЕ ОБОРУДОВАНИЕ
Устьевое оборудование предназначено для герметизации затрубного пространства, внутренней полости НКТ, отвода продукции скважины, подвешивания колонны НКТ, а также для проведения технологических операций, ремонтных и исследовательских работ в скважинах.
В оборудовании устья колонна насосно-компрессорных труб в зависимости от ее конструкции подвешивается в патрубке планшайбы или на корпусной трубной подвеске.
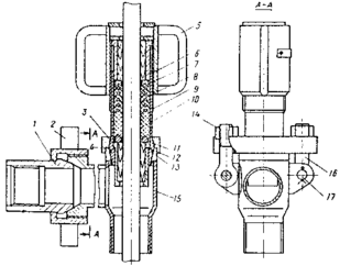
Для уплотнения устьевого штока применяется устьевой сальник типа СУС1 или СУС2 (рисунок 3.).
Рисунок 3 — Устьевой сальник типа СУС1
1 — ниппель; 2 — накидная гайка; 3 — втулка; 4 — шаровая крышка; 5 — крышка головки; 6 — верхняя втулка; 7 — нажимное кольцо; 8, 10 — манжеты; 9 — шаровая головка; 11 — опорное кольцо; 12 — нижняя втулка; 13 — кольцо; 14 — гайка; 15 — тройник; 16 — болт откидной; 17 — палец.
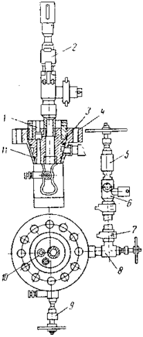
Арматура устьевая типа АУШ-65/50х14 состоит из устьевого патрубка с отборником проб, угловых вентилей, клапана перепускного, устьевого сальника и трубной подвески (рисунок 15).
Трубная подвеска, имеющая два уплотнительных кольца, является основным несущим звеном насосно-компрессорных труб с глубинным насосом на нижнем конце и сальниковым устройством наверху. Корпус трубной головки имеет отверстие для выполнения исследовательских работ.
Проекция скважины поступает через боковое отверстие трубной подвески, а сброс давления из затрубного пространства производится через встроенный в корпус трубной подвески перепускной клапан.
| Техническая характеристика АУШ 65/50 Х 14: | |
| Рабочее давление, МПа в устьевом сальнике СУС при работающем станке-качалке при остановленном станке-качалке | 4 14 |
| Условный проход, мм: ствола обвязки | 65 50 |
| Подвеска насосно-компрессорных труб | конусная |
| Диаметр подвески труб, мм | 73 |
| Присоединительная резьба (ГОСТ 632—80) | Резьба НКТ |
| Диаметр устьевого патрубка, мм | 146 |
| Габариты, мм | 3452х770х1220 |
| Масса, кг | 160 |
Рисунок 4 — Устьевая арматура типа АУШ
1 — отверстие для проведения исследовательских работ; 2 — сальниковое устройство; 3 — трубная подвеска; 4 — устьевой патрубок; 5, 8 и 9 — угловые вентили; 6 — отборник проб; 7 — быстросборная муфта; 10 — перепускной патрубок; 11 — уплотнительное кольцо.
ШТАНГИ НАСОСНЫЕ (ШН)
ШН предназначены для передачи возвратно-поступательного движения плунжеру насоса (рисунок 16). Изготавливаются основном из легированных сталей круглого сечения диаметром 16, 19, 22, 25 мм, длиной 8000 мм и укороченные — 1000 - 1200, 1500, 2000 и 3000 мм как для нормальных, так и для коррозионных условий эксплуатации.
Рисунок 5 — Насосная штанга
Шифр штанг — ШН-22 обозначает: штанга насосная диаметром 22 мм. Марка сталей — сталь 40, 20Н2М, 30ХМА, 15НЗМА и 15Х2НМФ с пределом текучести от 320 до 630 МПа.
Насосные штанги применяются в виде колонн, составленных из отдельных штанг, соединенных посредством муфт.
Муфты штанговые выпускаются: соединительные типа МШ (рисунок 6) — для соединения штанг одинакового размера и переводные типа МШП — для соединения штанг разного диаметра.
Рисунок 6 — Соединительная муфта
а — исполнение I; б — исполнение II
Для соединения штанг применяются муфты — МШ16, МШ19, МШ22, МШ25; цифра означает диаметр соединяемой штанги по телу (мм).
АО «Очерский машиностроительный завод» изготавливает штанги насосные из одноосноориентированного стеклопластика с пределом прочности не менее 80 кгс/мм2. Концы (ниппели) штанг изготавливаются из сталей. Диаметры штанг 19, 22, 25 мм, длина 8000 11000 мм.
Преимущества: снижение веса штанг в 3 раза, снижение энергопотребления на 18 20 %, повышение коррозионной стойкости при повышенном содержании сероводорода и др. Применяются непрерывные штанги «Кород».
СКВАЖИННЫЕ ШТАНГОВЫЕ НАСОСЫ
ШСН предназначены для откачивания из нефтяных скважин жидкости обводненностью до 99 %, температурой не более 130 С, содержанием сероводорода не более 50 мг/л, минерализацией воды не более 10 г/л.
Скважинные насосы имеют вертикальную конструкцию одинарного действия с неподвижным цилиндром, подвижным металлическим плунжером и шариковыми клапанами. Насосы спускают в скважину на штангах и насосно-компрессорных трубах. Различают следующие типы скважинных насосов (рисунок 7).
Рисунок 7 — Типы скважинных штанговых насосов
НВ1 — вставные с заулком наверху;
НВ2 — вставные с замком внизу;
НН — невставные без ловителя;
НН1 — невставные с захватным штоком;
НН2 — невставные с ловителем.
Характеристики
Тип файла документ
Документы такого типа открываются такими программами, как Microsoft Office Word на компьютерах Windows, Apple Pages на компьютерах Mac, Open Office - бесплатная альтернатива на различных платформах, в том числе Linux. Наиболее простым и современным решением будут Google документы, так как открываются онлайн без скачивания прямо в браузере на любой платформе. Существуют российские качественные аналоги, например от Яндекса.
Будьте внимательны на мобильных устройствах, так как там используются упрощённый функционал даже в официальном приложении от Microsoft, поэтому для просмотра скачивайте PDF-версию. А если нужно редактировать файл, то используйте оригинальный файл.
Файлы такого типа обычно разбиты на страницы, а текст может быть форматированным (жирный, курсив, выбор шрифта, таблицы и т.п.), а также в него можно добавлять изображения. Формат идеально подходит для рефератов, докладов и РПЗ курсовых проектов, которые необходимо распечатать. Кстати перед печатью также сохраняйте файл в PDF, так как принтер может начудить со шрифтами.
















