124755 (717450)
Текст из файла
Центровая оснастка и патроны токарных станков
Центровая оснастка включает в себя центры, устанавливаемые в передней и задней бабках станка, и поводковые устройства для передачи вращения и крутящего момента от шпинделя к заготовке. Центр передней бабки токарных станков вращается вместе с заготовкой и шпинделем станка, поэтому всегда выполняется жестким. Он неподвижен относительно заготовки и не имеет трения об неё во время обработки. Центр задней бабки может быть неподвижным или вращающимся. Неподвижный центр из-за трения о заготовку нагревается и изнашивается, поэтому в ответственных случаях выполняется с твердосплавной вставкой. Он требует консистентной смазки, однако при высоких частотах вращения смазка горит, поэтому применяют вращающиеся центры различных конструкций. Ниже приводятся прогрессивные конструкции вращающихся центров
Центры фирмы Sandvik Coromant имеют и длинную вращающуюся часть, а также развитую систему подшипников. Тарельчатые пружины поддерживают постоянное усилие поджима заготовки центром (при жестком центре из-за постепенного износа и смятия поверхности контакта заготовки усилие уменьшается).
1) При 100 об /мин и сроке службы 4000 часов
Имеется конструкция, позволяющая по цвету полоски у края корпуса центра приблизительно оценить усилие поджима центра
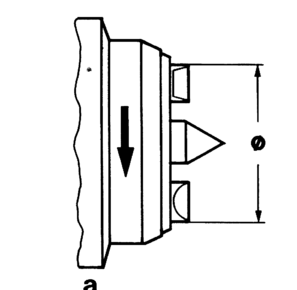
Центры выполняются разной формы и применяются для различных форм центровых отверстий деталей, в том числе для деталей с наружными центрами, а также для установки по наружным и внутренним фаскам.
Взамен традиционного хомутика применяются более совершенные поводковые устройства типа «face driver» для вращения детали и передачи крутящего момента от шпинделя к заготовке.
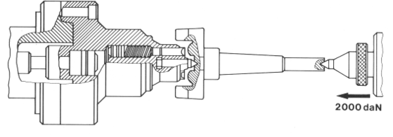
Преимуществом поводковых устройств типа «face driver» является возможность обточки заготовки по всей длине. Кроме того, при перекосе торца заготовки относительно оси ведущие зубья врезаются в торец на одинаковую глубину за счёт способности устройства выравнивать усилия. Для этого применяются «эластичные среды» – втулки из специальных пластиков или густые масла, заполняющие внутреннюю полость в корпусе устройства. Зубцы давят на поршни, которые, в свою очередь действуют на эластичный элемент или масло. Допустимый перекос торца составляет для различных типоразмеров до 5..7.
Зубцы врезаются в торец на глубину до 0.8 мм. Это является недостатком устройства, так как для удаления следов возникает необходимость в подрезке этого торца, хотя при перекошенном торце это нужно делать при любом поводковом устройстве.
Ниже приводится рисунок устройства в разобранном виде. На рисунке:
1– концевая пробка
2– проставка
3– гнездо пружины
4– пружина
5– хвостовик
6–пробка на отверстии для заливки масла
7–отверстие для контроля при заливке и слива масла
8–фланец
9–ограничитель хода поршня 17–крепёжный винт
10– поршень в сборе с уплотнениями 18–эластичная вставка
11–эластичное кольцо 19–ведущий зубец
12–штифт поршня 20–нажимной штифт
13–уплотняющее кольцо 21–центр
14–«удерживатель» центра 22–винт фиксации крышки
15–ведущая головка 23–передняя крышка
16–«удерживатель» зубцов 24–ключ
Ниже приводятся специальные конструкции поводковых устройств типа «face driver»
-
С выталкивающим движением центра при раскреплении детали после обработки
-
С двумя рядами зубцов, внешний из Деталь особой формы которых убирается при обработке левого торца
3. Для приведенной выше детали (ниже показан зажим детали зубцами) которых убирается для обработки левого торца.
4. Комбинация «face driver» с пневматическим патроном
Усилие для внедрения зубцов в торец детали может быть получено от давления масла, при этом каждый зубец становится миниатюрным гидроцилиндром (плунжером). Компрессором, подающим масло под давлением, служит цилиндр, смонтированный вместо упругого элемента (пружины) обычных устойств.
Основным вопросом конструирования устройства «face driver» является определение силы зажима заготовки задним центром и числа ведущих зубцов. Сила зажима зависит от сечения срезаемого слоя F=ts мм2 и отношения диаметра заготовки к диаметру окружности расположения ведущих зубцов dз/dв.з.
| F | dз/dв.з. |
Усилия в графах таблицы в кгс, A=t (глубина резания). В зависимости от направления подачи, усилие следует умножить на поправочный коэффициент: при направлении к шпинделю станка он равен 1, при направлении к заднему центру 2, при поперечной подаче 1,5. Кроме того, имеется поправочный коэффициент в зависимости от механических свойств материала заготовки, приводимый ниже в таблице
| Твёрдость HB | 350 | 290 | 230 | 170 | 110 | 90 | Алюминий , бронза и пр. |
| Прочность в | 120 | 100 | 80 | 60 | 40 | 30 | |
| Коэффициент | 1,5 | 1,4 | 1,2 | 1,0 | 0,9 | 0,8 | 0,7 |
Далее следует вычислить суммарную длину ведущих кромок зубцов выбранного устройства (она равна произведению длины кромки одного зубца выбранного типа на число зубцов устройства) и поделить найденное выше усилие на суммарную длину ведущих кромок. Полученная величина удельной силы в кгс/мм должна лежать в пределах 25–35 кгс/мм. Если получилось меньше, то следует выбрать устройство меньших размеров или с меньшей длиной ведущих кромок зубцов, если больше – больших размеров или с большей длиной ведущих кромок зубцов. Диаметр окружности расположения зубцов должен быть выбран как можно больших размеров, но зубцы не должны мешать обработке детали.
Патроны токарных станков
Патроны – неотъемлемая принадлежность всех токарных станков, число их конструктивных разновидностей очень велико. Классификация и перечень требований к зажимным устройствам станков вообще и к патронам в частности подробно изложены в / 5 /. Объектом зажима могут быть не только заготовки, но и режущие инструменты и рабочие органы станка. Последний случай далее не рассматривается.
Патроны можно разделить на разновидности по шести признакам:
-
по способу зажима
-
по конструктивному исполнению
-
по назначению (объекту закрепления)
-
по действию
-
по габаритам
-
по точности
Классификация зажимных устройств металлорежущих станков по /5/.
Вследствие важности патронов к ним предъявляются высокие и разнообразные требования, перечисленные в приведенной ниже схеме. Они касаются таких свойств, как надёжность закрепления, удобство в эксплуатации, безопасность, прочность, долговечность, простота управления, быстродействие, энергоэкономичности и других (см. схему)
Структура требований к зажимным устройствам металлорежущих станков вообще и к патронам в частности по / 5 /
Обозначения на схеме : ЗМ – зажимной механизм, Пр–П –привод–патрон, П–З – патрон –заготовка
Выполнение этих требований зависит от технического совершенства узлов и устройств: зажимного механизма и его привода, статической и динамической жёсткости и точности системы П–З; на их выполнения влияют также характеристики станка и процесса резания, причём удачная конструкция патрона может способствовать улучшению этих характеристик(напр., повысить виброустойчивость и т. д.).
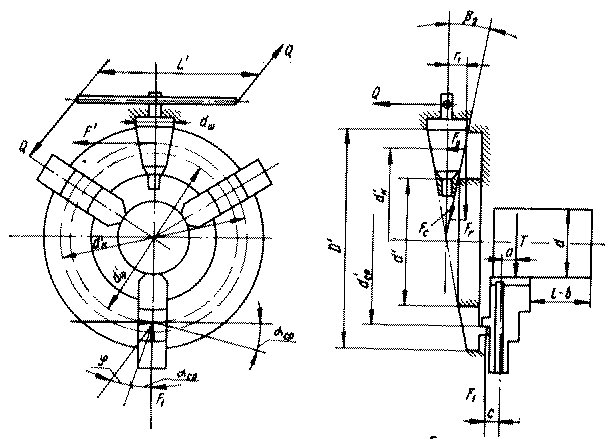
На токарных станках наиболее распространены спирально-кулачковые самоцентрирующие патроны (рис. 1 )
Рис. 1 . Конструкция спирально-кулачкового самоцентрирующего патрона и схема сил, действующих на заготовку.
Расчёт спирально-кулачкового патрона
Р
ис. 2. Расчётная схема
При зажиме заготовки к ключу патрона прикладывается сила Q (рис. 2). Порядка 200...300 Н (Однако!). Длина рукоятки ключа L' обычно равна габариту патрона D (рис. 1). Из условия равновесия шестерни имеем
( 1 )
где F´– тангенциальная сила, действующая по среднему радиусу делительной окружности шестерни; r1 – средний радиус делительной окружности; F – суммарная сила трения в контакте; dш – диаметр шестерни в верхней опоре (рис. 2);
Для определения силы трения Fc необходимо определить действующие в контакте радиальную Fr и осевую Fo силы:
( 2 ) в то же время
, где α – нормальный угол зацепления (20º),
f – коэффициент трения (0.1…0.2), β2 – половина угла делительного конуса шестерни;
– суммарная сила от составляющих F’ и Fo. После замены и преобразований получим окончательную зависимость
Характеристики
Тип файла документ
Документы такого типа открываются такими программами, как Microsoft Office Word на компьютерах Windows, Apple Pages на компьютерах Mac, Open Office - бесплатная альтернатива на различных платформах, в том числе Linux. Наиболее простым и современным решением будут Google документы, так как открываются онлайн без скачивания прямо в браузере на любой платформе. Существуют российские качественные аналоги, например от Яндекса.
Будьте внимательны на мобильных устройствах, так как там используются упрощённый функционал даже в официальном приложении от Microsoft, поэтому для просмотра скачивайте PDF-версию. А если нужно редактировать файл, то используйте оригинальный файл.
Файлы такого типа обычно разбиты на страницы, а текст может быть форматированным (жирный, курсив, выбор шрифта, таблицы и т.п.), а также в него можно добавлять изображения. Формат идеально подходит для рефератов, докладов и РПЗ курсовых проектов, которые необходимо распечатать. Кстати перед печатью также сохраняйте файл в PDF, так как принтер может начудить со шрифтами.
















