124724 (717439)
Текст из файла
Формование полых изделий из полимеров
Методы формования полых изделий
Изготовление полых изделий методом раздува осуществляется в две стадии: вначале формуют трубчатую заготовку, а затем переносят ее в форму и, раздувая заготовку сжатым воздухом, придают ей конфигурацию готового изделия. Изделие выдерживают в форме, охлаждая его до температуры теплостойкости, после чего форма раскрывается, и изделие удаляется.
По способу изготовления трубчатой заготовки различают два основных метода: литьевое формование заготовки в специальной форме и свободная экструзия трубчатой заготовки. В обоих случаях окончательное формование изделия производят в охлаждаемой форме, в которую помещают нагретую до температуры высокоэластичности трубчатую заготовку, герметично закупоривают ее концы и раздувают заготовку сжатым воздухом, придавая ей конфигурацию готового изделия.
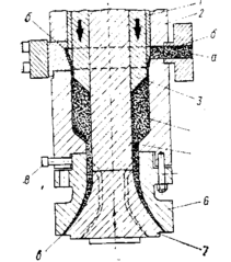
В настоящее время наиболее широкое распространение получил экструзионно-выдувной способ формования (рис. 8.1), при котором трубчатая заготовка экструдируется из головки экструдера в полость открытой формы (рис. 8.1, а). Когда заготовка достигает заданной длины, полуформы смыкаются, обжимая верхний конец заготовки по контуру формующего горловину ниппеля. Нижний конец заготовки при этом сплющивается и герметично заваривается (рис. 8.1,6). Затем внутрь заготовки подается сжатый воздух, который раздувает ее до соприкосновения со стенками охлаждаемой формы. После охлаждения изделия до температуры теплостойкости форма раскрывается, и готовое изделие удаляется (рис. 8.1, в).
Рис. 8.1 Схема формования полых изделий методом раздува: а— экструзия заготовки; б — раздув; в — выгрузка готового изделия; / — подача воздуха сверху; // — подача воздуха снизу; 111 — подача воздуха через дутьевую иглу.
Изготавливают полые изделия объемом от 0,03 до 3 - 10 л, имеющие как круглое, так и прямоугольное поперечное сечение (бутыли, бочки, бидоны, канистры и т. п.). Обычно сжатый воздух нагнетают в заготовку через полый дорн, одновременно используемый для формования горловины 'сосуда. В некоторых случаях воздух в заготовку вводят при помощи специальной иглы, которая прокалывает стенку или донышко заготовки. После окончания раздува игла вытаскивается, и отверстие в заготовке заваривается. Иногда раздув осуществляется газом, выделяющимся при нагреве предварительно заложенных в заготовку таблеток.
Оборудование для экструзионно-выдувного формования
Экструзионно-выдувной агрегат (ЭВА) состоит из трех основных частей: экструдера с головкой, предназначенного для формования одной или нескольких заготовок; выдувной машины с одной или несколькими формами; аппаратуры управления, в которую входит аппаратура управления экструдером, выдувной машиной и головкой, формующей заготовку, и системы пневмо- или гидропривода.
По способу формования заготовки ЭВА подразделяются на агрегаты с непрерывной экструзией заготовки, агрегаты с осевым перемещением червяка и периодической экструзией заготовки и агрегаты с копильником и периодической экструзией.
По расположению червяка различают ЭВА с горизонтальным и вертикальным червяком.
В настоящее время наиболее широко распространены экструзионные агрегаты с непрерывным выдавливанием заготовки (для изделий емкостью до 0,5 л) и зкструзионные агрегат с копильником (для изделий емкостью 0,5 л).
По емкости формируемых изделий ЭВА в соответствии с ОСТ 2610—73 подразделяются на десять основных типоразмеров. Типичный ЭВА (рис. 8.2) состоит из экструдеpa 1, многоручьевой головки для формования заготовок 2, выдувной машины с комплектом форм 3, устройства для сушки и подогрева гранул 5, пневмозагрузчика 6, шкафа тепловой автоматики 8, пульта управления 9, системы пневмо- и гидропривода 7 и устройства для удаления облоя 4.
Головки для изготовления трубчатых заготовок по направлению потока расплава разделяются на прямоточные и угловые, по числу одновременно формуемых заготовок — на одно-и многоручьевые.
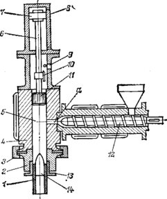
Схема простейшей прямоточной головки приведена на рис. 8.3. Головка состоит из разъемного корпуса /, обогреваемого плавного колена 3, адаптера 4, матрицы 7, дорна с коническим наконечником 8, перфорированного дорнодержателя 2, ленточных нагревателей 5, сгруппированных в три тепловые зоны, и трех термопар (на рисунке не показаны). Расплав А непрерывно поступает от экструдера и, проходя по угловому каналу, попадает через отверстия дорнодержателя 2 в кольцевой канал корпуса головки, из которого он попадает в коническую щель В, образованную коническим наконечником и коническим отверстием в матрице, откуда и выдавливается в виде заготовки С. Центровка матрицы относительно дорна производится с помощью трех равнорасположенных центровочных болтов. Крепление матрицы к головке осуществляется накидным фланцем 6.
Рис.8.2 Экструзионно-выдувной агрегат. Рис 8.3 Прямоточная головка
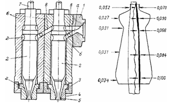
Двухручьевая головка с тангенциальным вводом расплава (рис. 8.4) состоит из адаптера 1, через который по каналам а и в расплав от экструдера поступает в кольцевые каналы д и б, выполненные в виде кольцевых канавок на обоих дорнах 2, закрепленных в конических гнездах корпуса 6. Вытекая из кольцевых каналов, расплав формирует кольцевую струю, которая выдавливается через конический формующий зазор, образованный наконечником 5, укрепленным на конце дорна 2, перемещаемым микрометрическим винтом 7, и матрицей 4.
Центровка матрицы относительно дорна осуществляется при помощи трех центровочных болтов, равномерно расположенных по периферии накидного фланца 3, крепящего матрицу к корпусу головки. Микрометрические винты 7 служат для продольного перемещения наконечника 5, за счет которого осуществляется регулирование формующего зазора, необходимое для обеспечения равенства толщины стенок обеих экструдируемы заготовок.
Рис. 8.4 Двухручьевая пинольная головка. Заготовка с программным изменением толщины стенок. Числа — значения толщины стенок заготовки (справа) и изделия (слева) в мм.
Для выравнивания давления это периферии кольцевой щели служит имеющаяся на дорне фигурная кольцевая расточка. Для улучшения свариваемости частей потока, рассекаемого дорном, на пути расплава располагается область сжатия г в пределах которой поперечное сечение потока уменьшается.
Головки с продольным перемещением наконечника дорн иногда называют пинольными.
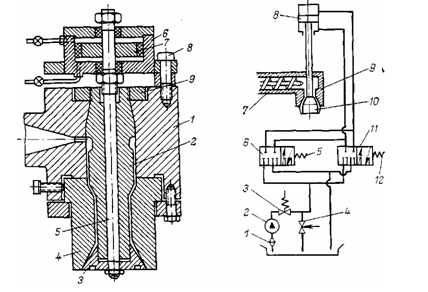
При изготовлении фасонных изделий для уменьшения ряда хода материала необходимо использовать заготовки с программным изменением толщины стенок. Для изготовления таких заготовок применяют специальные головки с подвижным дорном. Головка состоит из корпуса I в коническом седле которого неподвижно закреплен дорн удерживаемый гайкой 9. Конический наконечник дорна 3 установлен на штоке 5 поршня 7 гидроцилиндра 6, укрепленно на корпусе при помощи шпилек 8.
Изменение величины формующего зазора между матрицей'; л наконечником 3 осуществляется при вертикальном перемещении наконечника 3, приводимого в движение поршнем 7 гидр цилиндра 6.
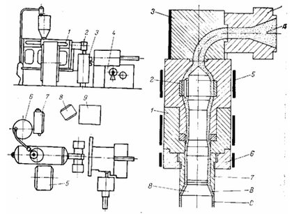
Рис. 8.7. Гидравлическая схема управления перемещением дорна: 1— фильтр; 2— гидронасос; 3 — предохранительный клапан; 4 — вентиль; 5, 12 — управляющие электромагниты; 6, 11 — золотники управления; 7 — экструдер; 8 — гидроцилиндр; 9 — головка; 10 — дорн.
Схема управления перемещением наконечника дорна приведена на рис. 8.7. В исходном состоянии электромагниты и 12 обесточены, управляющие золотники 6 и находятся нейтральном положении, перекрывая выход гидравлической жидкости из обеих полостей гидроцилиндра 8. При этом поршень оказывается запертым и не может перемещаться ни вверх, ни вниз, в результате чего формующий зазор остается постоянным. При подаче напряжения на обмотку какого-либо электромагнита, например золотника 6, последний открывает доступ маслу под давлением в верхнюю полость гидроцилиндра и направляет его на слив из нижней (штоковой) полости цилиндра. Поршень гидроцилиндра вместе со штоком и наконечником дорна 10 при этом опускается. Одновременно увеличиваются формующий зазор и толщина заготовки. Как только величина формующего зазора достигнет заданного значения, обмотка электромагнита 5 обесточится, и золотник 6 под действием пружины вернется в исходное положение, перекрывая движение масла в полостях гидроцилиндра и фиксируя era поршень в новом положении. Аналогичным образом происходит и перемещение поршня вверх, ведущее к уменьшению зазора и утонению заготовки. Управление толщиной заготовки осуществляется по программе, заданной в блоке электронного управления, следящего за длиной экструдируемой заготовки при помощи фотореле.
Для изготовления изделий емкостью от 4 л и более применяют аккумуляторные головки с копильниками плунжерного или кольцевого типа. Простейшая аккумуляторная головка плунжерного типа (рис. 8.8) состоит из обогреваемого корпуса 4, на котором с помощью разъемной конической муфты 3 укреплен наконечник 2 с дорном 14 и матрицей 13. Расплав, нагнетаемый экструдером 12, поступает по каналу а в рабочую полость 5 аккумулятора, перемещая вверх поршень 11. Величина пластицируемой дозы определяется положением установленного на штоке б кулачка 10, который в нужный момент набегает на конечный выключатель 9, останавливающий червячный экструдер. Заготовка 1 выдавливается из копильника поршнем 7 гидроцилиндра 8. Преимущества плунжерного аккумулятора по сравнению с непрерывным процессом экструзии состоит в том, что он позволяет выдавливать заготовку со скоростью, при которой заготовка не успевает деформироваться под действием собственного веса.
Для формования заготовок большого диаметра применяют аккумуляторные головки с кольцевым поршнем (рис. 8.9).
Рис. 8.8 Аккумуляторная головка плунжерного типа
Расплав, поступающий из экструдера по центральному каналу а, проходит в кольцевое пространство б, откуда он перетекает под кольцевой поршень 3, соединенный тремя штангами с поршнем гидроцилиндра впрыска (на схеме не показаны). Под давлением расплава поршень смещается вверх, причем величина смещения определяется заданным — 5 объемом заготовки. При выдавливании заготовки гидроцилиндр перемещает поршень вниз, продавливая расплав через кольцевой канал в между коническим наконечником 7дор-на 4 и матрицей 6, укрепленной на корпусе головки 2 при помощи шпилек 5.
Рис. 8.9 Аккумуляторная головка с кольцевым поршнем.
Рис. 8.10 Головка для экструзии трехслойной заготовки
Аккумуляторные головки с кольцевым поршнем такого типа применяют для изготовления изделий объемом от 1,5 до 400 л. Максимальный диаметр заготовки достигает 1300 мм.
В последнее время получили распространение ЭВА, на которых производят многослойные изделия, например бутыли, наружный и внутренний слои которых изготавливаются из одного материала, а промежуточный — из другого. Такие машины комплектуются двумя экструдерами, каждый из которых экструдирует свой полимер. Оба потока расплава подводятся к общей головке, в которой формируется слоеная заготовка. Типичный пример головки такого типа приведен на рис. 8.10.
Расплав А, формующий наружный и внутренний слои, поступает от одного из экструдеров через соединительный патрубок / и, попадая в головку, делится на два потока. Один из них проходит по центральному каналу и направляется к коническому рассекателю 2, установленному на перфорированном дорнодержателе 3. Проходя через отверстия в дорне дорнодержателя, расплав попадает в кольцевое пространство а, образованное внутренней поверхностью корпуса головки 4 и наружной поверхностью дорна 5. Эта кольцевая струя формирует внутренний слой заготовки. Расплав Б, из которого формируется промежуточный слой, поступает в головку от второго экструдера через патрубок 6 по каналу д и, попадая в фигурный кольцевой канал г, образует кольцевую струю, которая пс кольцевой щели е выдавливается на поверхность ранее сформированной струи первого расплава. Сформировавшийся двухслойный поток поступает к щели ж, через которую на его поверхность выдавливается третий внешний! слой, подаваемый к щели ж через боковые каналы в и спиральный кольцевой канал б. Сформированная трехслойная струя выдавливается через формующий зазор между наконечником дорна 7 и матрицей 8, закрепленной при помощи фланца 9 на подвижном стакане 10, который установлен на колонках 11, соединенных с поршнем механизма программного регулирования зазора между матрицей и наконечником дорна.
Характеристики
Тип файла документ
Документы такого типа открываются такими программами, как Microsoft Office Word на компьютерах Windows, Apple Pages на компьютерах Mac, Open Office - бесплатная альтернатива на различных платформах, в том числе Linux. Наиболее простым и современным решением будут Google документы, так как открываются онлайн без скачивания прямо в браузере на любой платформе. Существуют российские качественные аналоги, например от Яндекса.
Будьте внимательны на мобильных устройствах, так как там используются упрощённый функционал даже в официальном приложении от Microsoft, поэтому для просмотра скачивайте PDF-версию. А если нужно редактировать файл, то используйте оригинальный файл.
Файлы такого типа обычно разбиты на страницы, а текст может быть форматированным (жирный, курсив, выбор шрифта, таблицы и т.п.), а также в него можно добавлять изображения. Формат идеально подходит для рефератов, докладов и РПЗ курсовых проектов, которые необходимо распечатать. Кстати перед печатью также сохраняйте файл в PDF, так как принтер может начудить со шрифтами.















