124482 (717371), страница 3
Текст из файла (страница 3)
1 – конвекционная камера; 2 – подовый экран радиантной камеры; 3 – потолочный экран радиантной камеры; 4 – муфели; 5 – форсунки
Рисунок 3.2 – Трубчатая печь беспламенного горения с излучающими стенками
1 – беспламенные панельные горелки; 2 – змеевик радиантных труб; 3 – змеевик конвекционных труб; 4 – футеровка; 5 – каркас; 6 – выхлопное окно; 7 – смотровое окно; 8 – люк-лаз; 9 – резервные горелки
Конструктивно печи отличаются между собой в основном длиной труб, которая в зависимости от тепловой мощности изменяется от 6 до 18 м. Дымовые трубы печей расположены в верхней части, дымовые газы направляются снизу вверх. Печи работают на газообразном топливе, причем газы должны иметь постоянный углеводородный состав, что является серьезным недостатком печей. В печи предусмотрена возможность работы на резервном жидком и газовом (газ, содержащий конденсат) топливе. Для этого в поду камеры радиации вдоль излучающих стен установлены резервные газомазутные горелки 9. Факелы этих горелок настилаются на поверхность панельных горелок и образуют сплошное зеркало излучения. При этом первичный воздух подается к горелкам в поду через регистры с шиберами, а вторичный – по высоте настила факела через смесители отключенных панельных горелок. Печи беспламенного горения компактны, малогабаритны.
В совершенствование и конструирование трубчатых печей нового типа, повышение их эффективности, типизацию и стандартизацию печного оборудования большой вклад сделан ВНИИнефтемашем, который создал и осуществил внедрение в промышленность трубчатых печей ряда типов, по которым издан каталог, позволяющий выбрать конструкцию и размеры типовой трубчатой печи для соответствующего технологического процесса.
Печи типа ГС – коробчатые с верхним отводом дымовых газов, горизонтальным расположением труб в радиантной и конвекционной камерах и свободного вертикального сжигания комбинированного топлива (рисунок 3.3).
Горелки расположены в один ряд в поду печи. Обслуживание горелок производится с одной стороны печи, что позволяет устанавливать рядом две камеры радиации (рисунок 3.4). Печи типа ГС применяются на установках атмосферной и вакуумной перегонки нефти, вторичных процессов. Печи типа ГС2 предпочтительны на установках замедленного коксования, крекинг-процессов, где требуется нагрев нефтепродуктов с низкими значениями теплонапряженности поверхности нагрева (29 кВт/м2).
Рисунок 3.3 – Схема трубчатой печи типа ГС
1 – горелка; 2 – змеевик радиантных труб; 3 – змеевик конвекционных труб; 4 – воздухоподогреватель; 5 – дымовая труба; 6 – лестничная площадка; 7 – футеровка; 8 – каркас
Рисунок 3.4 – Конструкция трубчатой печи типа ГС2
1 – горелка; 2 – змеевик радиантных труб; 3 – каркас; 4 – футеровка; 5 – змеевик конвекционных труб; 6 – лестничная площадка; 7 – дымовая труба
Печи типа ГН – коробчатые с верхним отводом дымовых газов, горизонтальным настенным или центральным трубным экраном и объемно-настильного сжигания комбинированного топлива (вариант I) или настильного сжигания газового топлива на фронтальные стены (вариант II). При исполнении печи по варианту I горелки расположены в два ряда на фронтальных стенах под углом 45° (рисунок 3.5).
По оси печи расположена настильная стена, на которую направлены горящие факелы. Печь ГН2 имеет две камеры радиации и применяется для процессов, требующих «мягкий» режим нагрева (установки замедленного коксования, крекинг-процессы). По варианту II горелки расположены ярусами на фронтальных стенах, а двухрядный горизонтальный экран — по оси печи. Тепло к экранам передается от фронтальных стен, на которые настилаются факелы веерных горелок. Данный тип печи предназначен для реконструкции существующих печей беспламенного горения, а также в процессах средней производительности, обеспеченных газовым топливом, в том числе с большим процентом водорода.
Рисунок 3.5 – Схема трубчатой печи типа ГН
1 – горелка; 2 – змеевик радиантных труб; 3 – настильная стенка; 4 – змеевик конвекционных труб; 5 – дымовая труба; 6 – лестничная площадка; 7 – футеровка; 8 – каркас
Печи типа ВС – узкокамерные секционные с верхним отводом дымовых газов и вертикальными трубами змеевика (рисунок 3.6).
Производительность каждой секции 10-17 МВт. Вертикальные трубы радиантного змеевика расположены у всех четырех стен камеры. Газомазутные горелки расположены в поду камеры, обслуживание горелок с двух сторон. Предусмотрены четыре типоразмера этих печей, каждый типоразмер отличается количеством одинаковых камер радиации. Над камерой радиации расположена камера конвекции прямоугольного сечения с горизонтальными гладкими трубами. У многосекционных трубчатых печей камеры радиации отдельных секций объединены в общем корпусе. Смежные секции отделены одна от другой двумя рядами труб радиантного змеевика двустороннего облучения. В крайних секциях у стен радиантные трубы размещены в один ряд.
Печи типа ВС установлены на установках ЛК-6-У, применяют на установках AT, вторичной переработки и т.д.
Печи типа СС – секционные с горизонтально расположенным змеевиком, отдельно стоящей конвекционной камерой, встроенным воздухоподогревателем и свободного вертикально-факельного сжигания топлива. Трубный змеевик каждой секции состоит из двух или трех транспортабельных пакетов заводского изготовления. Змеевик каждой секции самонесущий и устанавливается непосредственно на поду печи.
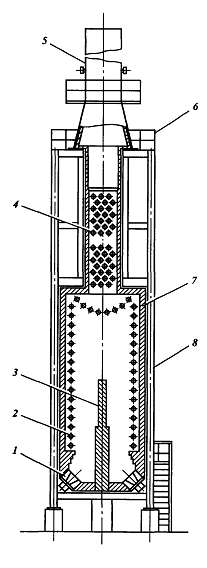
Печи типа ЦС – цилиндрические с пристенным расположением труб змеевика в одной камере радиации и свободного вертикально-факельного сжигания комбинированного топлива. Печи выполняются в двух вариантах: без камеры конвекции и с камерой конвекции (рисунок 3.7).
Цилиндрическая камера радиации установлена на столбчатом фундаменте для удобства обслуживания газовых горелок, размещенных в поду печи. Радиантный змеевик собран из вертикальных труб на приваренных калачах; в центре пода печи установлена газомазутная горелка. Змеевики упираются на под печи, вход и выход продукта осуществляется сверху.
Печь типа ЦД4, продольный разрез которой показан на рисунке 3.8, является радиантно-конвекционной, у которой по оси камеры радиации имеется рассекатель-распределитель в виде пирамиды с вогнутыми гранями, представляющими собой настильные стены для факелов горелок, установленных в поду печи.
Рисунок 3.6 – Конструкция трубчатой печи типа ВС
1 – камера конвекции; 2 – змеевик радиантных труб; 3 – взрывное окно; 4, 7 – гляделка; 5 – футеровка; 6 – каркас; 8 – горелка; 9 – лестничная площадка; 10 – дымовая труба
Рисунок 3.7 – Конструкция трубчатой печи типа ЦС
1 – горелка; 2 – змеевик радиантных труб; 3 – каркас; 4 – футеровка; 5 – змеевик конвекционных труб.
Потоки: I – продукт на входе; II – продукт на выходе
Рассекатель-распределитель разбивает камеру радиации на несколько независимых зон теплообмена (рисунок 3.8, их четыре) с целью возможной регулировки теплонапряженности по длине радиантного змеевика.
Внутренняя полость каркаса рассекателя разбита на отдельные воздуховоды; в кладке грани рассекателя по высоте грани есть каналы прямоугольного сечения для подвода вторичного воздуха к настильному факелу каждой грани. Каждый воздуховод оснащен поворотным шибером, управляемым с площадки обслуживания
Рисунок 3.8 – Конструкция печи типа ЦД4
1 – камера конвекции; 2 – выхлопное окно; 3 – смотровое окно; 4 – змеевик радиантных труб; 5 – футеровка; 6 – каркас; 7 – камера для подвода вторичного воздуха; 8 – футеровка рассекателя-распределителя; 9 – воздуховод; 10 – рассекатель-распределитель; 11 – горелка; 12 – воздуходувка.
Потоки: I – продукт на входе; II – продукт на выходе; III – дымовые газы
В кладке граней рассекателя на двух ярусах по высоте граней расположены каналы прямоугольного сечения для подвода вторичного воздуха из воздуховодов к настильному факелу каждой грани. Изменяя подачу воздуха через каналы, можно регулировать степень выгорания топлива в настильном факеле, что позволяет выравнивать теплонапряженность по высоте труб в камере радиации. Радиантный подвесной змеевик состоит из труб, расположенных у стен цилиндрической камеры. Настенные радиантные трубы размещены в один ряд и имеют одностороннее облучение, а радиальные с двусторонним облучением размещены в два ряда.
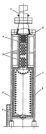
Печи типа КС – цилиндрические с кольцевой камерой конвекции, встроенным воздухоподогревателем, вертикальными трубными змеевиками в камерах радиации и конвекции и свободного вертикально-факельного сжигания топлива (рисунок 3.9).
Комбинированные горелки расположены в поду печи. На стенах камеры радиации установлен одно- или двухрядный настенный трубный экран. Конвективный змеевик так же, как и воздухоподогреватель, набирают секциями и располагают в кольцевой камере конвекции, установленной соосно с цилиндрической радиантной камерой.
Печи типа КД4 – цилиндрические четырехсекционные с кольцевой камерой конвекции, встроенным воздухоподогревателем, дифференциальным подводом воздуха по высоте факела, вертикальным расположением змеевика радиантных и конвекционных труб, настильным сжиганием комбинированного топлива.
Печи выполняются в двух конструктивных исполнениях: с дымовой трубой, установленной на печи (рисунок 3.10) или стоящей отдельно.
Дутьевые комбинированные горелки расположены в поду печи. Оси горелок наклонены в сторону рассекателя-распределителя, установленного в центре печи.
Рассекатель изготовлен в виде пирамиды с вогнутыми гранями, представляющими собой настильные стены для факелов горелок каждой камеры радиации. Рассекатель выполняет следующие функции: делит объем радиантной камеры на четыре автономные зоны теплообмена, что позволяет осуществлять дифференцированный подвод тепла по длине радиантного змеевика; является поверхностью настила факелов горелок, которые имеют стабильную толщину, что позволяет приблизить трубные экраны к горелкам и сократить объем камеры. В печи осуществляется двухстадийное сжигание топлива. Первичный воздух (около 70 % объема) подается принудительно к горелкам, а остальное количество – по высоте настила, для чего в кладке граней расположены каналы прямоугольного сечения, а в каркасе превышает количество граней. Каждый воздуховод оснащен поворотным шибером.
Рисунок 3.9 – Конструкция печи типа КС
1 – горелка; 2 – змеевик радиантных труб; 3 – змеевик конвекционных труб; 4 – каркас; 5 – футеровка; 6 – воздухоподогреватель; 7 – шибер.
Потоки: I – продукт на входе; II – продукт на выходе; III – дымовые газы
Рисунок 3.10 – Конструкция печи типа КД4
1 – змеевик конвекционных труб; 2 – змеевик радиантных труб; 3 – рассекатель-распределитель; 4 – футеровка; 5 – воздуходувка; 6 – каркас; 7 – дымовая труба; 8 – воздухоподогреватель.
Потоки: I – продукт на входе; II – продукт на выходе; III – дымовые газы
Двухстадийное сжигание топлива дает возможность растянуть факелы по высоте граней и повысить равномерность излучения по высоте радиантных труб. Конвективный змеевик, как и воздухоподогреватель, набирают секциями и размещают в кольцевой камере конвекции, расположенной соосно с цилиндрической радиантной камерой.
СПИСОК ИСПОЛЬЗУЕМОЙ ЛИТЕРАТУРЫ
1. Скобло А.И., Молоканов Ю.К., Владимиров А.И., Щелкунов В.А. Процессы и аппараты нефтегазопереработки и нефтехимии: Учебник для вузов. – 3-е издание – М.: ООО «Недра-Бизнесцентр», 2000. – 677 с.
2. Ахметов С.А. и др. Технология оборудование процессов переработки нефти и газа. Учебное пособие / С.А. Ахметов, Т.П. Сериков, И.Р. Кузеев, М.И. Баязитов; под ред. С.А. Ахметова. – СПб.: Недра, 2006. – 868 с.
















