123233 (717138)
Текст из файла
Федеральное агентство по образованию РФ
Пермский государственный технический университет
Кафедра: «Сварочного производства и технологии конструкционных материалов»
Реферат
По предмету «Технология конструкционных материалов»
На тему:
Лучевые методы обработки материалов
Выполнил: ст. гр. ПКМ-07-1
Глезман А.В.
Проверил: доцент Лямин Я.В.
Пермь 2009
Содержание
Введение
Электронно-лучевая обработка материалов
Технология электронно-лучевой обработки конструкционных материалов
Испарение материалов
Электронно-лучевая плавка металлов
Электронно-лучевая сварка
Лазерная обработка материалов
Лазерная поверхностная обработка
Лазерная резка
Лазерная обработка отверстий
Ионно-лучевая обработка материалов
Ионное легирование
Ионно-лучевые методы осаждения покрытий и ионная литография
Список используемой литературы
Введение
В течение последних 30 лет сформировалась электронно- и ионно- лучевая технология обработки материалов. В этой новой области электронные и ионные пучки непосредственно используются для осуществления технологических процессов. Возможные применения электронно- и ионно- лучевой технологии простираются от получения субмикроскопических структур в микроэлектронике до выплавки крупных слитков в металлургии. Общим для всех этих установок является использование электронных и ионных пучков.
Приблизительно в 1965 году электронно-лучевая плавка, сварка, напыление и обработка поверхностей были внедрены в промышленное производство. В настоящее время широко используются в производстве и ионно-лучевые технологии. Освоение лазерных технологий значительно повышает эффективность современного производства.
Электронно-лучевая обработка материалов
Электронно-лучевая обработка осуществляется в вакууме при наличие специального оборудования: технологической камеры с вакуумной системой и электронной пушки с высоковольтным источником питания.
На рис. 1.1 представлена типовая функциональная схема электронно-лучевой установки. Установка состоит из вакуумной камеры 1, в верхней части которой размещается электронная пушка 2. К пушке с помощью кабеля высокого напряжения подводятся питание от высоковольтного выпрямителя 3. Внутри камеры может также находиться механизм перемещения 5 обрабатываемого изделия 6. Управление всеми агрегатами ведется с пульта управления 4. Вакуум в технологической камере создается с помощью вакуумной системы 7.
Рис. 1.1 - Функциональная схема технологической электронно-лучевой установки: 1 - вакуумная камера; 2 - электронная пушка; 3 - высоковольтный выпрямитель; 4 - пульт управления; 5 - механизм перемещения обрабатываемого изделия; 6 -обрабатываемое изделие
Вакуум при электронно-лучевой обработке необходим как для создания и формирования электронного пучка, так и для защиты обрабатываемого металла от действия кислорода и азота воздуха, ускорения дегозации металла при плавлении, удаления некоторых вредных примесей и др.
К электронно-лучевым установкам предъявляется ряд общих требований. Рабочая камера должна быть газонепроницаемой и обладать прочностью, достаточной, чтобы выдержать атмосферное давление при создании вакуума внутри камеры. В качестве материала камеры лучше применять нержавеющую сталь. Толщину стенки камеры выбирают из условий прочности с учетом обеспечения непроницаемости для рентгеновского излучения. Камера снабжается смотровыми окнами для наблюдения за процессом. Толщина стекла и его качество должны обеспечивать прочность, герметичность и защиту от рентгеновского излучения. Камера должна иметь люки, обеспечивающие загрузку изделий, подлежащих электронно-лучевой обработке.
Электронно-лучевые технологические установки состоят из двух основных комплексов: энергетического и электромеханического, К энергетическому комплексу относится аппаратура, предназначенная для формирования пучка электронов с заданными параметрами управления его мощностью и положением в пространстве. Электромеханический комплекс установки предназначен для герметизации и вакуумирования рабочего объема, выполнения всех установочных, транспортных и рабочих перемещений обрабатываемого изделия и электронной пушки.
Вакуумные камеры для электронно-лучевой обработки являются одним из наиболее важных узлов установки для электронно-лучевой обработки. От их формы, конструкции, жесткости и габаритов зависят габариты и качество обрабатываемых за одну откачку изделий, удобство их загрузки и выгрузки, возможность пристыковки дополнительных объемов в нужном направлении и др. По степени специализации различают два типа камер: универсальные и специализированные. Универсальные камеры предназначены для обработки изделий любой формы и габаритов в пределах габаритов камеры. Такие камеры используются в единичном и мелкосерийном производстве и выпускаются в соответствии с принятыми параметрическими рядами. Это дает возможность выбрать камеры наиболее подходящих размеров применительно к конкретным изделиям. Специализированные камеры неразрывно связаны с конструкцией и габаритами конкретного изделия или группы изделий. Часто специализированные камеры выполняют по форме обрабатываемого изделия.
Откачные системы служат для создания и поддержания в процессе работы высокого вакуума в ускоряющем промежутке электронной пушки и в вакуумной камере.
Манипуляторы предназначены для рабочих, установочных и транспортных перемещений обрабатываемого изделия и электронной пушки.
Системы наблюдения, используемые при электронно-лучевой обработке, в большинстве случаев нуждаются в защите их от запыления парами обрабатываемых материалов.
Смотровое окно кроме прочного иллюминаторного стекла содержит рентгеновское стекло, необходимое для защиты обслуживающего персонала от рентгеновского излучения из области взаимодействия электронного пучка с металлом.
Вспомогательные устройства и механизмы предназначены для выкатывания манипуляторов из вакуумной камеры(выдвижные платформы), для сборки изделий и других целей.
Электропривод в установках для электронно-лучевой обработки управляется как в ручном дистанционном режиме для простых систем, так я в автоматическом режиме для более сложных систем.
Управляющие функции могут выполняться с помощью компьютерных систем или средствами локальной автоматики.
Технология электронно-лучевой обработки конструкционных материалов
При осуществлении всех электронно-лучевых процессов электронный пучок используют в качестве энергоносителя, который в соответствующем виде воздействует на обрабатываемый материал. Пучок генерируется в электронной пушке и через выходное отверстие пушки выводится в технологическую вакуумную камеру. В ней размещены или в неё вводятся объекты электронно-лучевого процесса - заготовки или материалы.
При встрече электронного пучка с веществом кинетическая энергия электронов пучка. взаимодействующих с атомами вещества, в результате ряда элементарных процессов превращается в другие формы энергии. При сварке, плавке, испарении и термической обработке используется возникающая при этом тепловая энергия. При нетермической обработке и других процессах химической электронно-лучевой технологии столкновения электронов пучка с атомами и молекулами возбуждают и ионизируют последнии, вызывая химические реакции между ними. Эти эффекты воздействия электронного пучка на вещество и определяет области электронно-лучевой технологии.
Испарение материалов
Испарение (точнее, испарительное осаждение) в вакууме является важным способом получения тонких пленок.
Использование электронных пучков в процессах, связанных с испарением материалов, обусловлено особенностями распределения потоков энергии при нагреве этого материала. При электронно-лучевом испарении испаряемая поверхность непосредственно нагревается бомбардирующими ее электронами. Такой способ подвода энергии дает электронно-лучевому испарению ряд преимуществ по сравнению с традиционными.
Другим стимулом внедрения электронно-лучевого испарения является возможность, управляя электронным пучком во времени и пространстве, управлять тем самым и потоком энергии в испаряемое вещество и воздействовать на скорость испарения и распределение плотности потоков пара.
Испарительное осаждение - это процесс вакуумного нанесения покрытий, при котором между испарителем и подложкой создается направленный поток пара.
Принцип электронно-лучевого испарения пояснен на рис. 2.1.
Рис. 2.1 - Принцип электронно-лучевого испарения материалов: 1 - электронная пушка; 2 - электронный пучок; 3 - поверхность, бомбардируемая пучком; 4 - кожух технологической камеры; 5 - водоохлаждаемый тигель; 6 - испаряемый материал; 7 - расплавленная часть материала; 8 - поверхность испарения; 9 - откачка вакуума; 10 - диафрагма испарителя; 11 -поток пара; 12 - напыляемый слой; 13 - подложка; 14 - подогреватель подложки
В основных чертах установка для электронно-лучевого испарения состоит из технологической камеры с системой откачки, тигля с испаряемым материалом, электронной пушки, заслонки для пара и подложки с приспособлениями для её крепления, а иногда – нагрева.
Для того чтобы электронный пучок в поток пара распространялись в технологической камере беспрепятственно, давление в ней должно поддерживаться достаточно малым.
Нанесение покрытий из сплавов требует обеспечение одинакового соотношения компонентов сплава как по всей поверхности подложки, так и по толщине слоя. Слои из сплавов напыляют двумя методами: многотигельного испарения или однотигельного испарения.
При многотигельном испарении компоненты испаряются порознь, каждый из своего тигля, а конденсируются на подложке совместно. При однотигельном испарении поток пара создается и конденсируется, имея тот состав, который требуется для покрытия. Вариантом однотигельного испарения является процесс, аналогичный фракционной возгонке, когда из тигля с большим количеством расплавленного вещества его испаряют покомпонентно, изменяя мощность подогрева по определенному графику.
Испарение соединений сопровождается частичной или полной их диссоциацией, и получить из таких соединений простым испарением тонкие пленки заданного состава невозможно. Однако для ряда соединений. таких, как хлориды, сульфиды, селениды, теллуриды, а также полимеры, благодаря малой степени диссоциации или вследствие рекомбинации компонентов при конденсации, возможность теоретического напыления все же существует.
Промышленное применение электронно-лучевого испарения, благодаря его преимуществам, существенно потеснило традиционные способы испарения и открыло новые возможности.
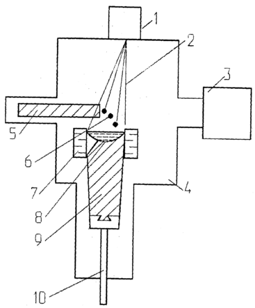
Электронно-лучевая плавка металлов
Рис. 2.2 - Принцип электронно-лучевого переплава: 1 - электронная пушка; 2 - электронный пучок, направляемый на расплавляемый штабик 5 и ванну расплавленного металла 7; 3 - откачка вакуума; 4 - плавильная камера; 6 - капли переплавляемого металла; 8 - выплавляемый слиток; 9 - водоохлахдаемый кристаллизатор; 10 - устройство вытяжки слитка; 11 - смотровые окна
Электронно-лучевая плавка является весьма удобным способом получения слитков тугоплавких и химически высокоактивных металлов. Здесь используются такие особенности электронно-лучевой плавки, как высокая удельная поверхностная мощность в рабочем пятне пучка и наличие вакуума, препятствующего поглощению газов в ходе плавки. Областью применения электронно-лучевого переплава является производство особо чистых сталей и выплавка слитков и фасонных отливок из химически активных и тугоплавких металлов.
Процесс плавки изображен на рис. 2.2, где показано взаимное расположение электронной пушки, переплавляемой заготовки и кристаллизатора. Часть модности пучка расходуется для нагрева переплавляемого металла на торце заготовки до температуры плавления. Расплавляясь, материал в виде капель перетекает в ванну расплава в кристаллизаторе. Скорость плавки пропорциональна мощности пучка, приходящейся на расплавляемую заготовку. Другая часть мощности пучка подводятся в кристаллизатор. Она должна быть достаточной для того, чтобы материал в ванне находился в расплавленном состоянии вплоть до стенки кристаллизатора. Это дает возможность получать слитки с гладкой боковой поверхностью. Если кроме формирования такого слитка требуется проводить еще и рафинирование расплава, то мощность, подводимую в кристаллизатор, следует увеличить.
Электронно-лучевая плавка может сочетаться с литьем. Для этого необходимым элементом является литейный тигель, в котором материал расплавляют и поддерживают жидким в достаточном количестве. Литейный тигель может быть футерованным или медным водоохлаждаемым. Керамическая футеровка тиглей и изложниц допустима только тогда, когда реакции материала футеровки с расплавом не происходят или когда они не наносят вреда качеству продукта.
Перспективы развития электронно-лучевой плавки обусловлены потребностями ядерной, аэрокосмической техники, электроники и химической технологии в особо чистых материалах, сохраняющих прочностные свойства при высоких температурах или обладающих высокой химической стойкостью.
Характеристики
Тип файла документ
Документы такого типа открываются такими программами, как Microsoft Office Word на компьютерах Windows, Apple Pages на компьютерах Mac, Open Office - бесплатная альтернатива на различных платформах, в том числе Linux. Наиболее простым и современным решением будут Google документы, так как открываются онлайн без скачивания прямо в браузере на любой платформе. Существуют российские качественные аналоги, например от Яндекса.
Будьте внимательны на мобильных устройствах, так как там используются упрощённый функционал даже в официальном приложении от Microsoft, поэтому для просмотра скачивайте PDF-версию. А если нужно редактировать файл, то используйте оригинальный файл.
Файлы такого типа обычно разбиты на страницы, а текст может быть форматированным (жирный, курсив, выбор шрифта, таблицы и т.п.), а также в него можно добавлять изображения. Формат идеально подходит для рефератов, докладов и РПЗ курсовых проектов, которые необходимо распечатать. Кстати перед печатью также сохраняйте файл в PDF, так как принтер может начудить со шрифтами.
















