122529 (716914), страница 3
Текст из файла (страница 3)
Твёрдость рабочей части сверла
;
(Приложение) Операционная карта сверлильная, Маршрутная карта.
Выбор станочного приспособление для зубофрезерования.
Станочные приспособления - это положительные устройства к станкам, позволяющие достаточно точно устанавливать и закреплять заготовки деталей при их обработке .
При необходимости станочные приспособления обеспечивают направления режущего инструмента и периодический поворот заготовки в процессе обработки .
Станочные приспособления обеспечивают правильное взаимное расположение заготовки, стола и инструмента, расширяют технологические возможности станков. Они повышают точность обработки, производительность и экономическую эффективность, облегчают условия труда рабочих. По группам оснащаемых станков, приспособления подразделяются на токарные, фрезерные, сверлильные (кондукторы), шлифовальные и т.д..
По количеству устанавливаемых деталей: одноместные и многоместные.
По степени универсальности (специализации) приспособления подразделяются на:
- универсальные безналадочные (УБП) и универсально наладочные приспособления (УНП);
- специализированные безналадочные (СБН) и наладочные приспособления (СНП);
- специализированные приспособления: универсальные сборные (УСП); сборноразборные (СРП) и необратимые специальные (НСП).
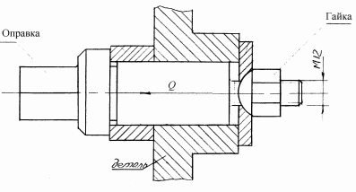
Для установки и закрепления установок, обрабатываемых на зубофрезерных, зубодолбёжных, зубошевенговых и зубошлифовальных станках, применяются разнообразные оправки, обеспечивающие высокую степень базирования. Для точного центрирования применяют оправку с упругой оболочкой - с гидропластом, жесткие для посадки заготовок с небольшим зазором. Заготовку закрепляют ручным зажимом или используют приспособление с пневматическим, гидравлическим приводом.
На точность зубообработки непосредственно влияет точность центрований приспособлений, ось которых должны совпадать с осью вращения стола.
В качестве приспособления для зубофрезирования выбираем оправку зубчатую центровую по ГОСТ 18438-73; обозначение 7150-0421
Расчёт усиления зажима
Для винтового зажима
;
где F = 200 Н на усилие на ключе;
l - длина плеча ключа; l = 150 мм;
- средний диаметр резьбы;
=10.98 мм;
- угол подвига резьбы;
;
- угол трения резьбовой пары;
;
- половина угла профиля резьбы
кг-с;
(Приложение) Чертёж оправка зубчатоя центровая.
Расчёт режима резания при сверлении
Деталь - заготовка конического зубчатого колеса. Материал - сталь 45: в = 61 кг-с/мм2;
Станок вертикально сверлильный модели 2Н135; Сверло - спиральное из быстрорежущей стали Р18; 30
-
Определяем глубину резания при сверлении:
15 мм
-
Подача при сверлении : S = 0.02
= 0.02 30 = 0.6 мм/об;
Корректируем подачу по паспорту станка 2Н135;
Sпас = 0.1 1.6 мм/об; Z =9;
S = 0.6, т.е. 0.1 < S < 1.6
Выбираем подачу по ступеням:
Smax = z-1 Smin;
S2 = 0.1 1.42 = 0.142 мм/об
S3 = 0.142 1.42 = 0.202 мм/об
S4 = 0.202 1.42 = 0.286 мм/об
S5 = 0.286 1.42 = 0.406 мм/об
S6 = 0.406 1.42 = 0.577 мм/об
S7 = 0.577 1.42 = 0.820 мм/об
В качестве рассчётной принимаем ближайшую меньшую
Sp = S6 = 0.577 мм/об
3 . Определяем расчётную скорость резанья при сверлении
где
Кv = KLv KMv KHv - поправочный коэффициент.
KLv - коэффициент, учитывающий глубину отверстия в зависимости от диаметра сверла. По таблице 9 находим KLv = 1.0;
KMv - коэффициент учитывающий влияние материала.
Для стали
; где = 0.9 (таб. 10)
в = 61;
;
KMv - коэффициент учитывающий материал сверла.
Для сверла из быстрорежущей стали KMv = 1.0;
то Кv = KLv KMv KMv = 1.0 1.14 1.0 = 1.14;
По табл. 11 находим для S > 0.2;
Cv = 9.8; bv = 0.4; Xv = 0; Yv = 0.7; m = 0.2;
м/мин;
-
Определяем расчётную частоту вращения шпинделя
По паспорту станка
nmin = 31.5 об/мин;
nmax = 1400 об/мин;
Z = 12; число ступеней вращения
nmax = nmin z-1
Частота вращения по ступеням:
n2 = n1 = 31.5 1.41 = 44.42 об/мин;
n3 = n2 = 44.4 1.41 = 62.62 об/мин;
n4 = n3 = 62.6 1.41 = 88.3 об/мин;
n5 = n4 = 88.3 1.41 = 124.5 об/мин;
n6 = n5 = 124.5 1.41 = 175.6 об/мин;
n7 = n6 = 175.6 1.41 = 247.5 об/мин;
n8 = n7 = 247.5 1.41 = 349.0 об/мин;
В качестве рассчётной принимаем ближайшую меньшую частоту вращения
np = n7 = 247.5 об/мин
-
Определяем фактическую скорость резания.
Основные режимы резанья при сверлении:
S = 0.6 мм/об;
V = 23.31 м/мин;
n = 247.5 об/мин;
-
Определяем осевую силу резания:
Р0 = Ср DZp Syp KMp
по таблице 6 КMp = 0.89: по табл. 12 находим:
Ср = 51; Zp = 1.4; Yp = 0.8, то
Р0 = 51 301.4 0.60.8 0.89 = 51 116.9 0.665 0.89 = 352.8 кг-с;
Рдоп = 1500 кг-с; то
Р0 < Р0 доп;
-
Определяем крутящий момент
где
;
то табл. 12 находим для стали СМ = 40; ВМ = 2.0; Yм = 0.8;
Мкр = 40 302.0 0.60.8 0.89 = 8.54 кг-с м;
по паспорту станка Мкр п = 40 кг-с м;
-
Определяем мощность на шпинделе станка.
= 0.8 (КПД станка по паспорту)
-
Коэффициент использования станка по мощности
где
- мощность главного электродвигателя станка по паспорту.
-
Определяем основное техническое время
где L - расчётная длинна обрабатываемой поверхности.
;
l -действительная длина (чертёжный размер) l = 33 мм;
l1 - величина врезания;
l2 - выход инструмента;
l1 + l2 = 0.4 D = 0.4 30 = 12 мм
(Приложение) Операционаая карта механической обработки (сверлильная)
Расчёт режима резания при протягивании
-
По таблице 15 выбираем подачу на зуб
;
= 0.1 мм
-
Определяем расчётную скорость резания:
;
где Т = стойкость протяжки; назначаем Т =300 мин,
по таблице 16 находим
;
По паспорту станка
1 <
< 9, то расчёт верен.
-
Определяем силу резания :
по таблице 17 находим
=177;
= 0.85;
= 0.1 мм; b = 10; n = 1
- коэффициенты, характеризующие влияние соответственно износа, смазочно охлаждающей жидкости заднего и переднего углов.
=1.0;
=1;
=1.0
= 1.13 (охлаждение эмульсолам)
;
По паспорту станка
=10000 кг-с, то расчёт верен.
-
Определяем эффективную мощность.
;
-
Потребляемая мощность
;
где = 0.9 - КПД станка по паспорту.
-
Коэффициент использования по мощности главного электродвигателя.
В связи с низким коэффициентом использования электродвигателя в качестве протяжного станка можно выбрать менее мощный, например 7Б505 с мощностью 7 квт.
-
Определяем основное технологическое время Т;
; где
= l +
- длина рабочего хода инструмента;
l - действительное определение (чертёжная) длина протягиваемой детали. l = 33;
- длина режущей части протяжки
мм;
- длина калибрующей части
мм; l = 10 мм - длина перебегов протяжки.
мин;
(Приложение) Операционная карта механической обработки при протягивании.
-
Маршрут обработки конического зубчатого колеса прямозубого
Размеры, мм
| Опе-рация | Содержание или наименование операции | Станок, оборудование | Оснастка |
| 005 | Отрезать заготовку | Абразивно-отрезной 8Б262 | Тиски |
| 010 | Кузнечная | ||
| 015 | Термическая обработка | ||
| 020 | Подрезать торцы 6032Н7 и 87.66/66 предварительно. Точить поверхность 60 предварительно. Сверлить, зенкеровать, развернуть отверстие 32Н7 предварительно. Расточить и точить фаски. | Токарный полуавтомат с ЧПУ КТ141 | Трех кулачковый патрон |
| 025 | Подрезать торец 87,66/32Н7. Точить поверхность 87,66 предварительно. | Токарный полуавтомат с ЧПУ КТ141 | Трех кулачковый патрон |
| 030 | Протянуть шпоночный паз В=10js9 окончательно. | Горизонтально-протяжной 7512 | Жесткая опора |
| 035 | Опилить заусенцы на шпоночном пазе | Вибробункер | |
| 040 | Подрезать торец 60/32Н7 предварительно, торец 87,66/60 и точить поверхность 60, 87,66 окончательно. | Токарный полуавтомат с ЧПУ КТ141 | Трёхкулачковый патрон |
| 045 | Подрезать торец 87,66/32Н7 предварительно | Токарный с ПУ КТ141 | Трёхкулачковый патрон. |
| 050 | Контроль | ||
| 055 | Строгать 35 зубьев (m=2,5) под шлифование | Зубострогальный 5Т23В | Оправка |
| 060 | Зачистить заусеницы на зубьях | Вибробункер | |
| 065 | Шлифовать торец 60/32Н7 окончательно и отверстие 32Н7 окончательно | Внутришлифовальный | Трёхкулачковый патрон |
| 070 | Шлифовать торец 87,66/32Н7 окончательно | Плоскошлифовальный 3Б740 | Магнитный стол |
| 075 | Шлифовать 35 зубьев (m=2,5) окончательно | Зубошлифовальный 58П70В | Оправка |
| 080 | Промыть деталь | Моечная машина | |
| 085 | Технический контроль | ||
| 090 | Нанесение антикоррозионного покрытия |
Список исследуемой литературы.
-
Добрыднев И.С. курсовое проектирование по предмету Технология машиностроения М. Машиностроение 1985 г.
-
Ансеров М.А. Приспособление для машинорежущих станков М. Машиностроение 1975 г.
-
Моисеев В.В. Методика расчётов режимов резания при механической обработке металлов Ю-Сах. ЮСГПИ 1990 г.
-
Моисеев В.В. Проектирования приспособлений для металлорежущих станков Методическое пособие. Ю-Сах ЮСГПИ 1994 г.
-
Панова А.А. Обработка деталей резанием Справочник технолога. М. Машиностроение 1998 г.
-
Анурьев В.И. Справочник конструктора - машиностроителя в 3-х томах, М. Машиностроение 1980 г.
-
Красикова А.Г. Справочник технолога машиностроителя в 2-х томах М. Машиностроение 1986 г.
= 0.02 30 = 0.6 мм/об;













