kursovik (708551)
Текст из файла
СОДЕРЖАНИЕ
1. Характеристика объекта 2
2 Метод производства СМР 2
3. Технология производства работ 3
4 Транспортировка 3
5. Спецификация материалов и санитарно-технического оборудования 4
6. Ведомость объемов работ 6
7. Производственная калькуляция 7
8. Стройгенплан теплотрассы 9
9. Ведомость объема перевозок и требуемых транспортных средств 10
10. Ведомость и расчет площадей временных зданий для рабочих на стройплощадке 11
11. Электроснабжение строительной площадки 12
12. Расчет потребности строительства в воде 12
13. Календарный план-график движения рабочих кадров по объекту 13
14. Сетевой график 14
15. Табличный расчет сетевого графика. 15
16. Технико-экономические показатели 19
Библиографический список 19
1. Характеристика объекта
За исходные данные принят курсовой проект теплотрассы длинной 15 км. от ТЭЦ до смесительной станции. Прокладка трубопровода – подземная в непроходных каналах, через каждые 150 м. длины магистрали устроены неподвижные опоры, а через 300 м. устроены камеры с сальниковыми кампенсаторами. Трасса прямолинейная, без ответвлений, проходит по открытой равнинной местности в удалении от жилых построек.
2. Метод производства СМР
Строительно-монтажные работы производятся поточным методом. Применение этого метода наиболее целесообразно, т.к. сокращается количество рабочих (по сравнению с параллельным методом) и время выполнения всего объема работ (по сравнению с последовательным). На все виды работ создаются отдельные квалифицированные бригады.
Вся теплотрасса делится на 5 захватки, одинаковых по объему, на которых каждая бригада последовательно выполняет СМР.
Организация поточного метода производства работ предусматривает:
а) выявление объектов, близких между собой по объемно-планировочным и конструктивным решениям, а так же технологии их возведения;
б) расчленение процесса возведения объектов на отдельные работы, предпочтительно равные или кратные по трудоемкости;
в) установление целесообразной последовательности выполнения работ;
г) закрепление отдельных видов работ за определенными бригадами рабочих;
д) расчет последовательности перехода ведущих строительных бригад рабочих и машин с объекта на объект с учетом соблюдения запланированного ритма строительства.
Выполнение отдельных этапов работ совмещают, обеспечивая тем самым последовательное осуществление однородных процессов и параллельное разнородных.
3. Технология производства работ
Перечень необходимых работ:
-
Проектно-сметные работы (включают составление проектно-сметной документации, спецификаций материалов и санитарно-технического оборудования, заказа на изготовление фасонных частей в ЦЗМ)
-
Подготовительные работы (включают планировку трассы, подготовку трассы для земляных работ, планировку отвалов и бровок, нивелирование трассы)
-
Земляные работы:
а) планировка трассы бульдозером;
б) отрывка траншеи экскаватором;
в) отрывка котлованов под тепловые камеры;
г) планировка дна траншеи вручную;
-
Разгрузка и комплектование материалов;
-
укладка лотков
-
Устройство основания тепловых камер;
-
Разгрузка и раскладывание труб вдоль трассы;
-
Сборка труб в звенья на бровке траншеи ;
-
Монтаж скользящих опор;
-
Укладка плетей труб в канал на опоры;
-
Монтаж неподвижных опор;
-
Монтаж узлов т/с
-
Предварительное испытание труб тепловой сети;
-
Тепловая изоляция труб;
-
Монтаж бетонных блоков стен тепловых камер;
-
Перекрытие лотков плитами;
-
Перекрытие тепловых камер плитами и установка люков;
-
Гидроизоляция наружной поверхности каналов;
-
Засыпка траншеи бульдозером;
-
Промывка тепловой сети;
-
Окончательное испытание трубопроводов тепловой сети;
-
Сдача объекта в эксплуатацию.
4. Транспортировка
1. Рытье траншей и котлованов ведет одноковшовый экскаватор с обратной лопатой ЭО-3322, вместимостью ковша 0,5 м3, весом 14,1т .наибольшая глубина копания 4,2 м, наибольший радиус копания 7,36 м.
2. Укладку труб на бровку, укладку плетей в каналы, плит для камер и каналов, изоляции, опор осуществляют автомобильные краны КС-3575, грузоподъемностью 10 т.
3. Обратную засыпку грунта осуществляет бульдозер ДЗ-15А, весом 6,25 т,
4. Трубы доставляются трубовозами УПЛ-2916, грузоподъемностью 29 т.
5. Перевоз ж/б плит происходит при помощи полуприцепа-площадки ПЛ22-12, грузоподъемностью 22 т.
6. Все остальные необходимые материалы и изделия, оборудование (компрессоры и сварочные аппараты) доставляются бортовыми автомобилями марки КРАЗ-257, грузоподъемностью 12т.
5.Спецификация материалов
и санитарно-технического оборудования
Таблица 1
| № п/п | Наименование материалов и оборудования | Ед. изм. | Кол-во | Вес ед.изм. кг | Общий вес, кг | габаритные размеры м | ||
| длина | шир. | выс. | ||||||
| 1 | 2 | 3 | 4 | 5 | 6 | 7 | 8 | 9 |
| 1 | Трубы стальные ГОСТ 10704-76, Ду 300 мм: | п.м | 15000 | 62,54 | 968100 | 10 | 0,3 | 0,3 |
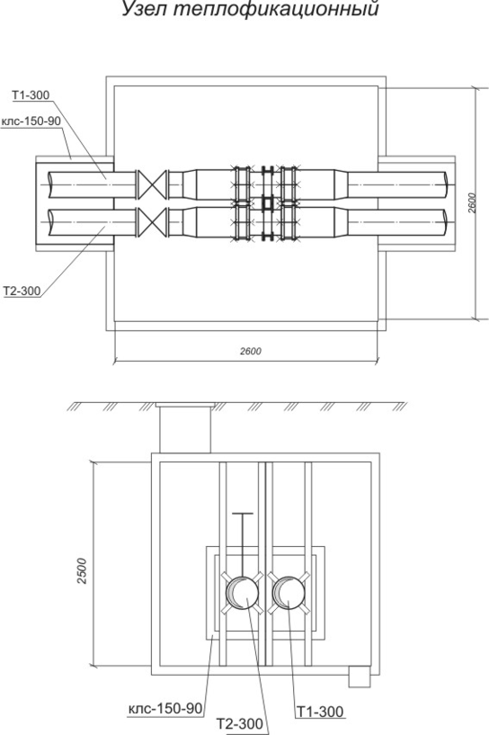
| 2 | Сальниковые компенсаторы, Ду 300-2.5Т1.05 | шт. | 50 | 169 | 8 450 | |||
| 3 | Задвижки Ду 300 30ч47бр | шт. | 17 | 61,2 | 1040 | |||
| 4 | Каналы из лотковых элементов серии 3.006-2 КЛ150*90 | шт. | 2500 | 530 | 1325000 | 5,97 | 0,45 | 0,3 |
| 5 | Камеры железобетонные сборные (по типовому проекту 3.903КЛ-3) | шт. | 50 | 3800 | 190000 | 2,6 | 2,6 | 2,5 |
| 6 | Опоры железобетонные неподвижные щитовые | шт. | 100 | 18,54 | 1854 | |||
| 7 | Скользящие опоры, из стали толщиной 10 мм | шт. | 3000 | 3,6 | 10800 | |||
| 9 | Изоляционные минераловатные маты d 333*8 | м. | 15000 | 31,2 | 468000 | |||
| 10 | Электроды для сварочных работ | кг | - | - | 500 | |||
| 11 | Битум | л. | 1600 | 1,00 | 1600 | |||
| 12 | Рубероид | м2. | 2050 | 1,00 | 2050 | |||
| 13 | Фланцы плоские приварные с патрубком (ВСтЗ сп5) Ду 300 | шт. | 600 | 14,49 | 8694 | |||
| 14 | Болты с шестигранной уменьшенной головкой, Ст20, d 24 м | 1000 шт. | 2,5 | 413,2 | 1033 | |||
| 15 | Гайки шестигранные нормальной точности, Ст 20, d 24 мм | 1000 шт. | 2,5 | 110,2 | 276 | |||
| 16 | Шайбы, Ст 20, d 24 мм | 1000 шт. | 2,5 | 32,33 | 81 | |||
| 17 | Прокладки паронитовые | шт. | 600 | 0,5 | 300 | |||
| 18 | Щебень | м3. | 15000 | 3,00 | 450000 | |||
| 18 | Пеньковый смольный канат, диаметром 20,7 мм | м. | 60 | 1,00 | 60 | |||
| 19 | Деревянные брёвна под лежни | 100 | ||||||
| ВСЕГО | | 3437938 | ||||||
6. Ведомость подсчета объемов работ
Таблица 2.
| № | Наименование работ | Ед. изм. | Кол-во |
| 1 | Подготовительные работы | % | 10 |
| 2 | Земляные работы | м3 | 60000 |
| 3 | Монтаж лотков | м | 15000 |
| 4 | Установка скользящих опор | 1 опора | 3000 |
| 5 | Монтаж оснований камер | 1 плита | 50 |
| 6 | Монтаж неподвижных опор | 1 опора | 100 |
| 7 | Доставка труб на бровку | % | 10 |
| 8 | Укладка в звенья и сварка плетей на бровке | звено | 500 |
| 9 | Опуск плетей в лотки на скользящие опоры | звено | 500 |
| 10 | Монтаж узла колодца | 1 камера | 50 |
| 11 | Испытание стыков на прочность | 1стык | 500 |
| 12 | Испытание трассы на плотность | м | 30000 |
| 13 | Антикоррозийная изоляция стыков и тепловая изоляция трубопроводов | м | 30000 |
| 14 | Перекрытие лотков ж/б плитами | м | 15000 |
| 15 | Закрытие тепловых узлов ж/б камерами | 1 плита | 50 |
| 16 | Гидроизоляция лотков и колодцев | м | 15000 |
| 17 | Засыпка землей траншей и котлованов | м | 15000 |
| 18 | Сдача объекта | м | 15000 |
7. Производственная калькуляция затрат времени
Характеристики
Тип файла документ
Документы такого типа открываются такими программами, как Microsoft Office Word на компьютерах Windows, Apple Pages на компьютерах Mac, Open Office - бесплатная альтернатива на различных платформах, в том числе Linux. Наиболее простым и современным решением будут Google документы, так как открываются онлайн без скачивания прямо в браузере на любой платформе. Существуют российские качественные аналоги, например от Яндекса.
Будьте внимательны на мобильных устройствах, так как там используются упрощённый функционал даже в официальном приложении от Microsoft, поэтому для просмотра скачивайте PDF-версию. А если нужно редактировать файл, то используйте оригинальный файл.
Файлы такого типа обычно разбиты на страницы, а текст может быть форматированным (жирный, курсив, выбор шрифта, таблицы и т.п.), а также в него можно добавлять изображения. Формат идеально подходит для рефератов, докладов и РПЗ курсовых проектов, которые необходимо распечатать. Кстати перед печатью также сохраняйте файл в PDF, так как принтер может начудить со шрифтами.
















