109005 (707848), страница 2
Текст из файла (страница 2)
Преобразования (1) теряют смысл при v≥c, что имеет простое физическое объяснение: материя, состоящая из частиц, связанных силами электромагнитного взаимодействия, не может существовать при скоростях, превышающих скорость распространения взаимодействия (частицы материи распадутся, если v≥c, поскольку при этом условии волна взаимодействия между элементами, составляющими частицы, не успевает за движением этих элементов).
Таким образом, СЭТ представляет собой более общую, чем СТО, механику и позволяет установить границы применимости последней.
Экспериментальное обоснование концепции эфира
Явление анизотропии скорости распространения света в движущихся системах отсчета позволяет экспериментально установить факт движения инерциальной системы отсчета относительно абсолютной. Однако существуют проблемы и закономерности (доказательство которых дано в [3]), ограничивающие выбор измерительных методик:
Невозможность определения абсолютной скорости объекта интерференционнымиметодами (на оптических линиях, неподвижных в лабораторной системе координат).
Проблема синхронизации часов, разнесенных в пространстве, без предварительного знания величины и направления абсолютной скорости системы отсчета.
Опыты С.Маринова
Серия экспериментов по определению абсолютной скорости Земли, отвечающих вышеуказанным закономерностям, впервые была выполнена Стефаном Мариновым (Австрия). В 1984г. он поставил эксперимент [7], являющийся развитием опыта Физо с зубчатым колесом по измерению скорости света. Измерялась разность световых скоростей в двух противоположных направлениях (рис.1).
Рис. 1. Схема опыта С.Маринова
Свет от лазера разделялся на два луча 1 и 3 (процесс разделения на рисунке не показан) и проходил путь в противоположных направлениях между двумя синхронно вращающимися дисками. Диски с отверстиями по периферии, жестко закрепленные на общей оси, выполняли роль синхронизированных затворов, формирующих импульсы света, проходящие к фотодетекторам 2, 4. Абсолютная скорость Земли определялась по формуле:
где ∆I1, ∆I2 – разность токов, регистрируемых в детекторе тока 5 при двух различных частотах вращения оси N1 и N2. Проблема синхронизации затворов решена применением жесткой, механической связи между дисками посредствам вала. Значение абсолютной скорости Земли, определенное в эксперименте, составило 362±40км/с [7]. Вариант эксперимента на связанных зеркалах, выполненный тем же автором [8], дал близкий результат.
Описанный опыт Маринова не мог быть выполнен до появления лазерной технологии, позволяющей получать достаточно узкий пучок света. Так, несмотря на то, что идея подобного опыта была предложена еще Майкельсоном и Морли, осуществить его во времена становления СТО было невозможно.
Интерференционный способ определения абсолютных скоростей
Альтернативный способ измерения абсолютных скоростей непосредственно вытекает из закона преобразования (1): t2=γt1, по которому относительное замедление времени в двух инерциальных системах зависит от их абсолютных скоростей v1, v2. Рассмотрим двое часов, одни из которых движутся вдоль вектора абсолютной скорости Земли, а вторые в противоположном направлении, соответственно абсолютная скорость одних будет больше абсолютной скорости Земли, а других меньше. Следствием такого движения, как видно из (1), станет замедление темпа хода одних часов и ускорение темпа других по сравнению с часами, неподвижными относительно Земли. Роль часов в описанной ниже идее эксперимента [10] выполняют линии задержки светового сигнала, движущиеся в противоположных направлениях относительно земной системы (рис.2).
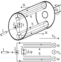
Рис. 2. Интерференционный опыт на движущихся оптических линиях
Свет от источника 1 (лазера) после расщепления 2 проходит через линии задержки 4 и 5 (катушки с намотанным световодом длиной L и показателем преломления n), с выхода которых световые сигналы поступают на фазовый дискриминатор 3, регистрирующий сдвиг фаз (∆φ) в момент, когда катушки занимают определенное положение в пространстве. Фазовый дискриминатор и катушки жестко крепятся к цилиндру. Цилиндр со световодами вращается с угловой скоростью ω, так что направление вектора линейной скорости катушек (u) меняется (u=ωr, где r – радиус цилиндра). Абсолютная скорость Земли определяется по формуле:
Приведем параметры эксперимента, описанного в [10] для длины световой волны λ=0,5мкм: высота цилиндра 1,2м, радиус r=16см, скорость вращения ω=3600об/мин (u=60м/с). Необходимая длина световода L составит 2,5км, при расчетной точности измерения абсолютной скорости Земли dv=3км/с (что на порядок точнее, чем в опыте Маринова).
Эфир и космология
Результаты опытов Маринова позволяют выдвинуть гипотезу о том, что т.н. реликтовое излучение Вселенной является собственным шумом эфира, поскольку значение скорости, измеренное в опытах [7, 8], близко к скорости Земли (Солнечной системы) по отношению к фону реликтового излучения, полученной из астрономических наблюдений. В этом случае «реликтовое» излучение не является собственно реликтовым, а значит, не служит доказательством происхождения Вселенной по теории Большого взрыва. Другой аргумент сторонников [9] теории Большого взрыва состоит в объяснении красного смещения спектра далеких звезд эффектом Доплера, вследствие разлета галактик. Однако существуют альтернативные объяснения. Например, причинами смещения спектра могут являться: неоднородность эфира – изменение его свойств от центра Вселенной к периферии (в предположении, что наша Галактика находится в центральной области Вселенной), или уменьшение энергии электромагнитной волны вследствие прохождения гигантского расстояния в среде-носителе, при этом поглощенная эфиром доля энергии впоследствии может излучаться в виде шума (предполагается, что процент поглощенной энергии зависит только от пройденного расстояния и не зависит от частоты волны). Концепция эфира позволяет обосновать более естественный взгляд на Вселенную. Вселенная, как и эфир, является вечной, и, следовательно, не нуждается в объяснениях своего происхождения. Составляющие её структурные элементы (галактики) непрерывно обновляются, на смену погибающим, старым рождаются новые, молодые. Иного взгляда на эволюцию Вселенной придерживаются последователи концепции физического вакуума, объясняющие возникновение Вселенной путём взрыва, связанного с рождением элементарных частиц в результате одного из фазовых переходов в вакууме. Вселенная, в соответствии с теорией Большого взрыва, не вечна, её ожидает гибель либо в результате разлета галактик («холодная смерть» – модель расширяющейся Вселенной), либо в результате коллапса («горячая смерть» – модель осциллирующей Вселенной). Соответственно галактики гибнут либо в одиночестве (первая модель), либо коллективно (вторая модель). В истории науки еще не было теории более «оптимистичной», чем теория Большого взрыва.
О том, что теория Большого взрыва является крайне спорной в современной науке, свидетельствуют многочисленные работы ученых – физиков и астрономов. Так шведский астрофизик, лауреат Нобелевской премии Х.Альфвен говорит: «Эта космологическая теория представляет собой верх абсурда – она утверждает, что вся Вселенная возникла в некий определенный момент подобно взорвавшейся атомной бомбе, имеющей размеры с булавочную головку. Похоже на то, что в теперешней интеллектуальной атмосфере огромным преимуществом космологии «Большого взрыва» служит то, что она является оскорблением здравого смысла: credo, quia absurdum («верую, ибо это абсурдно»)! Когда ученые сражаются против астрологических бессмыслиц вне стен «храмов науки», неплохо было бы припомнить, что в самих этих стенах подчас культивируется еще худшая бессмыслица.» [11].
Заключение
Концепция эфира, возрожденная на основе СЭТ, и экспериментально подтвержденная в опытах Маринова принципиально отличается от концепции физического вакуума, представления о котором развились из принципа относительности. Основные различия двух концепций заключаются в следующем:
Согласно эфирной концепции электромагнитная волна представляет собой распространение возбуждения неподвижной среды-эфира. В инерциальных системах отсчета имеет место зависимость скорости света от направления распространения волны. Альтернативный взгляд сложился в современной физике: свет не нуждается в среде носителе и движется как корпускула, а скорость распространения света изотропна и инвариантна в инерциальных системах.
Все, что нас окружает, находится в эфире. Структура и динамика свойств его элементов определяют такие фундаментальные физические понятия, как пространство и время. Таким образом, эфир, с которым можно связать абсолютную систему отсчета координат и времени, это и есть Абсолютное пространство-время вечной Вселенной. В отличие от эфира, с физическим вакуумом невозможно связать систему отсчета, а возникающая из вакуума Вселенная имеет конечное время жизни.
Эфирной среде присущи все атрибуты материального объекта: она шумит в радиочастотном диапазоне («реликтовое» излучение), является переносчиком электромагнитных волн, относительно эфира можно экспериментально выявить скорость тел и частиц. Физический вакуум в этом смысле – объект виртуальный (не поддающийся непосредственной регистрации).
Признание существования эфира – это окончательный отказ от принципа относительности и переход к представлению о единстве божественного мира, объединяемого всепроникающей средой – эфиром. Эта среда определяет абсолютную систему отсчета пространственных координат и времени. В социальной и духовной сферах, в которые принцип относительности проник в форме либерализма и политеизма, отказ от относительности морально-нравственных ценностей означает абсолютизацию понятий добра, морали и справедливости.
Список литературы
КалитеевскийН.И. Волновая оптика. – М.: Высшая школа, 1995.
ЛоренцГ.А., в сб. Принцип относительности. – М.: Атомиздат, 1973.
ОбуховЮ.А., ЗахарченкоИ.И., Светоносный эфир и нарушение принципа относительности, 2001.
ЛандауЛ.Д., ЛифшицЕ.М., Квантовая электродинамика. – М.: Наука, 1989.
ПаршинД.А., ЗегряГ.Г. Лекция 27.
ЛандауЛ.Д., ЛифшицЕ.М. Теория поля. – М., Наука, 1988.
МариновС. Физическая мысль России. Т. 2, 1995.
MarinovS. General Relativity and Gravitation. 12, p. 57, 1980.
НовиковИ.Д. Эволюция Вселенной. М.: Наука, 1983.
ЗахарченкоИ.И., ОбуховЮ.А. Заявка на изобретение №2001114292, 2001.
Будущее науки. Международный ежегодник. Вып. 12. – М., стр.64, 1979.
















