108969 (707827), страница 3
Текст из файла (страница 3)
-обеспечение стабильного температурного режима за счет изготовления соленоида с большим запасом по мощности (во избежание его нагрева) и удаление его от измерительной схемы.
Перечень приборов и оснастки.
Для выполнения работы необходимы:
-
стенд контроля,
-
амперметр постоянного тока,
-
микровольтметр постоянного тока или гальванометр,
-
источник постоянного напряжения.
Порядок выполнения работы.
В качестве образцов работе используется ленты из никеля (образец №1) и лента из электротехнической стали марки 3414 толщиной 0,35 мм, вырезанной вдоль направления проката, совпадающего с направлением магнитной и кристаллографической текстуры (образец №2) и поперек направления проката, т.е. поперек направления магнитной текстуры (образец №3). Порядок выполнения измерений следующий:
1. Подготовить к измерениям рабочее место.
-
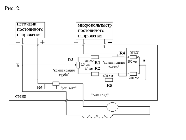
Подключить к клеммам “мкВ” микровольтметр постоянного напряжения к клеммам “U пит” источник постоянного напряжения, установив на нем напряжение 10 В. К клеммам “соленоид” подключить последовательно соедененные амперметр постоянного тока и соленоид. К клеммам “ИТД” подключить выводы тензодатчика, наклеенного на образце №1.
-
Установить переключатель пределов измерения микровольтметра в положение максимальной величине напряжения. Переключатель пределов измерения амперметра установить в положение “2А”, а ручку резистора регулировки тока соленоида в крайнее левое положение, соответствуещее минимальному току.
-
Выполнить измерения магнитострикции.
-
Включить в сеть микровольтметр и источник питания и дать ему прогреться в течении 5-10 мин.
-
С помощью резисторов “компенсация грубо” и реохода “компенсация точно” скомпенсировать измерительный мост – добиться минимальных показателей микровольтметра. Постепенно увеличивая чувствительность микровольтметра, довести ее до предела “100 кВ”.
-
Изменяя ток в соленоиде от минимального значения до 2А записать показания вольтметра, соответствуещее 5-6 точкам значений тока в соленоиде.
-
Выполнить измерения в том же порядке для образцов 2 и 3.
-
Примечания: 1. Перед заменой образца тензодатчика выключить источник напряжения, а ручки управления приборов установить в положение соответстстаующее п.1.2.
2. В случае, если не удается установить стрелку
микровольтметра на нулевое положение в процессе компенсации моста, допускается производить отсчет показаний относительно полученного (ненулевого) значения шкалы.
3. Замену образов производить при выключенном источнике питания микровольтметра.
3. Обработка результатов измерений.
-
Рассчитать величину магнитострикции, соответствующую показаниям микровольтметра.
-
По номиналам резисторов, указанным в схеме на рис.2 рассчитать ток тензодатчика.
-
Зная разбаланс моста в мкВ и ток через тензодатчик рассчитать разбаланс моста в Омах и определить соответствующую этому разбалансу магнитострикцию, используя соотношение:
=∆l/l=(∆R/R),
где ∆R – разбаланс моста в Омах.
R = 200 Oм – сопротивление тензодатчика,
= 2 - коэффициент тензочувствительности.
-
Построить зависимость =f(H) для всех образцов (постоянная соленоида К = 100 Э/А = H/J, где Н – амплитуда магнитного поля, J – ток соленоида).
-
Объяснить различия в зависимостях =f(H) для образцов из электротехнической стали, вырезанных вдоль и поперек проката.
Рис. 2. Электрическая схема установки для измерения магнитострикции.
Литература.
-
Вонсовский С.В. Магнетизм: “Наука”, 1971,
-
Ивановский В.И. Физика магнитных явлений, Издательство Московского университета, 1981
-
Г.Рейнбот. Магнитные материалы и их применение. Перевод с немецкого Л. Энергия, 1974, с. 375-380.
Контрольные вопросы.
-
Что такое магнитострикция ? Какова ее величина ? Чем явление магнитострикции отличается от пъезоэффекта ?
-
Вследствие чего возникают магнитострикционные деформации ?
-
Какова природа магнитной анизотропии ?
-
Какие оси в кубическом кристалле будут ОЛН, а какие ОТН ? Почему ?
-
Какие процессы влияют на изменение длины кристалла с положительной константой магнитной анизотропии K1 ?
-
Зная плотность свободной энергии можно сосчитать всю термодинамику системы. Чему равна плотность свободной энергии деформированного кристалла, намагниченного до насыщения?
-
Как зависят константы магнитной анизотропии от вектора намагниченности в приближении молекулярного поля?
-
Вектор спонтанной намагниченности Is вращается в плоскости (100) монокристалла кубической системы, - угол между Is и крисаллографичеким направлением [001]. Вывести выражение для магнитострикции в функции угла в направлении [111].
















