103145 (706271), страница 3
Текст из файла (страница 3)
Для снижения субъективного фактора при определении значимости управленческих функций экспертные ряды проверяются по формуле:
К = З1/З2, где
К - коэффициент устойчивости экспертного ряда;
31 - максимальная значимость в экспертном ряду;
32 - минимальная значимость в экспертном ряду.
Затем коэффициент устойчивости экспертного ряда сравнивается с нормативным значением этого коэффициента (Кн), который равен 2,0. Если значение К > Кн, то необходимо одно из значений ряда вычеркнуть. После этого еще раз проверяется значение К и рассчитываются среднеарифметические значения значимости каждой функции.
Сводная матрица позволяет проранжировать все функции отдела по степени их значимости с учетом мнений всех экспертов. Количество экспертов может быть больше шести.
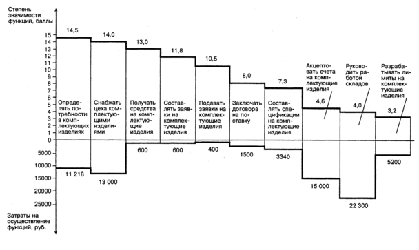
На рис. 2 представлена совмещенная диаграмма значимости функций управления ОВКиК и затрат на их осуществление.
Рис. 2 Совмещенная диаграмма значимости функций и затрат на их осуществление для ОВКиК организации
Из диаграммы видно, что затраты на осуществление функций «Руководить работой складов», «Акцептовать счета на комплектующие изделия» и «Разрабатывать лимиты на комплектующий изделия» не сбалансированы с их значимостью, поэтому в первую очередь необходимо совершенствовать процессы выполнения этих функций.
Достаточно трудоемки также функции «Определять потребности в комплектующих изделиях», «Снабжать цеха комплектующими изделиями» и «Составлять спецификации на комплектующие изделия».
Анализ деятельности ОВКиК позволил выявить низкий уровень качества выполнения отдельных функций (например, «Определять потребности в комплектующих изделиях»).
Уровень качества осуществления функций определяется по формуле:
Кк.ф.у. = (К1 + К2 + К3 + К4 + К5 + К6) / 6, где
Кк.ф.у. – коэффициент, характеризующий уровень качества функций управления.
Расчетные формулы для определения коэффициентов К1, К2, К3, К4, К5, К6 приведены в табл. 6
Диаграмма значимости функций и уровня их качества — совмещенная диаграмма для оценки соответствия значимости функций управления и уровня качества функций. В верхней части диаграммы функции управления располагаются по степени их значимости, а в нижней дается оценка уровню их качества. Строится по подобию диаграммы значимости функций и затрат на их осуществление (см. рис. 2).
Недостаточно высок уровень квалификации отдельных работников отдела. Неудовлетворительна система учета, хранения и использования материальных ресурсов. Требуют упрощения организационная структура отдела, информационные связи его с другими подразделениями. Необходимо разработать ряд регламентирующих деятельность отдела документов.
Таблица 6
Определение показателей качества функций управления
С учетом выявленных недостатков формулируются важнейшие задачи совершенствования управления снабжением производства комплектующими изделиями:
-
сокращение затрат на выполнение следующих функций: «Руководить работой складов», «Акцептовать счета на комплектующие изделия», «Разрабатывать лимиты на комплектующие изделия», «Снабжать цеха комплектующими изделиями» и др.;
-
избавление от излишних функций: «Контролировать выполнение договоров», «Защищать заявки на комплектующие изделия» и т.п. (см. рис. 1);
-
повышение качества выполнения функций: «Определять потребности в комплектующих изделиях», «Регистрировать поступление комплектующих изделий» и т.п.;
-
повышение уровня обеспеченности производства комплектующими изделиями;
-
совершенствование учета, хранения и использования комплектующих изделий;
-
совершенствование функционального разделения труда в ОВКиК и повышение уровня его регламентации;
-
механизация и автоматизация процессов выполнения функций отдела и т.п.
2.4 Творческий этап
На творческом этапе выбираются методы поиска идей и активизации процесса определения путей повышения эфффективности деятельности управленческого персонала, выдвигаются идеи способов выполнения функций управления, формулируются на основе предложенных идей варианты осуществления функций, дается оценка и выполняется предварительный отбор наиболее целесообразных и реальных вариантов выполнения функций управления.
При поиске путей совершенствования управления обеспечением производства комплектующими изделиями используются следующие известные методы: «мозговой атаки», контрольных вопросов, морфологического анализа.
Формируется экспертная группа в следующем составе: заместитель директора по коммерческим вопросам, начальник ОВКиК, руководитель одной из материальных групп отдела, экономист отдела, начальник складского хозяйства, начальник отдела АСУ, научный сотрудник научно-исследовательской организации или вуза. На творческих совещаниях экспертной группы обсуждаются следующие вопросы:
-
Можно ли исключить вообще или передать другому подразделению аппарата управления какую-нибудь функцию из общего состава выполняемых отделом функций?
-
Какие функции, относящиеся к ОВКиК, отдел не выполняет?
-
Можно ли типизировать процесс выполнения каких-либо функций?
-
Можно ли сократить затраты на выполнение каких-либо функций?
-
Каким образом можно избавиться от излишних затрат?
-
Осуществление каких функций можно осуществить с помощью ЭВМ?
-
На сколько снизятся при этом затраты на выполнение функций?
-
Каким иным способом можно выполнить какую-либо функцию?
-
Как изменится уровень качества выполнения функций?
-
Какие технические средства управления целесообразно приобрести ОВКиК?
-
Какие внутренние и внешние связи ОВКиК являются излишними, каких связей недостает?
-
Какие документы, формы или данные, поступающие или исходящие из отдела, являются излишними?
-
Какие данные, необходимые для эффективной работы отдела, не поступают в отдел или поступают с опозданием?
-
Как наиболее целесообразно следует распределить функции между работниками ОВКиК?
-
Следует ли децентрализировать некоторые функции ОВКиК или наоборот — централизировать?
-
Как следует изменить организационную структуру ОВКиК?
-
Чему необходимо обучить работников ОВКиК?
-
Какие регламентирующие деятельность ОВКиК нормативные документы необходимо разработать?
-
Что нужно сделать для эффективной работы складского хозяйства?
-
Как следует изменить систему планирования и экономического стимулирования процесса управления снабжением предприятия комплектующими изделиями?
-
Какие другие мероприятия необходимо осуществить для повышения эффективности работы отдела?
-
Как изменятся основные показатели деятельности организации в результате совершенствования работы ОВКиК?
На каждый из вопросов, как правило, получают несколько вариантов ответов. Все варианты фиксируются в карточках идей, пример их заполнения приведен в табл. 7
Таблица 7
Пример заполнения карточки идей
Для предварительного отбора вариантов данные- всех карточек сводятся в морфологическую матрицу. В ней отражаются те варианты, которые по результатам экспертизы считаются наиболее приемлемыми (фрагмент матрицы показан в табл. 8).
Таблица 8
Фрагмент морфологической матрицы способов выполнения функций ОВКиК
2.5 Исследовательский этап
Разработка проекта происходит на исследовательском этапе. Здесь производится эскизная проработка отобранных вариантов, их сравнительная организационно-экономическая оценка с участием специалистов заинтересованных подразделений и служб организации и учет заключений экспертизы, отбор наиболее подходящих для реализации предложений.
Эскизная проработка отобранных вариантов состоит в подробном описании каждого варианта с применением схем, графиков, моделей, функциональных диаграмм, проектов положений о подразделениях и другой проектной документации.
Сравнительная технико-экономическая оценка вариантов проектных предложений проводится на основе заключений экспертизы с использованием действующих методических материалов по расчету экономической эффективности инвестиционных проектов.
При отборе подходящих для реализации вариантов все предложения делят на следующие группы: реальные для внедрения; возможные для внедрения, но в данных условиях не реализуемые; теоретически возможные, но пока практически не реализуемые; нереальные предложения. Для дальнейшего рассмотрения выбираются варианты из первой группы.
На данном этапе разрабатываются: задание на проектирование, организационный общий и организационный рабочий проекту со всеми необходимыми обоснованиями. Исследовательский этап наиболее трудоемок, поэтому здесь рекомендуется привлекать специалистов научно-исследовательских организаций, учебных заведений для проведения научно-исследовательских работ.
По каждому предложению по совершенствованию работы ОВКиК при помощи табл. 9 осуществляется отбор тех вариантов, которые принимаются для реализации на предприятии.
Таблица 9
Фрагмент сравнительной-организационно-экономической оценки поданых идей и предложений
(«+» - преобладание преимуществ над недостатками, «-» - преобладание недостатков над преимуществами, «+-» - равное соотношение преимуществ и недостатков)
При организационной оценке вариантов учитываются реальные организационные условия, являющиеся предпосылкой успешного внедрения того или иного варианта. При экономической оценке учитываются: уровень снижения трудозатрат и повышения качества выполнения функций, а также тенденции изменения основных показателей работы организации.
В нашем примере наиболее рациональным является первый вариант.
Назовем важнейшие направления повышения эффективности деятельности управленческого персонала ОВКиК организации, реализованные в проекте:
-
повышение квалификации работников отдела, в первую очередь повышение уровня экономических знаний;
-
автоматизация и механизация процессов выполнения функций, передача ряда рутинных работ на ЭВМ, оснащение рабочих мест необходимой оргтехникой и персональными компьютерами;
-
улучшение информационного обмена по документам внутри отдела, а также между ОКВиК и другими отделами и подразделениями;
-
совершенствование системы мотивации и стимулирования работников отдела;
-
улучшение методов и регламента работы специалистов отдела;
-
проведение работы по централизации ряда функций, устранению дублирования, излишних, несвойственных и вредных функций;
-
повышение качества выполнения функций;
-
снижение затрат на осуществление функций ОВКиК.
Проект повышения эффективности деятельности управленческого персонала включает: положение об ОВКиК; должностные инструкции работников отдела; схему функциональных взаимосвязей отдела с другими подразделениями организации; комплект регламентирующей деятельность отдела документации (оперограммы выполнения отдельных управленческих процедур, логико-информационные схемы, схемы документооборота); комплект основных стандартов организации; схему организационной структуры отдела; штатное расписание отдела; таблицу расчета трудоемкости осуществления функций до и после внедрения мероприятий; перечень задач, рекомендуемых для решения на компьютерах; расчет ожидаемого экономического и социального эффекта от внедрения мероприятий.
2.6 Рекомендательный этап и этап внедрения
На рекомендательном этапе подготавливают проект к внедрению, рассчитывают затраты на разработку и реализацию рекомендаций, ожидаемую экономическую и социальную эффективность.















