mmz (703991)
Текст из файла
Министерство образования Российской Федерации
СЕВЕРО-ЗАПАДНЫЙ ЗАОЧНЫЙ ТЕХНИЧЕСКИЙ УНИВЕРСИТЕТ
Кафедра экономики и управления на автомобильном транспорте
КУРСОВАЯ РАБОТА
По дисциплине: «Менеджмент»
На тему: «Оптимизация организационной структуры управления»
Выполнили: студенты V курса
Факультета ЭМ и АТ
Специальность 2401
Проверила: Дягилева Н.В.
г. Рыбница
2001г.
СОДЕРЖАНИЕ
Введение
-
Анализ управленческой структуры предприятия
1.1. Исходные данные
1.1.1. Главные и сопутствующие цели предприятия
1.1.2. Материальные связи объекта
-
Информационные связи объекта
1.2. Характеристика объекта управления
1.2.1. Схема структуры управления
1.2.2. Количество уровней управления и информационные связи между ними
2. Внутренняя среда организации
2.1. Осуществляемый технологический процесс
2.2. Кадровый состав
2.3. Планирование
2.4. Мотивация деятельности
2.5. Отношения к нововведениям
2.6. Осуществление функций контроля
3. Внешняя среда организации
3.1. Анализ факторов прямого воздействия
3.2. Анализ факторов косвенного воздействия
4. Оптимизация управленческой структуры
4.1. Анализ структуры по признакам оптимальности
4.2. Рекомендации по совершенствованию структуры управления
5. Выводы
Список используемой литературы
ВВЕДЕНИЕ
В настоящее время, в условиях рыночной экономики для упрочения положения АТП на рынке транспортных услуг необходимо наладить такую коммерческую деятельность, которая обеспечивала бы ему получение достаточного размера дохода в течение продолжительного периода времени. Такое положение может быть достигнуто за счет развития коммерческой деятельности самого предприятия на основе передовых маркетинговых методов и менеджмента.
"Структура управления организацией", или "организационная структура управления" (ОСУ) - одно из ключевых понятий менеджмента, тесно связанное с целями, функциями, процессом управления, работой менеджеров и распределением между ними полномочий. В рамках этой структуры протекает весь управленческий процесс (движение потоков информации и принятие управленческих решений), в котором участвуют менеджеры всех уровней, категорий и профессиональной специализации. Структуру можно сравнить с каркасом здания управленческой системы, построенным для того, чтобы все протекающие в ней процессы осуществлялись своевременно и качественно. Отсюда то внимание, которое руководители организаций уделяют принципам и методам построения структур управления, выбору их типов и видов, изучению тенденций изменения и оценкам соответствия задачам организаций.
Под структурой управления понимается необходимое построение взаимоотношений уровней управления, функциональных служб и производственных подразделений, в форме позволяющей организации достигать главной цели наиболее эффективным способом.
Переход на рыночные отношения кардинально меняет взгляды на организационную структуру, создающую условия для наилучшего использования техники и людей в процессе производства и тем самым повышающую его эффективность.
В процессе управления происходит делегирование прав и обязанностей для организации взаимодействия различных органов управления и распределения задач, решаемых различными работниками. Руководители должны передавать сотрудникам свои права и обязанности, иначе требуемая работа просто не будет выполнена. Поэтому организация работ - это функция, которую должны осуществлять все руководители - независимо от их ранга. Однако, хотя смысл этой концепции состоит в делегировании прав и обязанностей для разделения труда по горизонтали и вертикали, решение о выборе структуры организации в целом почти всегда принимается руководством высшего звена. Руководители низового и среднего звеньев лишь помогают ему, предоставляя необходимую информацию, а в более крупных организациях и предлагая структуру подчиненных им подразделений, соответствующую общей структуре организации, выбранной высшим руководством.
В широком смысле задача менеджеров при этом состоит в том, чтобы выбрать ту структуру, которая лучше всего отвечает целям и задачам организации, а также воздействующим на нее внутренним и внешним факторам. «Наилучшая» структура - это та, которая наилучшим образом позволяет организации эффективно взаимодействовать с внешней средой, продуктивно и целесообразно распределять и направлять усилия своих сотрудников и, таким образом, удовлетворять потребности клиентов и достигать своих целей с высокой эффективностью.
Цель данной курсовой работы - оптимизация организационной структуры управления автотранспортного предприятия, анализ управления предприятия.
-
АНАЛИЗ УПРАВЛЕНЧЕСКОЙ СТРУКТУРЫ ПРЕДПРИЯТИЯ
1.1. Исходные данные
В качестве исследуемого предприятия взято автотранспортное предприятие АО «Такси сервиче». Оно образовано 1997 г. Фирма осуществляет таксомоторные перевозки пассажиров. Численность работающих на АТП - 300 человек, количество автомобилей на балансе предприятия - 136. АО «Такси сервиче» обслуживает население г. Кишинева и его пригороды.
1.1.1. Главная и сопутствующие цели предприятия
Конечная цель любого предприятия - обеспечение наибольшей экономической эффективности производственной и предпринимательской деятельности.
Главной задачей АТП является удовлетворение потребностей населения в автомобильных перевозках пассажиров, обеспечение сохранности и своевременной доставки пассажиров к месту назначения. АТП должно строго соблюдать выполнение договорных обязательств по транспортному обслуживанию населения, реализовывать необходимые мероприятия, направленные на предотвращение дорожно-транспортных происшествий.
Предприятие возглавляет генеральный директор. Он организует работу коллектива предприятия, несет полную ответственность за состояние предприятия и его деятельность.
Научная организация транспортного процесса и эффективное использование транспортных средств зависят прежде всего от совершенства работы эксплуатационной службы, степени подготовленности се кадров и оснащенности необходимыми вычислительными и другими техническими средствами.
Техническая служба АТП уделяет главное внимание вопросам поддержания транспортных средств в технически исправном состоянии и обеспечения развития производственной базы, а также осуществляет руководство материально-техническим снабжением предприятия.
Важное место в хозяйственном руководстве, в улучшении качественных показателей работы предприятия отводится экономической службе. На основе систематического анализа работы предприятия, автоколонн и других подразделений и исходя из объемных показателей перевозок, их ресурсного обеспечения, экономическая служба определяет пути, по которым должны разрабатываться технические и организационные мероприятия, направленные на повышение технической готовности подвижного состава и совершенствование эксплуатационной и коммерческой деятельности АТП.
Для достижения главной цели, необходимо, чтобы все вспомогательные службы работали в нужном графике и в соответствии с потребностями рынка, т.е. должны быть гибкими.
1.1.2. Материальные связи объекта
Для нормальной и бесперебойной работы АТП требуется его постоянное обеспечение транспортными средствами, топливом, запасными частями и др. Для этого необходимо иметь постоянные договора с поставщиками. Необходимо быть уверенными, что поставщик обеспечит АТП необходимыми поставками.
Схема материальных связей объекта представлена на рис. 1.
1.1.3. Информационные связи объекта
В процессе деятельности люди обмениваются информацией. Этот процесс называется коммуникацией. Информация – содержание, передаваемое в процессе коммуникаций. Основным требованием для принятия эффективного объективного решения является наличие точной информации. Для планирования деятельности необходимо собирать и обрабатывать так называемую вторичную информацию.
Вторичная информация представляет собой данные, собранные ранее для целей, отличных от связанных с решением исследуемой проблемы.
До того как начать расходовать время и средства на поиск внешней вторичной информации или сбор первичных данных, исследователь должен изучить информацию, имеющуюся внутри компании: бюджеты, данные о сбыте, данные о прибылях и убытках, счета клиентов, данные о запасах, результаты предыдущих исследований и написанные сообщения.
Информационные связи объекта представлены на рис. 2.
Комитет по транспорту
г. Кишинева
Первичные данные представляют собой только что полученную информацию для решения конкретной исследуемой проблемы или вопроса. Они необходимы в тех случаях, когда доскональный анализ вторичных сведений не в состоянии обеспечить необходимую информацию.
Первичные данные собираются в соответствии с точными целями данной исследовательской задачи, методология сбора данных контролируется и известна компании, компания может обеспечить и секретность для конкурентов. Однако сбор первичных данных может занять много времени и потребовать больших затрат.
1.2. Характеристика объекта управления
Построение структуры системы управления является частью процесса создания управляющей подсистемы на предприятиях автомобильного транспорта.
От рационального состава подразделений органов управления, их связи между собой и взаимодействия с производственными подразделениями в значительной степени зависит эффективность работы системы управления и функционирования всей производственной системы.
Организационная структура управления характеризуется звеньями управления, связями и ступенями управления.
1.2.1. Структура управления
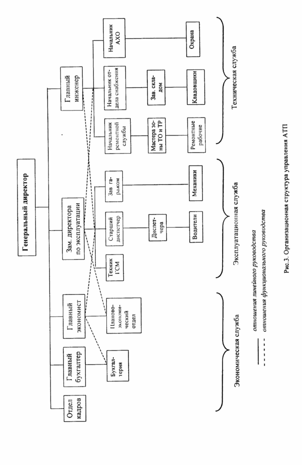
В организационной системе управления автотранспортным предприятием можно выделить три самостоятельных блока управления: эксплуатационный, технический и экономический, каждый из которых подчиняется соответствующему руководителю.
Для АТП характерна бесцеховая организационная структура, при которой все функции по управлению сосредоточены в аппарате управления предприятия.
На АТП действует централизованная система, при которой мастерские и весь ремонтно-обслуживающий персонал находятся в ведении ремонтной службы предприятия. В этом случае мастерские выполняют весь комплекс работ по техническому обслуживанию и ремонту автомобилей, имея в своем составе зоны ЕО, TO-1, TO-2 и производственно-вспомогательные участки. В подчинении начальника ремонтной службы находятся сменные старшие механики, руководящие работами по ТО и ремонту автомобилей, мастера производственно-вспомогательных участков, техник-нормировщик, осуществляющие контроль за приемом автомобилей, качеством ТО и ремонта и выпуском подвижного состава на линию.
Схема структуры управления представлена на рис. 3.
Как видно на схеме. ОСУ АТП является линейно-функциональной. На линейные звенья управления возлагаются функции и права командования и принятия решений, а на функциональные подразделения (планово-экономический отдел к примеру) – методическое руководство при подготовке и реализации решений по планированию, организации, учету, контролю и анализу по всем функциям производственно-хозяйственной деятельности. Эта структура - механистическая, характеризующаяся использованием формальных процедур и правил, жесткой иерархией власти в организации, централизацией принятия решений.
Структура системы управления строится таким образом, чтобы каждый исполнитель подчинялся только одному руководителю. Все указания и решения по функциям управления исполнитель получает от непосредственного руководителя. Между исполнителем и функциональными подразделениями остаются информационные связи
методического и консультационного характера. Для того чтобы решение функционального подразделения стало директивным, оно должно быть утверждено руководителем.
Структура АО «Такси сервиче» включает в себя следующие отделы и подразделения:
Общее руководство - 4 человека;
Служба технического обслуживания и ремонта подвижного состава - 24 человека;
Отдел материально-технического снабжения - 6 человек;
Служба эксплуатации - 7 человек;
Водители - 140 человек;
Бухгалтерия - б человек;
Планово-экономический отдел - 4 человека;
Отдел кадров - 2 человека;
Юрист - 1 человек;
Охрана - 6 человек;
Секретарь - 1 человек.
1.2.2. Количество уровней управления и информационные связи между ними
Несмотря на то, что все руководители организации выполняют управленческий действия, нельзя сказать, что все они занимаются одним и тем же видом трудовой деятельности. Отдельным руководителям приходится затрачивать время на координирование работы других руководителей, которые в свою очередь координируют работу сотрудников более низкого уровня и т.д. до уровня руководителя, который координирует неуправленческого персонала - людей, физически производящих продукцию или оказывающих услуги. Такое вертикальное развертывание разделения труда и образует уровни управления. Как показано на рис. 4 на АТП существует четыре уровня управления.
В организации, состоящей из многих частей, должна осуществляться определенным образом координация их деятельности. Данная координация выступает основой структуры организации, которая обычно определяют как совокупность устойчивых связей в организации. Связь - это выражение отношений, а не какое-то действие. Связи различаются не тем, что делается в их рамках, а тем, как реализуются отношения координации, что в свою очередь определяется тем, какие отношения лежат в основе связи. Посредством связей в организации осуществляется координация ролей и деятельностей. Эффективная координация является функцией двух переменных: прав и информации.
В организации выделяются различные типы связей. Наиболее часто анализу подвергаются следующие пары связей в организации: вертикальные и горизонтальные; линейные и функциональные.
Вертикальные связи соединяют иерархические уровни в организации и ее частях. Они формализуются в процессе проектирования организации, действуют постоянно и изображаются на всех возможных схемах, отражая распределение полномочий или указывая на то, «кто есть кто» в организационной иерархии. Данные связи служат каналами передачи распорядительной и отчетной информации, создавая тем самым стабильность в организации. В рамках вертикальных связей решаются проблемы власти и влияния, т.е. реализуется «вертикальная загрузка» работы. Обычно рост организации сопровождается ростом вертикальных связей, так что по количеству этих связей можно судить о размере организации.
Горизонтальные связи – это связи между двумя или более равными по положению в иерархии или статусу частями или членами организации. Их главное предназначение – способствовать наиболее эффективному взаимодействию частей организации при решении возникающих между ними проблем. Они помогают укреплять вертикальные связи и
делают организацию в целом более устойчивой при различных внешних и внутренних изменениях. Горизонтальные связи создают ряд важных преимуществ. Они экономят время и повышают качество взаимодействия. Горизонтальные связи развивают у руководителей самостоятельность, инициативность и мотивированность, ослабляют боязнь риска. Поэтому особый интерес представляет анализ практики и изучение способов установления таких связей. В случае, когда горизонтальные связи устанавливаются на неформальной основе вышестоящим руководителем, они обычно имеют привязку ко времени, к событию или к людям. Так, например, в ходе заседания директор может предложить главному экономисту и начальнику отдела кадров самостоятельно решать вопросы установления окладов для работников, поскольку он доверяет им. Но, как только один из них оставит пост по каким-то причинам, руководитель скорее всего вернет это право себе назад и будет им пользоваться до тех пор, пока начальник не заслужит у него доверия
Характеристики
Тип файла документ
Документы такого типа открываются такими программами, как Microsoft Office Word на компьютерах Windows, Apple Pages на компьютерах Mac, Open Office - бесплатная альтернатива на различных платформах, в том числе Linux. Наиболее простым и современным решением будут Google документы, так как открываются онлайн без скачивания прямо в браузере на любой платформе. Существуют российские качественные аналоги, например от Яндекса.
Будьте внимательны на мобильных устройствах, так как там используются упрощённый функционал даже в официальном приложении от Microsoft, поэтому для просмотра скачивайте PDF-версию. А если нужно редактировать файл, то используйте оригинальный файл.
Файлы такого типа обычно разбиты на страницы, а текст может быть форматированным (жирный, курсив, выбор шрифта, таблицы и т.п.), а также в него можно добавлять изображения. Формат идеально подходит для рефератов, докладов и РПЗ курсовых проектов, которые необходимо распечатать. Кстати перед печатью также сохраняйте файл в PDF, так как принтер может начудить со шрифтами.
















