98041 (703986)
Текст из файла
Оглавление.
Введение. 2
1. Общее понятие 2
2. Процесс коммуникации. 2
3. Коммуникационные сети. 2
4. Коммуникационные стили. 2
5. Невербальная коммуникация. 2
Заключение. 2
Литература. 2
Введение.
Управление в организации осуществляется через людей. Одним из важнейших инструментов управления в руках менеджера является находящаяся в его распоряжении информация. Используя и передавая эту информацию, а также получая обратные сигналы, он организует, руководит и мотивирует подчиненных. Многое зависит от его способности передавать информацию таким образом, чтобы достигалось наиболее адекватное восприятие данной информации теми, кому она предназначена. Многие менеджеры понимают важность этой проблемы и уделяют этому большое внимание.
1. Общее понятие
В процессе коммуникации информация передается от одного субъекта другому. Субъектами могут выступать отдельные личности, ; группы и даже целые организации. В первом случае коммуникациям носит межличностный характер и осуществляется путем передачи идей, фактов, мнений, намеков, ощущений или восприятий, чувств и отношений от одного лица другому в устной или какой-либо другой форме (письменно, жесты, поза, тон голоса, время передачи, недосказанность и т.п.) с целью получения в ответ желаемой реакции.
Коммуникация и информация различные, но связанные между собой понятия. Коммуникация включает в себя и то, что передается, и то, как это «что» передается. Для того чтобы коммуникация состоялась, необходимо, как минимум, наличие двух людей.
Коммуникация предъявляет требования к каждому из участников управленческого взаимодействия. Так, каждый из участников должен обладать всеми или некоторыми способностями: видеть, слышать, осязать, воспринимать запах и вкус. Эффективная коммуникация требует от каждой из сторон определенных навыков и умений, а также наличия определенной степени взаимного понимания.
Термин «коммуникация» происходит от латинского «communis», означающего «общее»: передающий информацию пытается установить «общность» с получающим информацию. Отсюда коммуникация может быть определена как передача не просто информации, а значения или смысла с помощью символов.
Эффективная межличностная коммуникация в силу ряда причин очень важна для успеха в управлении. Во-первых, решение многих управленческих задач строится на непосредственном взаимодействии людей (начальник с подчиненным, подчиненные друг с другом) в рамках различных событий.
Во-вторых, межличностная коммуникация, возможно, является лучшим способом обсуждения и решения вопросов, характеризующихся неопределенностью и двусмысленностью.
2. Процесс коммуникации.
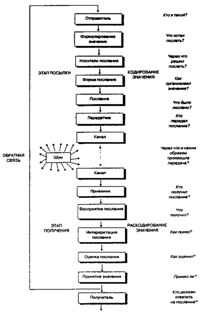
Углубленное изучение межличностной коммуникации предполагает рассмотрение ее как процесса, состоящего из этапов и стадий (рис. 1). Знание роли и содержания каждого из этапов позволяет более эффективно управлять процессом в целом.
Р
ис. 1. Модель коммуникационного процесса
Этап отправления включает в себя следующее шаги.
Тот, кто передает информацию, называется отправителем. Это ключевая роль, заключающаяся в проектировании и кодировании информации, предназначенной для передачи другим участникам процесса. Выполнение данной роли начинается с идентификации индивидом себя (кто я такой) в рамках коммуникационного процесса и формулирования значения или смысла того, почему и что он хочет передать другому участнику. За этим следует кодирование идеи.
Кодирование — это трансформирование предназначенного для передачи значения в послание или сигнал, который может быть передан. Кодирование в коммуникационном процессе начинается с выбора системы кодовых знаков — носителей информации. Носителями могут быть звук, свет, температура, запах, вкус, атмосферное давление и физические действия. Далее носители организуются в определенную форму, которой могут быть речь, текст, рисунок, поступок и т.д. Умение говорить, писать, жестикулировать, позировать играют важную роль в способности отправителя кодировать передаваемо значение.
В результате проведенных исследований формируется послание, содержащее данные с определенным значением. Смысл или значение послания представляют собой принадлежащие отправителю идеи, факты, ценности, отношения и чувства. При этом отправитель считывает, что послание воспринято адекватно заложенному в него значению.
Чем больше различие между тем, что было передано и что было получено, тем беднее межличностная коммуникация. Так, например, профессионалы обычно имеют трудности в коммуникации с публикой в силу того, что они кодируют значение в формы, понятные только людям их крута (аббревиатура инженеров и чиновников, юридические термины, тексты контрактов и анкет и т.п.). Полное различие в переданном и полученном значениях означает отсутствие у участников процесса чего-то общего, так как сами собой вербальные и невербальные носители значения не имеют.
Послание посредством передатчика поступает в передающий канал, доводящий его до заданного адресата. Передатчиком может быть как сам человек (его тело и голос), так и техническое средство (телефон, радио, телекс, телефакс, телевизор, компьютер, робот и т.п.), а также химическое или физическое состояние среды (жидкость, газ, твердые вещества, радиация, свет и т.н.). В качестве каналов используется сама среда (воздух, вода и свет) и различные технические устройства и приспособления (линии, волны и т.п.). Так, например, разговор двух лиц может осуществляться непосредственно по телефону или по радио. Как только передача послания или сигнала началась, коммуникационный процесс выходит из под контроля средства или человека, его пославшего. Отправленное послание обратно вернуть уже нельзя. В этот момент заканчивается этап отправления начинается этап получения передаваемой информации и понимания ее значения.
Канал выводит послание на приемник, который фиксирует получение данного послания по другую сторону канала. Если в ходе движения по каналу в послании меняются его носители (кодовые знаки) или формы, то прием считается не состоявшимся.
Тот, кого достигло и кому было адресовано послание, называется получателем. Это еще одна ключевая роль, выполняемая участником межличностной коммуникации, которая заключается не только в фиксации получения послания, но в значительной степени в раскодировании этого послания в понятное и приемлемое для получателя значение.
Раскодирование включает восприятие (что получил) послания получателем, его интерпретацию (как понял) и оценку (что и как принял). Получить — еще не означает понять, а понять — это еще не значит принять. Эффективная коммуникация устраняет причины для непринятия послания.
Возможное искажение в значении послания связано с наличием в процессе коммуникации шума. Шум — это любое вмешательство в процесс коммуникации на любом из его участков, искажающее смысл послания. Источниками шума, вносящего определенные изменения в значение передаваемого сигнала, могут быть как средства коммуникационного процесса, так и организационные составляющие (многоуровневость, масштаб управляемости, централизация, дифференциация и т.д.), затрудняющие точную передачу сигнала. Шум присутствует всегда. Поэтому необходимо иметь в виду, что на всех этапах процесса коммуникации происходит некоторое искажение значения передаваемого послания. Эффективный руководитель всегда попытается максимально преодолеть имеющийся шум или снизить его уровень и передать смысл своего послания как можно точнее.
Примерами наличия шума может быть следующее: звуковые ошибки в произношении; наличие более сильного параллельного сигнала; языковые ошибки; искажения в линиях связи; добавления к посланию на различных уровнях и т.д.
Последним важным элементом коммуникационного процесса является обратная связь, появляющаяся в результате обмена участников процесса ролями. Получатель становится отправителем, и наоборот, отправитель — получателем. Таким образом, весь цикл повторяется вновь, но уже в другом направлении. Обратная связь - это ответ
получателя на послание. Она дает возможность отправителю узнать,
дошло ли послание до адресата и в каком значении.
Коммуникация с помощью обратной связи превращается в дорогу с двусторонним движением, а сам процесс приобретает динамику. При этом обратная связь может быть выражена не обязательно в той же кодовой системе, что и полученное послание. Главное, чтобы кодовая система была известна новому получателю. Так, очень часто на какую-то фразу мы отвечаем кивком головы. Для руководителя, как и для другого лица, обратная связь может выступать как прямая (непосредственно наблюдаемое изменение поведения) и косвенная (снижение производительности, текучка, прогулы, конфликты и т.п.). И то, и другое могут свидетельствовать как об успехе коммуникации, так и о ее неудачах.
3. Коммуникационные сети.
К
оммуникационная сеть — это соединение определенным образом участвующих в коммуникационном процессе индивидов с помощью информационных потоков (рис. 2). В данном случае рассматриваются не индивиды как таковые, а коммуникационные отношения между индивидами. Коммуникационная сеть включает потоки посланий или сигналов между двумя или более индивидами. Коммуникационная сеть концентрируется на выработанных в организации образцах этих потоков, а не на том, удалось ли передать значение или смысл послания. Однако коммуникационная сеть может влиять на сокращение или увеличение разрыва между посланным и полученным значением.
Рис. 2 Межличностная коммуникационная сеть руководителя группы
в организации
Создаваемая руководителем сеть состоит из вертикальных, горизонтальных и диагональных связей. Вертикальные связи строятся по линии руководства от начальника к подчиненным. Горизонтальные связи осуществляются между равными по уровням индивидами или частями организации: между заместителями, между начальниками отделов, между подчиненными. Диагональные связи — это связи с другими начальниками и с другими подчиненными. Сеть этих связей создает реальную структуру организации. Задача формальной организационной структуры заключается в том, чтобы придать коммуникационным потокам правильное направление. Размеры подразделений в организации ограничивают возможности развития коммуникационной сети. Если размер группы увеличивается в арифметической прогрессии, то количество возможных коммуникационных отношений возрастает по экспоненте. Отсюда коммуникационная сеть в группе из 12 человек более разнообразная и сложная, чем в группе из трех человек. В зависимости от того, как построены коммуникационные сети, деятельность группы может отличаться большей или меньшей эффективностью.
Существуют устоявшиеся образцы коммуникационных сетей для групп одной и той же или разной численности (рис. 3). В сетях типа «кружок» члены группы могут коммуницировать только с теми, кто расположен рядом с ними.
Рис 3. Образцы коммуникационных сетей в группах
В сетях типа «колесо» представлена формальная, централизованная иерархия власти, при которой подчиненные коммуницируют друг с другом через своего начальника. Объективной основой такой ситуации является то, что лицо, находящееся в центре «колеса», имеет больше коммуникационных связей, чем другие члены группы. Он получает больше посланий, чаще признается другими членами группы как лицо, выполняющее лидерские
функции, больше оказывает социального влияния на других членов
группы, обычно несет большую ответственность за передачу информации, от него больше, чем от других, ожидается окончательное решение проблемы.
Аналогичная картина наблюдается в сетях типа «Y». Такие сети называются централизованными и могут быть эффективны, если решаются простые проблемы. Другой тип властной иерархии представляют сети типа «цепочка», в которых появляются горизонтальные связи — элемент децентрализации. «Всеканальные» сети представляют полностью децентрализованные группы. Обычно это требуется, когда необходимо участие всех в решении сложных проблем. Такой подход называют еще открытыми коммуникациями.
Знание типов коммуникационных сетей особенно важно для понимания отношений власти и контроля в организации. Известно, что сокрытие или централизация информации поддерживают властные отношения.
Характеристики
Тип файла документ
Документы такого типа открываются такими программами, как Microsoft Office Word на компьютерах Windows, Apple Pages на компьютерах Mac, Open Office - бесплатная альтернатива на различных платформах, в том числе Linux. Наиболее простым и современным решением будут Google документы, так как открываются онлайн без скачивания прямо в браузере на любой платформе. Существуют российские качественные аналоги, например от Яндекса.
Будьте внимательны на мобильных устройствах, так как там используются упрощённый функционал даже в официальном приложении от Microsoft, поэтому для просмотра скачивайте PDF-версию. А если нужно редактировать файл, то используйте оригинальный файл.
Файлы такого типа обычно разбиты на страницы, а текст может быть форматированным (жирный, курсив, выбор шрифта, таблицы и т.п.), а также в него можно добавлять изображения. Формат идеально подходит для рефератов, докладов и РПЗ курсовых проектов, которые необходимо распечатать. Кстати перед печатью также сохраняйте файл в PDF, так как принтер может начудить со шрифтами.















