96784 (703133), страница 3
Текст из файла (страница 3)
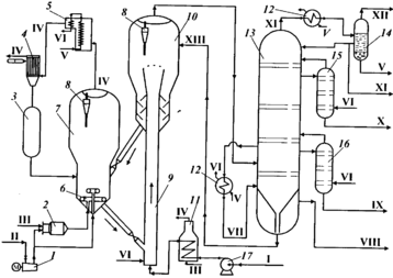
Изопентан дополнительно извлекается из углеводородного газа гексановой фракцией X, поступающей с ЦГФУ, в абсорбере 13. Насыщенный абсорбент IX возвращается для переработки на центральную газофракционирующую установку.
Технологическая схема каталитического крекинга
Целевым назначением процесса является получение высококачественного бензина с октановым числом, определенным исследовательским методом (ОЧИ), 90—92. При каталитическом крекинге образуется значительное количество газа, богатого бутан-бутиленовой фракцией (сырье для производства высокооктанового компонента бензина). Установки каталитического крекинга являются также поставщиком сырья для химической промышленности: из газойлей каталитического крекинга получают сажевое сырье и нафталин; тяжелый газойль может служить сырьем для производства высококачественного «игольчатого» кокса. установки каталитического крекинга с шариковым катализатором и с микросферическим катализатором. Установки с шариковым катализатором производительно-тью 750 тыс. т в год в настоящее время выводятся из эксплуатации. Установки с микросферическим катализатором производительностью 2 млн т в год.
Сырье I после гидроочистки подогревается в печи 11 и поступает к основа-нию лифта-реактора 9. Температура в реакторе 515—545 °С, время контакта сырья с катализатором несколько секунд. Сюда же из регенератора 7 ссыпается регенерированный катализатор и в низ реактора подается водяной пар VI. Катализатор, взвешенный в смеси паров сырья и водяного пара, через решетку на конце лифта-реактора 9 попадает в отпарную секцию 10. Там пары продуктов крекинга отделяются от катализатора, который ссыпается вниз отпарной секции. Для повышения эффективности отпаривания нижняя часть отпарной секции снабжена перегородками. Отпаренный катализатор самотеком поступает в регенератор 7. Воздух II на регенерацию подают компрессором 1; температура регенерации 700 °С, давление 2,5 МПа, интенсивность выжигания кокса примерно 80 кг/ч, скорость газов над слоем катализатора 0,9—1,0 м/с. В регенераторе отсутствуют паровые змеевики для отвода избыточного тепла, и тепловой баланс реакторного блока регулируют, изменяя количество воздуха II, подаваемого через распределительное устройство 6. Дымовые газы и воздух подаются в регенератор раздельно, что позволяет регулировать скорость регенерации катализатора.
Продукты сгорания IV проходят котел-утилизатор 5 и электрофильтр 4. Конечное пылесодержание газов не превышает 80 мг/нм3. Пары продуктов крекинга поступают в нижнюю часть ректификационной колонны 13.
Из верхней части этой колонны уходят пары бензина XI, углеводородный газ XII и водяной пар. Нижняя часть колонны 13 является отстойником катализаторного шлама XIII, который возвращается в отпарную секцию 10. Отстоявшийся от шлама жидкий остаток VIII выводят из колонны. Этот остаток состоит в основном из тяжелых полициклических ароматических углеводородов, склонных к коксообразованию. Он нежелателен как компонент сырья для крекинга, но является идеальным сырьем для получения «игольчатого» кокса (если крекингу подвергать сырье с умеренным содержанием серы). Избыточное тепло в колонне снимают цир- кулирующим внизу колонны крекинг-остатком, это тепло используют для получения водяного пара. На установке предусмотрены две отпарные колонны 15 и 16 соответственно для легкого X и тяжелого IX каталитических газойлей.
Схема установки каталитического крекинга: / — компрессор; 2 — топка под давлением; 3 — катализаторная емкость; 4 — электрофильтр; 5 — котел-утилизатор; 6 — распределительное устройство; 7 — регенератор; 8 — циклон; 9 — лифт-реактор; 10— отпарная секция; // — печь; 12— теплообменник; 13 — ректификационная колонна; 14— сепаратор; 15, 16— отпарные колонны; 17— насос; I — сырье; II — воздух; III — топливный газ; IV — дымовые газы; V — вода; VI — пар; VII — циркулирующий остаток; VIII — остаток >420 °С; IX — тяжелый газойль; X — легкий газойль; XI — бензин; XII — газ; XIII — катализаторный шлам
Для увеличения глубины крекинга установка может работать с рециркуляцией промежуточных фракций. Их отводят из колонны к основанию лифта-реактора. На установке широко используется воздушное охлаждение, что сокращает объем оборотной воды на заводе.
Рынок сбыта
Экспортом нефти данного месторождения, а так же ее переработкой занимается компания Saudi Aramco — национальная нефтяная компания Саудовской Аравии. Крупнейшая нефтяная компания мира по показателю добычи нефти и размеру нефтяных запасов. Также, по оценке газеты «Financial Times», является крупнейшей компанией в мире по стоимости бизнеса ($781 млрд). Штаб-квартира — в Дахране. «Saudi Aramco» контролирует месторождения с запасами нефти примерно 260 млрд баррелей (99 % запасов Саудовской Аравии), что составляет около четверти мировых разведанных запасов нефти. Имеет большое влияние в ОПЕК. Компания контролирует добычу природного газа на территории страны, владеет современными нефте- и газоперерабатывающими заводами. Компания имеет филиалы, совместные предприятия и дочерние компании в Китае, Японии, на Филиппинах, Республике Корея, Сингапуре, Объединенных Арабских Эмиратах, США и Великобритании. Компании принадлежит флот современных супертанкеров. У «Saudi Aramco» имеется совместное предприятие с российской нефтяной компанией «ЛУКОЙЛ» — «Lukoil Saudi Arabia Energy Ltd.» (LUKSAR). В начале 2007 года это СП обнаружило коммерческие залежи природного газа на блоке А, расположенном в восточной части нефтегазоносного бассейна Руб аль-Хали (к югу от крупнейшего в мире нефтяного месторождения Аль-Гавар). Между правительством Саудовской Аравии и «LUKSAR» подписан договор о разработке этого блока на срок до 40 лет (общий объём инвестиций в проект, как ожидается, составит около $2 млрд.). По данным компании в 2006 году ее добыча составляла 8,9 млн баррелей нефти в день, что соответствует 443,1 млн тонн нефти в год.
Заключение
В заключении следует сравнить месторождение Гавар с Астраханским газоконденсатным месторождением.
Краткая характеристика Астраханского газоконденсатного месторождения
Астраханское газоконденсатное месторождение расположено в юго-западной прибортовой зоне Прикаспийской впадины, в 60 км к северо-востоку г. Астрахани. Открыто в 1976 году разведочной скважиной № 5-А. Залежь приурочена к сложному по строению карбонатному массиву, представленному известняками башкирского яруса среднего 40 км, тип массивно — пластовый. Глубина залегания карбона. Астраханское газоконденсатное месторождение — крупнейшее в Европе. Его запасы оцениваются в 2,5 трлн м3 газа и 400 млн т конденсата (с высоким содержанием сероводорода). Размеры залежи 100х40 км, кровли продуктивного пласта 3827-3990 м. Этаж газоносности до 250 м. Газо-водяной контакт — на глубине минус 4073 м. Добыча ведется с глубины около 4000 м. Начальное пластовое давление — 61,2 МПа. Начальная пластовая температура — 107 0С. Фильтрационно-емкостные свойства пород — коллекторов (ФЕС) — низкие (пористость — 10 %). Продуктивная толща месторождения резко неоднородна по площади и разрезу и представляет собой совокупность макрозон с повышенной продуктивностью (дебит газа 300—600 и более тыс. м3/сут.) и зон с неактивными запасами (дебит скважин ниже 50 тыс. м3/сут.) Состав пластовой смеси АГКМ Пластовая смесь АГКМ характеризуется как высокосернистая, со сложным составом. Из соединений серы, кроме H2S, среднее содержание которого по состоянию на 1.01.99 г. составляет 26,0 %об., в газе содержится аномально большое количество сероокиси углерода (около 1000 мг/м3). Содержание серы меркаптановой составляет около 2000 мг/м3, сероуглерода менее 10 мг/м3, углекислоты 12,6 %об., азота — не превышает 0,5 %об. В соответствии с "Комплексным проектом разработки Астраханского месторождения (утвержден 28.06.96r) на 1.01.99г принято удельное потенциальное содержание С5+ в пластовом газе 259 г/м3 газа сепарации. Пластовая система АГКМ находится в однофазном газообразном состоянии и недонасыщена тяжелыми углеводородами. Давление начала конденсации оценивается в 40,0 — 44,0 МПа. Состояние и основные направления освоения Астраханского газоконденсатного месторождения Разработка Астраханского месторождения начата 31 декабря 1986 году в соответствии с «Проектом опытно — промышленной эксплуатации», составленным ВНИИГАЗом в 1985 году на объем годовой добычи газа 12 млрд м3 (протокол ЦКР 45/85 от 10.06.85r). В 1996 году «Комплексный проект разработки Астраханского месторождения» выполнен ВНИИГАЗом с участием ВолгоградНИПИнефти, АНИПИгаза, ВНИПИгаздобычи, НВНИИГГ. Максимально достигнутая добыча по газу сепарации с начала ввода АГКМ в эксплуатацию приходится в 1999 году 8,7 и минимальная добыча на 1990 г. — 2,9 млрд м3. Добыча газа на АГКМ обусловлена работоспособностью перерабатывающих мощностей АГПЗ, из-за невозможности транспортировки агрессивного сырья на другие перерабатывающие заводы по магистральным трубопроводам без предварительной подготовки. Средний рабочий дебит скважин в 1998 году составил 300 тыс. м3/сут. Среднее рабочее устьевое давление и депрессия равны соответственно 26,4 и 12,7 МПа (по проекту — 24,3 и 14,6 МПа). Пластовое давление в зоне отбора АГКМ составило 53,5 МПа. Принятый вариант разработки АГКМ В качестве рекомендованного на период до 2010 года принят вариант с годовым отбором добычи газа сепарации 12 млрд.м3 (с 2002 года), предусматривающий эксплуатацию месторождения на режиме истощения при минимизации пластовых потерь конденсата путем подключения в эксплуатацию зон с высоким давлением (УППГ — 6 и 3) и максимальное использование методов воздействия на призабойные зоны скважин с целью повышения их продуктивности. Тактика разработки месторождения основывается на использовании запаса пластовой энергии до величины давления начала ретроградной конденсации. Равномерное и минимальное снижения пластового давления по площади обеспечивается за счет создания условий внутрипластовых перетоков газа из пойменной, охранной, периферийных и малопродуктивных зон. Такая тактика позволяет сохранить стабильность КГФ, снизить потери конденсата, а также отодвинуть сроки строительства ДКС.
Бурение эксплуатационных скважин. На Астраханском ГКМ для бурения эксплуатационных скважин используются буровые установки класса БУ-5000 ДГУ-1 Уралмаш БУ ЗД-76 и Уралмаш БУ 4Э-76 с вышками башенного типа ВБ-53-320 М, оборудованные подъемниками типа У2-5-5, КП-2-3. Буровая установка включает в себя: а) насосный блок, отнесенный в целях безопасности на 30 м от устья скважины; б) узел приготовления и утяжеления бурового раствора, состоящий из: 1. Блока приготовления раствора БПР. 2. Глиномешалки ГМ-1 3. Гидромешалки типа ГДМ-1 4. 9-ти запасных емкостей для раствора (У=360 мЗ), снабженных каждая гидроперемешивателями типа 4УПГ. Типовая конструкция скважины— направление шахтное — 720 мм 0-11 м — направление удлиненное — 630 мм 11-50 м — кондуктор — 426 мм 350 м — 1 промежуточная колонна — 324 мм 2000 м — 2 промежуточная колонна — 244,5 мм 3850 м — эксплуатационная колонна — 177,8 мм 4050 м Испытание скважины. После окончания бурения скважины заключительных промыслово-геофизических работ, спуска эксплуатационной колонны и ее цементирования производится опробование в интервале 4050-3950 м. Вскрытие продуктивного пласта в колонне производится перфоратором 3ПКО из расчета 12 отверстий на 1 п.м. Исследование скважины на приток производится через сепарационную установку «Порта-Тест» на шести режимах путем смены стационарных режимов фильтрации на штуцерах от 8 до 22 мм. Освоение скважины. Освоение скважин производится с целью получения промышленных притоков газа и газоконденсата и является составной частью испытания скважин перед сдачей их в эксплуатацию, включает в себя работы по вызову притока пластовых флюидов, очистки призабойной зоны от фильтратов промывочной жидкости, искусственному воздействию на призабойную зону и отработке скважины. Все виды по освоению скважин осуществляются в соответствии с действующими РД и «Временным технологическим регламентом на освоение скважин Астраханского ГКМ» согласно индивидуальным планам на каждую скважину, утверждаемым главным инженером и главным геологом предприятия. Планами предусматривается выполнение работ по: — подготовке скважины к освоению; — инициированию (возбуждению) притока; — отработке скважины (очистке призабойной зоны); — установке подземного скважинного оборудования. При получении притока газа ниже проектного: — проведение дополнительной соляно-кислотной обработки призабойной зоны по отдельному плану. Технология освоения скважины: 1. Освоение скважины при Рпл > Ргидр. заменой бурового раствора на техническую воду и метанол по завершении монтажа и опрессовки фонтанной арматуры и отводов. 2. Распакеровка пакера производится путем сброса шара и создания избыточного давления согласно инструкции службы поставщика. 3. Осуществляется отработка скважины отдувкой в земляной амбар со сжиганием пластовой продукции, продолжительность отдувки — до получения чистого газа. 4. При отсутствии притока (слабом притоке) в зоне перфорации закачивается 10-15м3 солярки(нефти) и 60-100мЗ ингибированной соляной кислоты с обеспечением гидроразрыва пласта. Через 2-6 часов по завершении цродавки кислоты в пласт приступают к отдувке скважины. 5. После отработки скважины в амбар производится переключение потока на технологическую линию (на установку Порта-Тест) для выполнения газодинамических и газоконденсатных исследований. 6. В процессе отработки скважины и проведения исследований осуществляется подача в затрубное пространство ингибитора коррозии 5-10 % раствора Додиген 4482-1 сопс, Sepacorr CE 5479 AM, TYPE 932. 7. При получении притока ниже проектного проводится дополнительная обработка скважины по отдельному плану.
Добыча, сбор и транспорт продукции скважин на ГПЗ По состоянию на 1.10.99 года, на Астраханском промысле находится 178 скважины, в том числе: — эксплуатационных — 130 — наблюдательных — 26 — специальных технологических — 20, действуют 5 УППГ (1, 2, 4, 6, 9), УППГ — 3А находится в стадии строительства. Дебиты эксплуатационных скважин составляют от 100 до 500 тыс. м3/сутки. Пластовая газожидкостная смесь (ГЖС) по колонне насосно-компрессорных труб поднимается к устью скважины. Отсюда с давлением 16 ÷ 32 МПа она поступает на первую ступень подогрева. После подогрева до температуры 60 ÷ 70 °C ГЖС проходит автоматический дросселирующий клапан — регулятор, на котором давление снижается до 7.9 ÷ 10.3 МПа, и поступает на вторую ступень подогрева. Со второй ступени подогрева с температурой 60 ÷ 70 °C ГЖС через замерную диафрагму подаётся в шлейф (шлейфы длиной до 2-х км имеют диаметр 114 х 8.6 мм, а длиной свыше 2-х км — 168 х 10.97 мм) и по нему поступает на блок входных манифольдов (БВМ) на площадке установки предварительной подготовки газа (УППГ). БВМ позволяет направить продукцию скважины или в сборный коллектор, или на контрольный сепаратор для замера её дебита, или через факельный сепаратор на факел. На площадке УППГ расположена установка приготовления раствора ингибитора коррозии и технологическая насосная для его подачи в затруб скважин и газоконденсатопроводы. С УППГ продукция скважин по газоконденсатопроводу Dy = 400 подаётся на газоперерабатывающий завод. На I очереди промысла с каждого УППГ проложены две нитки газоконденсатопроводов, а с УППГ II очереди — по одной. Расчётное давление газоконденсатопроводов 12 МПа. Расход скважин регулируется ЭВМ по системе ТМ/ТУ таким образом, чтобы на входе на ГПЗ давление ГЖС находилось в пределах 6.8 ÷ 7.0 МПа, а температура в пределах 30 ÷ 35 °C. Система ТМ/ТУ позволяет осуществлять оперативный контроль и управление технологическим процессом добычи, сбора и транспорта ГЖС, а также отключать промысловые объекты при достижении критических параметров. Система автоматики питается очищенным газом, подаваемым на промысел с ГПЗ под давлением 5.5 МПа. Для снижения вредных выбросов в атмосферу отдувка скважин после КРС, интенсификации и периодического ингибирования НКТ производится в подземные ёмкости. Контроль за содержанием сероводорода в воздухе осуществляется стационарными датчиками, установленными на площадке скважины, площадке УППГ и по периметру промысла. Сигналы от них поступают как на центральную ЭВМ так и в операторную УППГ. В работе находятся пять УППГ суммарной производительностью (проектной) до 10.5 млрд м3 отсепарированного газа в год.















