96784 (703133), страница 2
Текст из файла (страница 2)
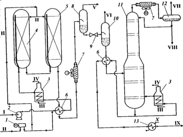
В инжекторном смесителе 4 нефть перемешивается с раствором щелочи и циркулирующей водой VII, и смесь подается в нижнюю часть электродегидратора 5 через трубчатый распределитель с перфорированными горизонтальными отводами. Обессоленная нефть VI выводится из электродегидратора сверху через коллектор, конструкция которого аналогична распределителю. Благодаря такому расположению устройств ввода и вывода нефти обеспечивается равномерность потока по всему сечению аппарата. Отстоявшаяся вода отводится через дренажные коллекторы или отстойник 7 (из отстойника вода возвращается в процесс). Часть воды из отстойника сбрасывается в заводскую канализацию, что необходимо для снижения концентрации солей. Убыль воды восполняется подачей воды со второй ступени.
Из электродегидратора 5 сверху не полностью обезвоженная нефть поступает под давлением в электродегидратор второй ступени 10. Перед этим электродегидратором нефть смешивается со свежей водой IV в диафрагмовом смесителе 9. Вода для промывки предварительно подогревается до температуры 65—70 0С. Обессоленная и обезвоженная нефть III из верхней части электродегидратора II второй ступени отводится с установки.
Принципиальная схема электрообессоливающей установки: / — насос-дозатор; 2,6— насосы: 3 — теплообменник; 4— инжекторный смеситель; 5, II — электродегитраторы; 7— отстойник; 8 — автоматический клапан; 9 — диа-фрагмовый смеситель; 10— электрод; 1 — сырая нефть; II — деэмульгатор; 111 — обессоленная нефть; IV — чистая вода; V — раствор щелочи; VI — частично обессоленная нефть; VII — циркулирующая вода; VIII — эмульсия нефти в воде; IX — вода в заводскую канализацию
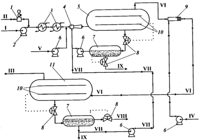
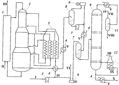
Технологическая схема установки первичной перегонки нефти
Нефть I проходит теплообменники 1 и 2, где подогревается за счет тепла отходящих продуктов, после чего поступает в отбензинивающую колонну 3. В колонне 3 из нефти выделяется легкая бензиновая фракция, которая охлаждается в воздушном холодильнике 5, конденсируется в холодильнике 4 и собирается в емкости орошения 6, откуда через отстойник 8 подается в стабилизатор бензина 11. В емкости орошения выделяется также газ IV, направляемый на компримирование.Полуотбензиненная нефть из нижней части колонны 3 направляется через трубчатую печь 9 в атмосферную колонну 10. Часть потока полуотбензиненной нефти подогревается в печи 9 и возвращается в отбензинивающую колонну 3, сообщая дополнительное количество тепла, необходимое для ректификации. В колонне 10 нефть разделяется на несколько фракций. Из верхней части колонны 10 в паровой фазе уходит тяжелый бензин, который конденсируется в холодильнике 4, а затем поступает в стабилизатор 11. Кубовый остаток стабилизатора подогревается в печи 13. В качестве боковых погонов из колонны 10 выво дятся керосиновая X и дизельная VIII фракции, которые первоначально подаются в секции отпарных колонн 11, в которых в присутствии водяного пара удаляются легкие фракции. Затем керосиновая и дизельная фракции выводятся с установки. Из нижней части колонны 10 выходит мазут XVI, который через печь 15 подается в колонну вакуумной перегонки 16, где разделяется на вакуумные дистилляты XI и гудрон II. Из верхней части колонны 16 с помощью пароэжекторного насоса 14 отсасываются водяные пары, газы термической деструкции, воздух и некоторое количество легких нефтепродуктов (дизельная фракция). Вакуумный дистиллят XI и гудрон II через теплообменники подогрева нефти 1, 2 уходят с установки.
Схема установки атмосферно-вакуумной перегонки нефти: /, 2, 12 — теплообменники; 3 — отбензиниваюшая колонна; 4 — холодильник; 5 — воздушный холодильник; 6— емкость орошения; 7 — насос; 8— отстойник; 9, 13, 15 — печи нагрева сырья; 10 — атмосферная колонна с отпарными колоннами; // — стабилизатор бензина; 14 — пароэжекторный насос; 16 — вакуумная колонна; 17— концевые холодильники; I — нефть; II — гудрон; III — сброс воды в канализацию; IV — газ на газофракционирующую установку; V — пар водяной; VI — газы эжекции на утилизацию; VII — головная фракция стабилизации на газофракционирующую установку; VIII — дизельная фракция; IX — бензин; X — керосин; XI — вакуумный дистиллят; XII — топливный газ; XIII — дымовые газы; XIV — циркуляционное орошение; XV — вода; XVI — мазут
Для снижения температуры в кубе и более полного извлечения дистиллятных фракций в колонны 10 и 16 подается водяной пар V. Избыточное тепло в них снимается циркуляционными орошениями XIV.В стабилизаторе 11 из верхней части отбирают «головку стабилизации» — сжиженный углеводородный газ VII, а из куба — стабильный бензин IX, не содержащий газообразных углеводородов. При работе по этой схеме следует нагревать нефть в печи до более высокой температуры, чем при однократном испарении вследствие раздельного испарения легких и тяжелых фракций. Кроме того, установка оборудована дополнительной аппаратурой — колонной, насосами печными и для подачи орошения, конденсаторами-холодильниками.
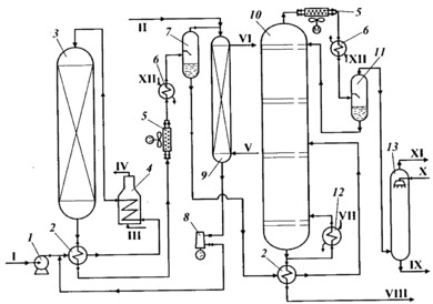
Технологическая схема гидроочистки топлив
Сырьем служат прямогонные фракции с содержанием серы до 2,4 % мае., полученные из х нефтей, а также смеси прямогонных фракций и соответствующих дистиллятов вторичного происхождения. Установка имеет два блока, позволяющих перерабатывать два вида сырья раздельно, но имеющих некоторые общие элементы, в частности, узел регенерации моноэтаноламина, используемого для очистки циркулирующего газа от сероводорода.
Сырье I насосом 2 подают через теплообменник в трубчатую печь 3. В линию насоса врезана линия водородсодержащего газа II от компрессора 1. Нагретая до температуры 360—380 °С смесь сырья и циркулирующего газа проходит последовательно два реактора 4 и 5. Реакторы заполнены катализатором (алюмоникельмолибденовым или алюмокобальтмолиб-деновым). Предусмотрена возможность съема избыточного тепла реакции путем подачи в реакторы части холодного водородсодержащего газа. Продукты реакции в виде парогазовой смеси выходят из реактора 5, отдают часть тепла газосырьевой смеси, проходя через межтрубное пространство теплообменника 6, охлаждаются в воздушном холодильнике 7. Смесь поступает в сепаратор высокого давления 8, где от продуктов реакции отделяется водородсодержащий газ V, обогащенный сероводородом. Затем смесь из 8 попадает в сепаратор низкого давления 10, где вновь происходит выделение сероводорода и части углеводородных газов VI. Газы из сепараторов 8 и 10 уходят сверху и направляются на очистку моноэтаноламином и выделение сероводорода. Блок очистки газов от сероводрода моноэтаноламином описан в главе 2. В очищенный водородсодержащий газ добавляют водород для восполнения его расхода на гидроочистку.
В продуктовой смеси, выходящей снизу из сепаратора 10, помимо целевой фракции дизельного топлива, содержится некоторое количество легких продуктов — тяжелые газовые компоненты и бензиновые фракции VIII. Чтобы отделить эти фракции, жидкие продукты направляют через теплообменник в стабилизационную колонну 11. Отпаривание легких фракций проводят, возвращая часть дизельного топлива из колонны 11 в печь. Балансовое количество гидроочищенного дизельного то плива IX проходит теплообменник 13 и уходит с установки. Углеводородные газы VII направляются на газофракционирующую установку.
Гидроочистку тяжелых дистиллятов деструктивных процессов (коксования, висбрекинга) обычно проводят в смеси с прямогонными дистиллятами в количестве до 30 % мас.
Гидроочистка масляных фракций применяется для осветления и улучшения их стабильности против окисления. Одновременно уменьшается их коксуемость и содержание серы (глубина обессеривания 30—40 %); температура застывания масла повышается на I —3 °С. Выход дистиллятных и остаточных рафинатов составляет более 97 % мас.
Технологическая схема установки гидроочистки топлив: / — компрессор; 2— насос; 3— печь; 4, 5— реакторы; 6— теплообменник; 7— аппарат воздушного охлаждения; 8 — сепаратор высокого давления; 9 — дроссельный вентиль; 10 — сепаратор низкого давления; // — стабилизационная колонна; 12 — сепаратор; 13 — холодильник; 1 — сырье; II — свежий водородсодержащий газ; III — топливный газ; IV — дымовые газы; V — водородсодержащий газ на очистку; VI — углеводородный газ; VII — газ стабилизации; VIII — бензин; IX — дизельное топливо; X — вода
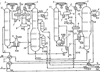
Технологическая схема каталитического риформинга
Основное назначение процесса риформинга – получение высококтанового компонента товарных автомобильных топлив из низкооктановых тяжелых бензинов за счет их ароматизации. Сырьем установки является бензин 85-1800С, мощность установки 1 млн. т в год. Катализатор – биметаллический, шариковый.
Сырье I смешивается с циркулирующим водородсодержащим газом IV. Далее реакционная смесь нагревается в теплообменнике 4 и печи 5 и поступает в верхнюю секцию реактора 2. Переменный диаметр реактора позволяет неравномерно распределять катализатор между секциями в соответствии с протекающими реакциями. Продукты из нижней части реактора 2 проходят теплообменники 4. Первое разделение жидкой и газовой фаз происходит в газовом сепараторе низкого давления 8(при 1 МПа). Газ из этого газового сепаратора компримируют компрессором 6 до давления 1,5 МПа, вновь смешивают с жидкой фазой, подаваемой из газового сепаратора 8, и разделяют смесь в газовом сепараторе высокого давления 7. Подобное решение узла сепарации, вызванное низким давлением в реакционной зоне, снижает унос бензина с водородсодержащим газом и повышает содержание в нем водорода. В колонне 9 осуществляют стабилизацию катали-зата при давлении 0,8—0,9 МПа. Из верхней части колонны уходят углеводородный газ VII и головная фракция VIII, которые передаются на газофракционирующую установку, а стабильный катализат отбирается снизу колонны.
Регенератор 1 представляет собой аппарат с радиальным потоком реакционных газов, разделенный на три технологические зоны. В верхней зоне при мольном содержании кислорода 1 % об. в газе-окислителе происходит выжиг кокса. В средней зоне при содержании кислорода 10—20 % об. и подаче хлорорганических соединений происходит окислительное хлорирование катализатора. В третьей нижней зоне катализатор дополнительно прокаливают в токе сухого воздуха.
Схема установки риформинга с движущимся слоем катализатора: 1 — секция регенерации; 2 — реактор; 3 — насос; 4 — теплообменник; 5 — многосекционная печь; 6— компрессор; 7— газосепаратор высокого давления; 8— газосепаратор низкого давления; 9 — колонна стабилизации; 10 — холодильник; 11 — сепаратор; 12— трубчатая печь; I — сырье; II—воздух; III — дымовые газы; IV — циркулирующий газ; V — вода; VI — водород заводским потребителям; VII — газообразные углеводороды; VIII — нестабильная головная фракция; IX — топливный газ; X — стабильный катализат
Технологическая схема изомеризации бензиновых фракций
Процесс изомеризации служит для получения высокооктановых компонентов автомобильных топлив на бифункциональном катализаторе, содержащем платину на оксиде алюминия. Процесс проходит при температурах 350—400 °С и давлении 3—3,5 МПа, объемная скорость подачи сырья составляет 1,5—2,0 ч-1. Для подавления побочных реакций расщепления осуществляют циркуляцию водородсодержащего газа в объеме 900 нм3 на 1 м3 жидкого сырья.
Исходная пентановая фракция поступает на изомеризацию с центральной газофракционирующей установки (ЦГФУ), схема которой рассмотрена в главе 2. Сырье I, подаваемое насосом 1, смешивается с водородсодержащим газом, нагревается в теплообменнике 2 и далее через змеевик трубчатой печи 4 поступает в реактор 3, заполненный катализатором. В начале работы температура в реакторе около 380 0С, а в конце вследствие некоторого дезактивиро-вания катализатора она поднимается до температуры 430—450 0С.
Технологическая схема установки изомеризации: / — насос; 2 — теплообменник; 3 — реактор; 4 — печь; 5 — аппарат воздушного охлаждения; 6 — холодильник; 7— сепаратор водородсодержащего газа; 8— компрессор водородсодержащего газа; 9 — адсорбер-осушитель газа; 10 — стабилизационная колонна; // — сепаратор углеводородного газа; 12 — кипятильник; 13 — абсорбер изопен-тана; I — сырье; II — водород; III — топливный газ; IV — дымовые газы; V — сухой воздух для регенерации адсорбента; VI — влажный воздух; VII — пар; VIII — стабильный изомеризат; IX — насыщенный абсорбент; X — гексановая фракция (абсорбент); XI — жирный газ; XII — вода
Парогазовая смесь продуктов реакции охлаждается и конденсируется в аппаратах воздушного охлаждения 5 и водяном холодильнике 6. В газовом сепараторе 7 отделяется водородсодержащий газ, который, смешиваясь со свежим водородсодержащим газом II, проходит адсорбер 9, заполненный цеолитом для удаления влаги. Осушенный газ поступает на прием компрессора 8. Нестабильный изомеризат забирается из нижней части сепаратора 7, подогревается в теплообменнике 2 и подвергается стабилизации в колонне 10, из верхней секции которой уходит углеводородный газ XI, а из нижней — стабильный изомеризат VIII, направляемый на разделение на ЦГФУ.















