63880 (695484)
Текст из файла
Содержание
Введение
-
Прямые цифровые синтезаторы частоты (DDS)
-
Цифровые синтезаторы частоты с косвенным синтезом (ФАПЧ)
Заключение
Список литературы
Введение
Радиопередающие устройства (РПдУ) применяются в сферах телекоммуникации, телевизионного и радиовещания, радиолокации, радионавигации. Стремительное развитие микроэлектроники, аналоговой и цифровой микросхемотехники, микропроцессорной и компьютерной техники оказывает существенное влияние на развитие радиопередающей техники как с точки зрения резкого увеличения функциональных возможностей, так и с точки зрения улучшения ее эксплуатационных показателей. Это достигается за счет использования новых принципов построения структурных схем передатчиков и схемотехнической реализации отдельных их узлов, реализующих цифровые способы формирования, обработки и преобразования колебаний и сигналов, имеющих различные частоты и уровни мощности.
В области телекоммуникаций и вещания можно выделить следующие основные непрерывно возрастающие требования к системам передачи информации, элементами которых являются РПдУ:
- обеспечение помехоустойчивости в перегруженном радиоэфире;
- повышение пропускной способности каналов;
- экономичность использования частотного ресурса при многоканальной связи;
- улучшение качества сигналов и электромагнитной совместимости.
Стремление удовлетворить этим требованиям приводит к появлению новых стандартов связи и вещания. Среди уже известных GSM, DECT, SmarTrunk II, TETRA, DRM и др.
-
Прямые цифровые синтезаторы частоты (DDS)
Прямые цифровые синтезаторы частоты (DDS) появились на рынке изделий микроэлектроники в начале 90-х годов, и с тех пор их популярность неизменно возрастает. Это объясняется их уникальными свойствами, недоступными обычным синтезаторам частот косвенного синтеза. Диапазон перестройки такого синтезатора может быть непрерывным от долей Гц до десятков МГц, при этом точность установки частоты и шаг перестройки составляет сотые доли Гц, а скорость перестройки частоты измеряется наносекундами (и при этом нет разрыва фазы). Многие из имеющихся синтезаторов способны формировать квадратурные сигналы с высочайшей точностью сдвига фазы между ними во всем рабочем диапазоне, а также обеспечивают цифровую частотную и фазовую манипуляцию (возможен и линейный переход к следующему значению частоты или фазы), а также цифровую квадратурную амплитудную модуляцию.
Вместе с тем, таким синтезаторам свойственны все недостатки цифровых устройств обработки сигналов: шум квантования, наложение спектров цифрового сигнала, ограниченная верхняя рабочая частота и пр.
Рис.2.4.1.1.
Рассмотрим работу структуры DDS, показанную на рис.2.4.1.1. Такая структура (за исключением ЦАП) называется генератором с цифровым управлением (NCO). Выпускаются и микросхемы NCO, в состав которых не входит, по сравнению с DDS, только ЦАП.
Сердцем такой структуры является фазовый аккумулятор, в котором сумматор фазы каждый такт задающего генератора прибавляет к текущему значению фазы число, записанное в регистре приращения фазы. Полученное новое значение фазы сохраняется в регистре текущего значения фазы. Таким образом, фаза постоянно линейно возрастает. Разрядность аккумулятора фазы велика (например, 32 разряда), но конечна, поэтому периодически происходят его переполнения, в результате которых цифровое значение фазы обнуляется, как показано на рис.2.4.1.2. Текущее значение фазы из регистра подается к перекодировочной таблице синусов, которая из себя представляет обыкновенное ПЗУ. В таком ПЗУ значения фазы являются адресами ячеек, где записаны соответствующие каждой фазе мгновенные значения синусоиды. В результате на выходе перекодировочной таблицы появляются цифровые отсчеты мгновенных значений синусоиды, которые быстродействующий ЦАП превращает в колебание тока синусоидальной формы. Разумеется, на выходе такого ЦАП устанавливают фильтр, который выделяет синусоидальное колебание нужной частоты (основной частоты или одного из высокочастотных «образов»).
Рис.2.4.1.2.
Пусть в регистре приращения фазы записано число М, разрядность аккумулятора фазы равна n, а частота задающего генератора Fт. При этом очевидна формула, определяющая выходную частоту синтезатора:
Fвых = (М*Fт) / 2n.
Итак, шаг по частоте здесь равен Fт / 2n , что при n = 32 и тактовой частоте 50 МГц приводит к значению шага 0.01 Гц.
Наивысшая синтезируемая частота DDS обычно бывает равна 0.4Fт. Это обусловлено требованиями к фильтрации побочных продуктов синтеза («образов» сигнала). Для того, чтобы сменить рабочую частоту, необходимо только записать новое значение приращения фазы (оно имеет смысл кода частоты) в регистр приращения. Смена частоты произойдет с нового отсчета без разрыва фазы.
Необходимо отметить, что для адресации перекодировочной таблицы используются не все разряды аккумулятора фазы, а только часть старших (например, 12). Это не ведет к существенному ухудшению точности синтеза синусоиды, но уменьшает емкость перекодировочной таблицы. Разрядность кода фазы должна быть на 2-3 разряда больше разрядности ЦАП, т.к. дальнейшее увеличение разрядности не приводит к снижению шумов из-за эффекта квантования ЦАП. Разрядность ЦАП и определяет уровень побочных составляющих выходного сигнала DDS (см. спектр сигнала DDS на рис.2.4.1.3):
- 50 дБ относительно несущей для 8-разрядного ЦАП,
- 60 дБ относительно несущей для 10-разрядного ЦАП,
- 70 дБ относительно несущей для 12-разрядного ЦАП.
Для уменьшения отдельных паразитных частотных составляющих можно их «размыть», добавив к фазовой информации псевдослучайный сигнал (шумовой). При этом, конечно, общий шум возрастает, а его отдельные компоненты понижаются.
Рис.2.4.1.3.
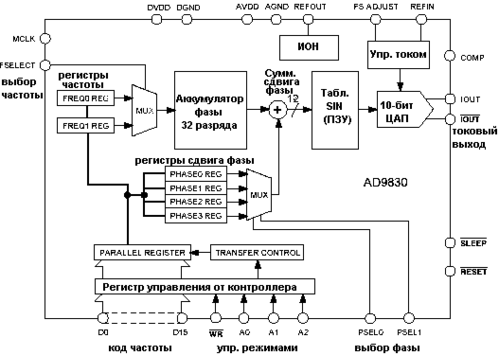
Структурная схема одного из самых простых DDS AD9830 показана на рис.2.4.1.4. От типовой структуры DDS, рассмотренной нами выше, он отличается наличием встроенных средств для частотной и фазовой манипуляции. Чтобы упростить двухпозиционную частотную манипуляцию (2-FSK), введен еще один регистр частоты, а выбор синтезируемой частоты осуществляется сменой бита на соответствующем выводе синтезатора. Для осуществления четырехпозиционной фазовой манипуляции введены 4 регистра сдвига фазы и дополнительный сумматор сдвига фазы, который прибавляет значение сдвига фазы, записанное в одном из регистров, к выходному коду аккумулятора фазы. Выбор конкретного регистра осуществляется сменой битов на двух выводах синтезатора. Этот DDS работает с максимальной тактовой частотой 50 МГц, имеет только параллельную загрузку данных, потребляет 250 мВт от источника +5 В. Его свободный от паразитных составляющих динамический диапазон составляет 72 дБ.
Рис.2.4.1.4.
Приведем список некоторых (не всех) дополнительных возможностей современных DDS (AD983x, AD985x и др.).
-
Встроенный умножитель тактовой частоты с ФАПЧ.
-
Дополнительный сумматор для сдвига фазы.
-
Дополнительные регистры для частотной манипуляции.
-
Средства для осуществления сглаженной частотной манипуляции с программируемой скоростью перестройки частоты.
-
Дополнительные цифровые квадратурные амплитудные модуляторы для синтеза с амплитудно-фазовыми видами модуляции (AM, N-QAM, SSB и др.).
-
Выходы квадратурных ВЧ сигналов.
-
Фильтры предкоррекции x / sin(x) для компенсации частотного ската АЧХ ЦАП.
-
Дополнительный компаратор в системе умножения частоты опорного сигнала для уменьшения его фазовых шумов («jitter»).
-
Последовательный и параллельный регистры загрузки данных.
Рис.2.4.1.5.
В качестве примера приведем структурную схему DDS AD7008, имеющую встроенные средства квадратурной цифровой амплитудной модуляции (с цифровыми перемножителями квадратурных сигналов) и цифровое объединение квадратур перед подачей их на ЦАП.
Для более подробного изучения возможностей современных DDS рекомендуем обратиться к материалам по ИМС AD9850-AD9854.
-
Цифровые синтезаторы частоты с косвенным синтезом (ФАПЧ)
Несмотря на то, что прямые цифровые синтезаторы активно вытесняют традиционные косвенные синтезаторы из их традиционных областей применения, последние остаются непревзойденными по ряду параметров и вряд ли когда-нибудь будут заменены на DDS полностью. В табл.2.4.2.1 даны сравнительные характеристики этих двух типов синтезаторов частоты.
Табл.2.4.2.1.
| Преимущества синтезаторов DDS | Преимущества синтезаторов с ФАПЧ |
| 1. Перекрытие по частоте - синтезируется частота от долей Гц до десятков МГц, тогда как у синтезаторов с ФАПЧ частотный диапазон составляет 10-3...10-1 от центральной частоты. | 1. Чистота спектра выходного сигнала: SFDR до -120 дБ за счет малого уровня фазовых шумов (у DDS до -75 дБ). |
| 2. Точность установки частоты - сотые или тысячные доли Гц, а у синтезаторов с ФАПЧ - десятки Гц на тех же рабочих частотах. | 2. Высокая рабочая частота - до единиц ГГц, у DDS - десятки МГц. |
| 3. Шаг (разрешение) по частоте - тысячные доли Гц. | 3. Потребляемая мощность - единицы-десятки мВт (DDS - сотни мВт, даже около 1 Вт). |
| 4. Скорость перестройки частоты - один период тактовой частоты DDS (5...40 нс), а у синтезаторов с ФАПЧ - сотые доли секунды при равных условиях | 4. Низкая стоимость по сравнению с DDS (стоимость DDS - 15...25$). |
| 5. Цифровое управление частотой и фазой, частотная и фазовая модуляция без разрыва фазы, у косвенных синтезаторов - прямое управление только частотой. | |
| 6. Синтез квадратурных сигналов с цифровой точностью фазового сдвига 90о. | |
| 7. Квадратурная АМ. | |
| 8. Габариты - всё в одном корпусе ИМС. |
Таким образом, синтезаторы с косвенным синтезом (на основе петли ФАПЧ) незаменимы в ОВЧ-СВЧ-генераторах, гетеродинах высокочувствительных приемников и передатчиков, к которым предъявляются жесткие требования по чистоте спектра сигнала.
Рассмотрим структуру простейшего синтезатора частоты с косвенным методом синтеза (рис.2.4.2.1). Принцип работы этой схемы хорошо известен: частотно-фазовый детектор (ЧФД) подстраивает частоту генератора, управляемого напряжением (ГУН) до тех пор, пока не буде выполнено равенство
F0 / M = Fвых / N, тогда Fвых = (F0 / M)*N.
Здесь (F0 / M) имеет смысл шага перестройки по частоте синтезатора. Петлевой фильтр обеспечивает заданные динамические характеристики и устойчивость петли ФАПЧ. Периодическая модуляция частоты в такой схеме (эта схема применяется, например, в цифровых передатчиках системы DECT не частоте 1.9 ГГц) осуществляется после достижения установившегося значения средней частоты ГУН. Для этого петля ФАПЧ размыкается путем установления выхода ЧФД в третье состояние, затем через гауссовский фильтр на ГУН подается пачка модулирующих частоту импульсов, после чего петля ФАПЧ снова замыкается и производится подстройка среднего значения частоты.
Рис.2.4.2.1.
Характеристики
Тип файла документ
Документы такого типа открываются такими программами, как Microsoft Office Word на компьютерах Windows, Apple Pages на компьютерах Mac, Open Office - бесплатная альтернатива на различных платформах, в том числе Linux. Наиболее простым и современным решением будут Google документы, так как открываются онлайн без скачивания прямо в браузере на любой платформе. Существуют российские качественные аналоги, например от Яндекса.
Будьте внимательны на мобильных устройствах, так как там используются упрощённый функционал даже в официальном приложении от Microsoft, поэтому для просмотра скачивайте PDF-версию. А если нужно редактировать файл, то используйте оригинальный файл.
Файлы такого типа обычно разбиты на страницы, а текст может быть форматированным (жирный, курсив, выбор шрифта, таблицы и т.п.), а также в него можно добавлять изображения. Формат идеально подходит для рефератов, докладов и РПЗ курсовых проектов, которые необходимо распечатать. Кстати перед печатью также сохраняйте файл в PDF, так как принтер может начудить со шрифтами.
















