63822 (695464)
Текст из файла
КОНТРОЛЬНАЯ РАБОТА ПО ТЕМЕ:
Особенности записи сигналов изображения
Введение
Физические процессы, протекающие при магнитной записи сигналов изображения (видеосигналов), такие же, как при записи звуковых сигналов. Однако, отличие характеристик этих сигналов вынуждает изменять технические решения при конструировании видеомагнитофонов.
1. Особенности видеосигналов и трудности, возникающие при их записи
Сигналы изображения в принятой у нас системе «SECAM» занимают полосу частот от 50 Гц до 6.5 МГц, т.е. частотный интервал ~ 17 октав. Звуковые сигналы занимают полосу частот 20 Гц – 20 кГц или ~ 10 октав.
Таким образом, частотный интервал видеосигнала превышает частотный интервал звукового сигнала на 7 октав. Это и создаёт основные трудности при магнитной записи.
Верхней частоте спектра видеосигнала 6.5 МГц должна соответствовать минимальная длина волны записи. Разрешающая способность магнитного носителя позволяет записать сигнал с длиной волны
мкм.
Зная частоту и длину волны, определим необходимую скорость движения магнитного носителя
м/с. Это – огромная скорость. Так, для записи фильма длительностью в 1 час понадобится ~ 70 км магнитной ленты.
Лента толщиной 40 мкм, намотаная на сердечник диаметром 10 см, при такой длине образует рулон диаметром 1.9 м, масса которого ~ 50 кг. Работать с таким рулоном невозможно.
Поэтому продольную запись на магнитную ленту применять в видеомагнитофонах нельзя.
Частотный интервал шириной в 17 октав не сможет записать ни одна магнитная головка. Возникает проблема, как уменьшить относительную ширину спектра записываемого сигнала?
Первая задача – сокращение расхода ленты, была решена в 1956 г. сотрудниками фирмы АМРЕХ Ч. Гинсбургом и Ч. Андерсеном (фирма основана в начале 40-х г.г. русским изобретателем А.М.Понятовым). Они обеспечили высокую скорость «головка – лента» при медленном движении ленты путем поперечной записи на широкую (2”) ленту головками, установленными на вращающемся барабане.
Согласование полосы частот видеосигнала с полосой пропускания магнитных головок было достигнуто переносом спектра видеосигнала на более высокие частоты, используя частотную модуляцию с малым индексом. Однако, заправка ленты в магнитофон оказалась слишком сложной. Поэтому эксплуатировать такой магнитофон могли только профессионалы.
Следующим важным шагом в развитии техники видеозаписи было появление в 1961 году наклонно-строчной записи. Но и такие магнитофоны не стали популярными из-за сложности зарядки. В 1971 г. фирма Sony выпустила первые кассетные видеомагнитофоны, что существенно упростило зарядку ленты в магнитофон.
В это время появилось несколько форматов наклонно-строчной записи. Но, со временем, победу в конкурентной борьбе одержал формат VHS, предложенный в 1976 г. инженером фирмы JVC Шизуо Такано. Видеомагнитофон становится не только профессиональным, но и бытовым прибором.
В нашей стране первым бытовым видеомагнитофоном формата VHS был «Электроника ВМ-12», выпущенный в 1983 г.
2. Наклонно-строчная запись
При наклонно-строчной записи ось барабана с головками не прерпендикулярна направлению движения ленты. Поэтому дорожки записи расположены под некоторым углом θ к направлению движения ленты (см. рис. 1).
р
θ
l
х
w
Рисунок 1
Получим основные соотношения, характеризующие наклонно-строчной формат записи.
Если длительность одного поля (т.е.полукадра) – Т, то длина строки
, где
- скорость головки относительно ленты,
- верхняя частота спектра сигнала,
- минимально допустимая длина волны записи. Если поле разбито на S сегментов, то
.
Определим необходимое число оборотов барабана с головками. Если головка одна и один сегмент, то число оборотов
. Если головок
, то
. Наконец, если сегментов S, то
об/с.
Определим необходимый диаметр барабана D. Скорость головки относительно ленты
. Откуда
.
Теперь можем найти необходимую скорость движения ленты Vл. Из рис. 1 следует, что:
или
.
Откуда:
.
Для получения устойчивой синхронизации строк необходимо, чтобы строчные синхроимпульсы располагались на одном перпендикуляре к направлению дорожки записи (условие строчной корреляции). Это налагает дополнительное требование на отношение скоростей:
.
3. Структурная схема видеомагнитофона
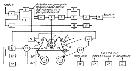
Укрупненная структурная схема видеомагнитофона представлена на рис. 2.
Рисунок 2 - Структурная схема видеомагнитофона: 1 – радиоприёмное устройство, 2 – канал записи сигнала яркости, 3 – канал записи сигналов цветности; 4,9 – сумматоры; 5,12 – коммутаторы; 6 – предварительный усилитель воспризводимого сигнала; 7 – канал воспроизведения сигнала яркости; 8 – канал воспроизведения сигналов цветности; 10 – радиопередающее устройство; 11 – канал записи звукового сопровождения; 13 – канал воспроизведения звукового сопровождения; 14 – генератор стирания-подмагничивания; 15 – стирающие головки; 16 – БВГ; 17 – видеоголовки; 18 – звуковая головка; 19 – синхроголовка; 20 –САР ведущего вала; 21 – САР БВГ; 22 – двигатель БВГ; 23 – тахогенератор ведущего вала; 24 – блок ведущего вала; 25 – датчик положения ротора БВГ; 26 – магнитная лента; 27 – ЛПМ; 28- стабилизатор напряжения питания; 29 – блок автоматики; 30 – таймер, 31 – блок коммутации; 32 – датчик сигналов с частотой 25 Гц
Радиоприёмное устройство 1 выделяет и усиливает сигнал выбранного канала, принятый антенной. Преобразует его в колебания промежуточной частоты изображения и звука.
Детектирует сигналы промежуточной частоты. На выходе приёмного устройства получаем полный цветной телевизионный сигнал изображения (ПЦТС) и сигнал звукового сопровождения.
В канале записи из ПЦТС при помощи фильтров выделяется сигнал яркости и сигнал цветности. АЧХ фильтров изображены на рис. 3, где
МГц,
МГц и
МГц.
Рисунок 3
Сигнал яркости, полученный на выходе фильтра нижних частот, усиливается, ограничивается, в сигнал вносят предискажения и подают на частотный модулятор.
С выхода частотного модулятора сигнал через фильтр верхних частот подается на сумматор 4.
Сигнал цветности с выхода полосового фильтра поступает на смеситель (или делитель частоты на 4) . На второй вход смесителя подаётся сигнал гетеродина, частота которого 5.06 МГц. ФНЧ, частота среза которого 1.1 МГц, выделяется разностная частота.
Таким образом, поднесущая сигналов цветности переносится на частоту 627 кГц (PAL) (или 1.06 МГц и 1,1 МГц). Преобразованные сигналы цветности подаются на сумматор 4.
Сигнал с выхода сумматора усиливается усилителем записи и поступает на головки. Упрощенная структурная схема канала записи показана на рис. 4.
Рисунок 4
Преобразование спектра сигнала изображения при записи показано на рисунке 4 (система SECAM).
Запись звукового сопровождения осуществляется на отдельные дорожки, расположенные вдоль края ленты, также как в аудиомагнитофонах.
При воспроизведении сигналы с головок 17 через коммутатор 5 и усилитель 6 поступают в каналы обработки сигналов яркости 7 и сигналов цветности 8.
В канале яркостного сигнала производится компенсация выпадений, ограничение и демодуляция ЧМ сигнала, компенсация предискажений. Далее, сигнал поступает на сумматор 9.
Сигналы цветности выделяются фильтром и подаются на смеситель. На второй вход смесителя поступает сигнал гетеродина. С выхода смесителя сигналы цветности с восстановленной частотой поднесущих поступают на сумматор 9.
ПЦТС с выхода смесителя поступает в радиопередающее устройство 10, где модулирует генератор, работающий на частоте одного из телевизионных каналов. Сюда же поступают сигналы звукового сопровождения. Модулированный сигнал генератора поступает на выход магнитофона.
Работа двигателей блока вращающихся головок 22 и ведущего вала 24 регулируется системами автоматического регулирования САР БВГ 21 и САР ВВ 20.
Видеомагнитофоны снабжаются устройствами автоматики 29 и таймерами 30, которые позволяют осуществлять запись по установленной программе.
Рисунок 5 - а) спектр полного цветного телевизионного сигнала (1 – сигнал яркости, 2 – сигнал цветности); б) спектры сигналов яркости (1) и цветности (2) после разделения и ограничения; в) спектр сигнала, поступающего на видеоголовки
4. Особенности конструкции видеомагнитофона
Применение в видеомагнитофонах наклонно-строчной записи создаёт некоторые отличия в конструкции лентопротяжного механизма магнитофона. Траектория движения магнитной ленты в магнитофоне показана на рис. 1. Для получения наклонной строки записи ось вращения барабана с головками приходится наклонять на некоторый угол β (см. рис. 6).
Связь вращающихся магнитных головок с неподвижной частью магнитофона осуществляется через вращающийся трансформатор.
На неподвижной части барабана виден спиральный выступ, направляющий движение ленты. На вращающейся части видна насечка, которая при вращении захватывает частицы воздуха и создаёт воздушную прослойку между барабаном и лентой.
Это уменьшает трение ленты о барабан. Диск с установленными головками приводится во вращение двигателем, находящимся в неподвижной части блока. Там же находятся датчики САР БВГ.
На рисунке 6 показан вид лентопротяжного механизма. Видны наклонные стойки, обеспечивающие движение ленты по наклоненому барабану, и ролики механизма заправки ленты. В процессе зарядки ленты ролики перемещаются в пазах основания, вытягивая ленту из кассеты и укладывая её на барабан.
Более подробное описание конструкции видео магнитофона можно найти в специальной литературе.
Рисунок 6
5. Основные характеристики записи в формате VHS
Скорость ленты, мм/с 23.39
Скорость записи, м/с 4.85
Диаметр барабана, мм 62
Угол наклона строк θ 5056’7.4″
Номинальная ширина строчки записи,мкм 49
Азимутальный угол зазоров головок ± 60
Ширина поля видеозаписи, мм 10,6
Плотность записи, бит/мм2 4·104
Расход ленты, м2/ч 1.07
Характеристики
Тип файла документ
Документы такого типа открываются такими программами, как Microsoft Office Word на компьютерах Windows, Apple Pages на компьютерах Mac, Open Office - бесплатная альтернатива на различных платформах, в том числе Linux. Наиболее простым и современным решением будут Google документы, так как открываются онлайн без скачивания прямо в браузере на любой платформе. Существуют российские качественные аналоги, например от Яндекса.
Будьте внимательны на мобильных устройствах, так как там используются упрощённый функционал даже в официальном приложении от Microsoft, поэтому для просмотра скачивайте PDF-версию. А если нужно редактировать файл, то используйте оригинальный файл.
Файлы такого типа обычно разбиты на страницы, а текст может быть форматированным (жирный, курсив, выбор шрифта, таблицы и т.п.), а также в него можно добавлять изображения. Формат идеально подходит для рефератов, докладов и РПЗ курсовых проектов, которые необходимо распечатать. Кстати перед печатью также сохраняйте файл в PDF, так как принтер может начудить со шрифтами.
















