63383 (695306)
Текст из файла
Цифровые интегральные микросхемы
Содержание
Введение
Общая характеристика цифровых интегральных микросхем и их параметры
Основы алгебры логики
Логические элементы транзисторной , диодно-транзисторной и транзисторно-транзисторной логики
Заключение
Литература
Введение
Цифровые интегральные микросхемы ЦИМС предназначены для преобразования и обработки дискретных сигналов. Основой для их построения являются электронные ключи, обладающие тем свойством, что они могут находиться в одном из двух состояний и их действие заключается в переходе из одного состояния в другое под воздействием входных сигналов. Одному из двух состояний ключа соответствует одно из двух фиксированных значений выходной электрической величины, например, высокий или низкий потенциал, наличие или отсутствие импульса. Так как эти величины могут принимать 2 дискретных значения, то они являются двоичными переменными.
Большинство ЦИМС относится к потенциальным, сигналы на входах или выходах которых представляют собой высокий или низкий уровень напряжения. Этим двум уровням напряжения ставятся в соответствие логические 1 и 0. В зависимости от кодирования сигналов различают положительную и отрицательную логики (Таблица 1. )
Таблица 1.
При положительной логике высокому уровню напряжения ставится в соответствие логическая 1, а низкому- логический 0, При отрицательной логике наоборот.
Общая характеристика цифровых интегральных микросхем и их параметры
По функциональному назначения ЦИМС подразделяются на подгруппы : логические элементы ЛЭ, триггеры, элементы арифметических и дискретных устройств и другие. Внутри каждой подгруппы микросхемы подразделяются на виды, например виды логических элементов: И, ИЛИ, И-НЕ, ИЛИ-НЕ и т.д.
Цифровые интегральные микросхемы выпускаются сериями. В состав каждой серии входят микросхемы, имеющие единое конструктивно-технологическое исполнение, но относящиеся к различным подгруппам и видам. В зависимости от схемотехнической реализации ИЛЭ делятся на следующие типы: транзисторной логики (ТЛ), диодно-транзисторной логики (ДТЛ), транзисторно-транзисторной логики (ТТЛ), транзисторной логики на МОП-транзисторах(МОП ТЛ). Параметры ЦИМС подразделяются на статические и динамические. К статическим параметрам относятся: входное U0вх и выходное U0вых напряжение логического нуля, входное U1вх и выходное U1вых напряжение логической единицы, аналогично токи логической единицы и нуля, коэффициент разветвления по выходу Краз, определяющий число единичных нагрузок, которые можно одновременно подключить к выходу микросхемы (единичной нагрузкой является один вход основного логического элемента данной серии интегральных микросхем); коэффициент объединения по входу Коб, определяющий число входов микросхемы, по которым реализуется логическая функция; допустимое напряжение статической помехи, характеризующее статическую помехоустойчивость микросхемы, то есть её способность противостоять воздействию мешающего сигнала, длительность которого превосходит время переключения микросхемы; средняя потребляемая мощность.
Статические параметры определяются с помощью статических характеристик, которые снимаются при медленных изменениях токов и напряжений. Это обстоятельство позволяет пренебрегать переходными процессами в ИЛЭ. К статическим характеристикам относятся: передаточная Uвых= f(Uвх) при Iвых=0, обратной связи Uвх= f(Uвых) при Iвх=0, входная Iвх= f(Uвх) при Iвых=0 и выходная Iвых= f(Uвх) при Iвх=0 . Вторая из названных характеристик практически не используется т.к. сигнал, поступающий с выхода ИЛЭ на его вход очень мал.
На рисунке 2а показана передаточная характеристика инвертирующих ИЛЭ (например И-НЕ, ИЛИ-НЕ) в предположении, что их характеристики идентичны. Действительно наблюдается разброс указанных характеристик как за счёт разброса параметров компонентов, входящих в состав ИЛЭ, так и за счёт различия режимов отдельных элементов. Поэтому передаточная характеристика для некоторой совокупности однотипных элементов представляет собой не одну кривую, а некоторую область, ограниченную сверху и снизу двумя граничными кривыми (рисунок2б).
Рисунок 2.
При этом U´вх max и U´вых max- максимальный и минимальный уровни выходного сигнала, который имеется хотя бы у одного из элементов данного типа. Аналогично рассматривается U0вых max и U0вых min. На этом же графике точками отмечены уровни входных сигналов: U0вх max – это такой уровень, при котором ни один из элементов данного типа не переключается из 1 в 0, U1вх min- уровень входного сигнала при котором на выходе любого элемента данного типа сохраняется сигнал 0. По этой характеристике можно определить запасы помехоустойчивости ИЛЭ достаточно провести прямые под углом 45 градусов от точек пересечения уровней U1вых min и U0вых max с осью ординат до пересечения с осью абсцисс.
Сравнивая полученные точки на оси абсцисс со значениями U0вх max и U1вх min определяют запасы помехоустойчивости по нулевому U0пом и по единичному U1пом сигналу на входе.
К динамическим параметрам, характеризующим свойства микросхемы в режиме переключения, относятся: время задержки сигнала при включении - интервал времени между входными и выходными импульсами при переходе Uвых ИЛЭ от U1вых до U0вых, измеренный либо на уровне 0,5 амплитуды импульса, либо на уровне порога чувствительности; время задержки сигнала при выключении- интервал времени между входным и выходным импульсами при переходе Uвых ИЛЭ от U0вых до U1вых, измеренный либо на уровне 0,5 амплитуды импульса, либо на уровне порога чувствительности; среднее время задержки.
Иногда в качестве параметров ИЛЭ приводят длительности фронтов нарастания и спада выходного напряжения.
Временные диаграммы напряжения на входе и на выходе ИЛЭ показаны на рисунке3.
Рисунок 3.
3. Основы алгебры логики
Для анализа и синтеза ЦИМС широко применяется аппарат алгебры логики, который является одним из разделов математической логики. Любое высказывание можно обозначить символом х и считать, что х=1, если высказывание истинно, и х=0, если высказывание ложно. Логическая переменная- такая величина х, которая может принимать значение 0 или1. Переключательная(логическая) функция у=f(х1,х2,…хn) так же как и её аргументы может принимать значения 0 или 1.При технической реализации переменные х1,х2… отождествляются с входными сигналами логических элементов, а значения функции у=f(х1,х2,…хn) – с выходными сигналами. Любую логическую функцию можно задать с помощью таблицы истинности. Задать логическую функцию- это означает указать значения функции (0 или 1) при всех возможных комбинациях значений аргументов. Логические функции одной переменной приведены в таблице2.
Таблица 2.
Основные логические элементы представлены на рисунке 4.
Рисунок 4.а-НЕ,б-ИЛИ,в-И,г-ИЛИ-НЕ,д-И-НЕ
Базис И, ИЛИ, НЕ является избыточным. Кроме избыточного известны минимальные базисы: ИЛИ-НЕ; И-НЕ; ИЛИ,НЕ; И,НЕ
Посторенние логических схем на основании логических функций, представленных в СДНФ или СКНФ, в большинстве случаев нецелесообразно. Переходу к логической схеме должна предшествовать минимизация логической функции с целью приведения их к такому виду, при котором соответствующая им схема более полно удовлетворяла бы требованиям, предъявляемым к ней. В первую очередь стремятся в результате упрощения получить минимальное количество логических элементов в схеме. После минимизации возможно выполнение других преобразований функций, цель которых сокращение числа типов логических элементов, приведение функции к такому виду, при котором удобно её реализовать с помощью заданных конкретных элементов. При минимизации используются различные свойства элементарных функций алгебры логики.
Логические элементы транзисторной , диодно-транзисторной и транзисторно-транзисторной логики
Изображённый на рисунке 5а логический элемент при положительной логике реализует операцию ИЛИ-НЕ. При отрицательной логике этот ИЛЭ реализует операцию И-НЕ. Аналогично работает ИЛЭ без входных резисторов.
Рис 5. А - Элемент транзисторной логики с непосредственными связями НСТЛ, б- ИЛЭ без входных резисторов
Основной частью ТЛЭС(элемент транзисторной логики с эмитерными связями ) является переключатель тока (рисунок 6а) , для улучшения схемы рис. 6 в в одно из плеч включено параллельно несколько транзисторов.
Рисунок 6.
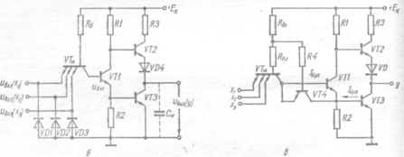
На рисунке 7. Изображён логический элемент диодно-транзисторной логики(ДТЛ)
Рисунок 7. а- сочетание диодного логического элемента И с транзисторным инвертором. На этом же рисунке различные модификации
На рисунке 8 представлены элементы транзисторно-транзисторной логики.
Рисунок 8.
Заключение
Компьютер может обрабатывать только информацию, представленную в числовой форме. Числа представляют с помощью нулей и единиц., то есть применяют двоичную систему счисления. БИТ- двоичный разряд, элементарная единица информации, принимающая значение 1 или 0. Веса разрядов в двоичной системе изменяются по степеням двойки. В электронных схемах нули и единицы отличают различным уровнем электрического напряжения, прикладываемого к участку схемы. Например 1 соответствует сигнал 5В, а нулю-0В по отношению к заземлённому участку схемы. Электронные схемы, преобразующие сигналы только двух фиксированных уровней напряжения, получили название логических элементов. В данном реферате были рассмотрены ЛЭ, основанные на полупроводниковой электронике. Из логических элементов образуются более сложные устройства: счётчики, сумматоры, триггеры и др. Из последних формируют целые узлы ЭВМ. Минимизация размеров элементов микросхем связана с улучшением таких параметров, как стоимость выполнения логической операции или хранения бита информации, быстродействие элементов, их надёжность и др.
Литература
-
Справочник по микроэлектронной импульсной технике/ В.Н. Яковлев, В.В Воскресенский, С.И. Мирошниченко и др.- К.: Техника,1983.-359с.
-
Нестеренко А.В. ЭВМ и профессия программиста.-М.:Просвещение,1990.-160с.
-
Е.П.Угрюмов. Проектирование элементов и узлов ЭВМ.м.: Высшая школа,1987,-316с.
Характеристики
Тип файла документ
Документы такого типа открываются такими программами, как Microsoft Office Word на компьютерах Windows, Apple Pages на компьютерах Mac, Open Office - бесплатная альтернатива на различных платформах, в том числе Linux. Наиболее простым и современным решением будут Google документы, так как открываются онлайн без скачивания прямо в браузере на любой платформе. Существуют российские качественные аналоги, например от Яндекса.
Будьте внимательны на мобильных устройствах, так как там используются упрощённый функционал даже в официальном приложении от Microsoft, поэтому для просмотра скачивайте PDF-версию. А если нужно редактировать файл, то используйте оригинальный файл.
Файлы такого типа обычно разбиты на страницы, а текст может быть форматированным (жирный, курсив, выбор шрифта, таблицы и т.п.), а также в него можно добавлять изображения. Формат идеально подходит для рефератов, докладов и РПЗ курсовых проектов, которые необходимо распечатать. Кстати перед печатью также сохраняйте файл в PDF, так как принтер может начудить со шрифтами.
















