62667 (695132)
Текст из файла
“Белорусский государственный университет информатики и радиоэлектроники”
Кафедра защиты информации
РЕФЕРАТ
на тему:
«Параметрические феррорезонансные стабилизаторы переменного напряжения. Компенсационные стабилизаторы напряжения и тока »
МИНСК, 2009
Параметрические феррорезонансные стабилизаторы переменного напряжения
Параллельно Lн ставят емкость и настраивают в резонанс (рисунок 1).
(1)
Учитывая, что при одинаковых напряжениях
на
и
, их токи будут в противофазе.
Если суммировать при одних значениях U, токи в L и C, то получится зависимость
.
Наклон
< наклона
Коэффициент стабилизации увеличивается, коэффициент мощности схемы увеличивается.
Эта схема является более эффективной, чем схема простого электромагнитного стабилизатора.
Для улучшения её характеристик используется специально введенные компенсирующие обмотки.
Рисунок 1
Компенсирующая обмотка позволяет увеличить коэффициент стабилизации, но усложняет схему.
Рассмотренные схемы не обеспечивают гальванической развязки.
Имеется разнообразные феррорезонансные стабилизаторы.
Достоинства:
- простота;
- высокая механическая надежность;
- устойчивость к перегрузкам;
- отсутствие стареющих элементов;
- высокий КПД;
- возможность реализации больших Iн, а, значит, и больших мощностей;
- высокие коэффициенты мощностей;
- низкая стоимость.
Недостатки:
- большие массогабаритные размеры;
- возможно возникновение акустического фона за счет вибрации магнитопровода.
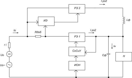
Компенсационные стабилизаторы напряжения и тока
Могут работать на переменный или постоянный ток и используют принцип непрерывного или импульсного автоматического регулирования стабилизируемого параметра (напряжения или тока).
Структурные схемы.
Существуют 2 основные схемы:
- с последовательным включением регулируемого элемента по отношении к нагрузке.
- с параллельным включением регулируемого элемента.
Рисунок 2 – Структурная схема компенсационного стабилизатора с последовательным включением регулируемого элемента.
Рисунок 3 – Структурная схема компенсационного стабилизатора с параллельным включением регулируемого элемента.
В компенсационном стабилизаторе с последовательным включением регулируемого элемента напряжение на нагрузке Uн сравнивается с опорным напряжением
, (2)
где
- коэффициент усиления.
В реальных стабилизаторах источник опорного напряжения (ИОН) питается от выходного стабильного напряжения
.
, (3)
где
- внутреннее потребление.
Недостатки:
- последовательное включение по отношению к нагрузке РЭ, требует большой пропускной способности по току в стабилизаторах с непрерывным регулированием;
- на РЭ постоянно рассеивается энергия и КПД трудно обеспечить выше 60%.
На практике используют импульсный режим автоматического регулирования.
Разгрузить РЭ по току позволяет схема с параллельным включением РЭ по отношению к нагрузке (рисунок 3).
тогда
Схема позволяет применить РЭ малой мощности, но ставит добавочное сопротивление (ДС).
Схема целесообразна в устройствах малой мощности с импульсным питанием.
Приведенные функциональные схемы отражают принципы работы в импульсных стабилизирующих устройствах, обеспечивающие импульсный режим работы.
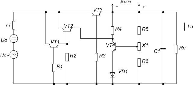
Транзисторный компенсационный стабилизатор постоянного напяжения с непрерывным регулированием
Рассмотрим наиболее распространенную схему с последовательным включением регулирующего элемента.
Рисунок 4
,
,
,
,
. Можно убедиться, что в схеме за счет действия отрицательной обратной связи, достигается стабилизация. Анализ показывает, что коэффициент стабилизации пропорционален
в цепи ОС, который определяется:
(4)
(5)
Приведенная основа схем с непрерывным регулированием на практике может претерпевать различные усложнения по следующим направлениям.
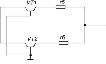
В РЭ для увеличения коэффициента передачи
и согласования мощного РЭ с маломощным УПТ прим схема составного транзистора.
Рисунок 5
УПТ для термокомпенсации может быть постороен по симметричной схеме (рисунок 6):
Рисунок 6
Для повышения устойчивости работы стабилизатора при импульсном потреблении тока нагрузкой на выходе стабилизатора может устанавливаться аккумулятор-емкость. Это подключение практически не увеличивает сглаживание пульсаций.
Увеличение сглаживания пульсаций достагается за счет:
- изменения способа питания УПТ (от отдельного дополнительного источника, непосредственно от входного стабилизатора, либо через эмиттерный повторитель от входного стабилизатора).
- изменения схемы сравнения, в частности при применении схемы сравнения с так называемой «с опущенной спорой».
В тех случаях, когда имеющиеся в распоряжении силовые трансформаторы не обеспечивают необходимый ток нагрузки Iн, применяется параллельное включение нескольких транзисторов (рисунок 7).
Рисунок 7
Используется также и последовательное включение транзисторов в РЭ для исключения опасности перегрузки по Uкэ.
Последние меры так же усложняют стабилизатор в целом и на практике схемы отличаются значительным разнообразием. В особенности, они включают ещё и устройства защиты от перегрузки по току и напряжению или даже устройствами сигнализации.
Современные схемы имеют тенденцию к использованию импульсных режимов работы.
Импульсные стабилизаторы
Рисунок 8 - Структурная схема импульсного стабилизатора
СФ – сглаживающий фильтр;
ИЭ – импульсный элемент;
СхСиУ. – схема сравнения и усиления.
Эффективное сглаживание на рабочей частоте возможно фильтрами либо при условии достаточно большой рабочей частоты. Повышаются требования к быстродействию.
ИЭ может работать в автоколебательном режиме (релейный стабилизатор). При этом изменяется как длительность импульсов тока так и частота следования импульсов в нагрузке. Изменение частоты затрудняет эффективное сглаживание пульсации неперестраиваемым фильтром.
Частоту срабатывания ИЭ можно специально задавать, синхронизируя его работу с помощью задающего генератора (ЗГ). В том случае регулирование осуществляется за счет длительности импульсов тока.
РЭ, СхСиУ, ИОН схемно не отличаются от узлов, используемых в непрерывном стабилизаторе. В качестве ИЭ применяются релаксационные генераторы, мультивибраторы, триггеры и др.
Импульсные стабилизаторы в отличие от стабилизаторов с непрерывным регулированием позволяют реализовать высокие КПД и широко используются в современной технике.
Недостатки:
- усложнение схемы;
- импульсный режим работы исключает принципиально возможность снижения пульсации до нуля.
- осложнение обеспечения магнитной совместимости ИВЭП с электронной аппаратурой.
Для рационального использования непрерывного и импульсного методов регулирования и ослабления недостатков, соответствующих этим методам устройств, применяют стабилизаторы с двойным управлением.
Стабилизаторы с двойным управлением.
Рисунок 9 – Структурная схема стабилизатора с двойным управлением
Недостатки:
- высокие масса, габариты, стоимость;
- низкая эксплуатационная надежность;
- сложность.
В случае, если требуется получение повышенных значений коэффициента стабилизации, возможно использование двойного управления. Для этого РЭ ставятся на стороне как постоянного так и переменного тока. При этом коэффициент стабилизации получающегося таким образом двухкаскадного стабилизатора равен произведению коэффициентов стабилизации отдельных каскадов.
В качестве РЭ на стороне переменного тока могут использоваться диодно-транзисторные схемы, тиристоры, магнитные усилители.
ЛИТЕРАТУРА
-
Иванов-Цыганов А.И. Электротехнические устройства радиосистем: Учебник. - Изд. 3-е, перераб. и доп.-Мн: Высшая школа, 200
-
Алексеев О.В., Китаев В.Е., Шихин А.Я. Электрические устройства/Под ред. А.Я.Шихина: Учебник. – М.: Энергоиздат, 200– 336 с.
-
Березин О.К., Костиков В.Г., Шахнов В.А. источники электропитания радиоэлектронной аппаратуры. – М.: Три Л, 2000. – 400 с.
-
Шустов М.А. Практическая схемотехника. Источники питания и стабилизаторы. Кн. 2. – М.: Альтекс а, 2002. –191 с.
Характеристики
Тип файла документ
Документы такого типа открываются такими программами, как Microsoft Office Word на компьютерах Windows, Apple Pages на компьютерах Mac, Open Office - бесплатная альтернатива на различных платформах, в том числе Linux. Наиболее простым и современным решением будут Google документы, так как открываются онлайн без скачивания прямо в браузере на любой платформе. Существуют российские качественные аналоги, например от Яндекса.
Будьте внимательны на мобильных устройствах, так как там используются упрощённый функционал даже в официальном приложении от Microsoft, поэтому для просмотра скачивайте PDF-версию. А если нужно редактировать файл, то используйте оригинальный файл.
Файлы такого типа обычно разбиты на страницы, а текст может быть форматированным (жирный, курсив, выбор шрифта, таблицы и т.п.), а также в него можно добавлять изображения. Формат идеально подходит для рефератов, докладов и РПЗ курсовых проектов, которые необходимо распечатать. Кстати перед печатью также сохраняйте файл в PDF, так как принтер может начудить со шрифтами.
















