148497 (692372), страница 2
Текст из файла (страница 2)
телефонная связь коммутация железнодорожный
В один АК включается аналоговая абонентская линия. АК выполняет следующие функции: прием от телефонного аппарата сигналов вызова станции, импульсов набора номера постоянным током (декадный способ набора), отбоя; посылка в АЛ сигнала вызова; питание ТА постоянным током. Посредством АЦП производится преобразование речевых и других аналоговых сигналов в сигналы импульсно-кодовой модуляции (ИКМ) и наоборот. При передаче речи от каждого АЦП к MUX передается цифровой поток со скоростью 64 кбит/с, который в ЦКП объединяется с такими же потоками от других АЦП. Для управления абонентскими комплектами используется периферийное управляющее устройство ПУУДК.
Комплекты КСЛ обеспечивают взаимодействие со встречными АТС по аналоговым СЛ (СЛА). Каждому КСЛ соответствует один АЦП. Для объединения и разделения цифровых потоков со скоростью 64 кбит/с также используется MUX. Комплекты КСЛ могут быть разных типов, что зависит от способа организации СЛ и типа межстанционной сигнализации. Комплекты КСЛ необходимы при использовании выделенных сигнальных каналов, организованных по аналоговым системам передачи. Для управления комплектами КСЛ используется периферийное управляющее устройство ПУУКСЛ.
Блок БТС предназначен для приема и передачи тональных сигналов различного назначения.
Интерфейс PRI позволяет включить один канал Е1, обеспечивающий организацию до 30 цифровых СЛ (ЦСЛ). Интерфейс PRI содержит следующие функциональные устройства:
1. Внешнее устройство (ВУ), обеспечивающее согласование на физическом уровне с линейным трактом в соответствии со стандартом G.703. Оно имеет также гальваническую развязку с линейными цепями и устройства защиты от повышенных напряжений.
2. Формирователь циклов (ФЦ), служащий: в направлении передачи - формирование циклов длительностью 125 мкс и последовательности канальных интервалов КИ0...КИ31 внутри каждого цикла; при приеме - выделение из входящего потока канальных интервалов и контроль над цикловой последовательностью. ФЦ позволяет вставлять и выводить информацию из канала сигнализации, для чего обычно предназначен КИ16. В ФЦ также можно выделять КИО, содержащий синхросигналы.
3. Буферная память (БП), необходимая для хранения содержимого канальных интервалов трактов приема и передачи канала Е1 с целью обеспечения синхронизации цифровых потоков внутри станции и в линейном тракте.
4. Мультиплексор (MX) и демультиплексор (DX), служащие для введения и выделения канального интервала сигнализации (например, КИ16) из потока 2048 кбит/с.
5. Периферийное управляющее устройство ПУУрк1, обеспечивающее: прием и передачу сигнальной информации по одному из каналов ЕО (например, КИ-16); обмен сигнальной информацией с ЦУУ. В ПУУрк1 может также происходить преобразование межстанционной и внутристанционной (между ПУУPR1 и ЦУУ) систем сигнализации. ПУУ PR1 может работать с одной из систем сигнализации по выделенным или по общему каналам сигнализации.
6. Устройство синхронизации (УС), обеспечивающее выделение и введение синхросигналов во входящий поток. В случае внешней (принудительной) синхронизации данной станции со стороны встречной АТСЦ от УС к ЦБС передаются тактовые синхросигналы. Передача синхросигналов от ЦБС к УС происходит при любом режиме синхронизации.
Интерфейс BRI служит для включения в станцию цифровых абонентских линий со стандартными точками SQ ИЛИ UQ В соответствии со стандартами сети ISDN. В состав интерфейса входят аналогичные по сравнению с PRI функциональные устройства/.
Центральное сигнальное устройство служит для обмена управляющей информацией между ЦУУ и всеми ПУУ с использованием внутристанционных сигнальных каналов ЕО, входящих в каналы Е1. Как показано на рисунке, для таких каналов ЕО могут использоваться КИО и КИ16. Управляющая информация передается в обе стороны через ЦКП. При этом внутристанционные сигнальные каналы ЕО со стороны устройств ПУУ скоммутированы через ЦКП по постоянной схеме с соответствующими каналами ЕО, входящими в каналы Е1, включенные в ЦСУ. С помощью буферов приема (БПР) и передачи (БПД) происходит накопление управляющей информации.
Блок ЦБС вырабатывает станционные синхросигналы, поступающие к различным устройствам станции. Этот блок включает в себя задающий генератор тактовых импульсов, служащий для формирования цифровых потоков внутри станции. Блок ЦБС может работать в автономном или принудительном режиме.
К внешним устройствам, связанным с ЦУУ, относятся: автоматизированное рабочее место оператора по техническому обслуживанию (АРМто); накопитель на соответствующем носителе; система тарификации вызовов и другие. АРМто обеспечивает контроль и управление работой станции и создается на базе персонального компьютера.
В ряде учрежденческих АТС связь между устройствами ПУУ и ЦУУ осуществляется по выделенным двусторонним внутристанционным каналам передачи данных, а не через ЦКП. В этом случае, обычно, обмен данными происходит по протоколу HDLC в режиме «ведущий-ведомый» (master-slave).
В цифровые абонентские линии включаются цифровые телефонные аппараты, принципиально отличающиеся от аналоговых аппаратов, рассмотренных в разделе 2.
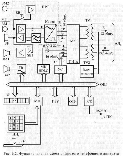
На рис. 6.2 Приведена функциональная схема цифрового телефонного аппарата, позволяющего по одному каналу. В передавать речевую информацию, а по второму - обмениваться данными.
Аппарат включается в четырехпроводную абонентскую линию с интерфейсом S0 через выводы R (прием) и Т (передача). Приборы телефонного аппарата гальванически разделены с линией трансформаторами TV1 и TV2. Мультиплексор MX служит для обработки цифровых потоков. В режиме приема мультиплексор выделяет из общего потока со скоростью 192 кбит/с два потока по 64 кбит/с (два канала В) и один поток 16 кбит/с (канал D).
Формирование цифровых потоков происходит с участием генератора импульсов ГИ, синхронизируемого со стороны коммутационной станции. К приборам разговорного тракта (ПРТ) относятся: кодек, являющийся одновременно аналого-цифровым и цифро-аналоговым преобразователем; усилители и фильтр низкой частоты; кнопка SB1 для подключения громкоговорителя ВА1, используемого при приеме речи по желанию абонента. Аппарат имеет микротелефон МТ, в котором обычно используют электродинамические микрофон и телефон.
Прием вызова со стороны станции осуществляется на громкоговоритель ВА2. Формирование тонального вызывного сигнала происходит в генераторе вызова ГВ.
Для обмена информацией с коммутационной станцией по каналу D цифровой телефонный аппарат имеет устройство сигнализации УС. В УС из цифрового потока со стороны станции выделяются: сигнал вызова абонента; данные о номере вызывающего абонента; сигнал отбоя от другого абонента и другие данные. В УС для передачи в сторону станции формируются сигналы вызова станции, отбоя от абонента и данные о номерах вызываемого и вызывающего абонентов, а также данные по предоставлению дополнительных услуг.
Цифровой телефонный аппарат имеет микропроцессорный набор, состоящий из микропроцессора (МП), постоянного (ПЗУ) и оперативного (ОЗУ) запоминающих устройств. Обмен информацией внутри микропроцессорного набора, а также с другими устройствами цифрового телефонного аппарата, происходит через общую шину (ОШ). В ПЗУ хранятся программы работы цифрового телефонного аппарата, а в ОЗУ - оперативные данные.
Микропроцессор управляет работой телефонного аппарата. К нему от кнопочного номеронабирателя (ННК) поступает информация о цифрах номера вызываемого абонента и коды дополнительных услуг. Положение кнопки SB2, зависящее от положения микротелефонной трубки, позволяет микропроцессору обнаружить вызов или отбой от данного абонента (кнопка рычажного переключателя). Микропроцессор МП взаимодействует с УС, получая от него информацию со стороны станции и посылая через него информацию на станцию. При поступлении со станции вызова микропроцессор воздействует на ГВ и дисплей Д.
Во время набора номера на дисплей выводятся набираемые цифры. В свободном состоянии дисплей обычно показывает текущее время. На дисплей можно вывести различную информацию, хранящуюся в ОЗУ. Дисплей обычно имеет одну-две строки, в каждой из которых может выводиться до 20...40 буквенно-цифровых символов. Наиболее часто в дисплеях применяются жидкокристаллические индикаторы.
В большинстве случаев цифровые ТА рассчитаны на получение электропитания от источника постоянного тока коммутационной станции. Для этого в аппарате устанавливается блок питания, подключаемый к абонентской линии в средние точки линейных трансформаторов TV1 и TV2. На станционной стороне к абонентской линии по аналогичной схеме подключается источник постоянного тока (центральная батарея). Блок питания вырабатывает напряжения, необходимые для работы всех узлов аппарата. В многофункциональных цифровых аппаратах обычно предусматривается автономное питание от местной сети переменного тока, что обусловлено потреблением аппаратом довольно большой мощности.
Для передачи данных по каналу В, в состав аппарата входит микроконтроллер МК, служащий для приема и передачи данных по этому каналу в соответствии с выбранным протоколом обмена приемопередающий интерфейс (R/E) со стыком RS232C. Обычно к такому стыку подключают персональный компьютер (ПК), являющийся терминалом сети передачи данных.
Важно заметить, что устройство УС обеспечивает установление соединений как на телефонной сети, так и на сети передачи данных.
2.2 Способы построения цифрового коммутационного поля
В основу построения цифрового коммутационного поля заложена ступень временной коммутации (СВК), обозначаемая буквой Т (Time - время). Кроме СВК, цифровое КП может включать в себя ступень пространственной коммутации (СПК), для которой принято обозначение S (Space - пространство). Структура цифрового КП зависит от требуемой емкости АТС. В учрежденческих АТС чаще используется структура типа Т или T-S-T, в станциях большой емкости - типа T-S-S-T, T-S-S-S-T. Возможны другие структуры, из которых следует выделить кольцевую структуру.
Структура типа Т представляет собой одну ступень временной коммутаций, включающей такие обязательные узлы, как речевое запоминающее устройство (РЗУ) и управляющую память (УП). В РЗУ хранится закодированная речевая информация, а в УП - информация о соединениях между канальными интервалами трактов приема.
На рис. 6.3 представлена функциональная схема цифрового КП (ЦКП), обеспечивающего соединения между канальными интервалами М цифровых первичных трактов приема. Коммутационное поле включает в себя: РЗУ, имеющее N ячеек памяти; УП с таким же количеством ячеек памяти; мультиплексор (MX), имеющий М входов и один выход; демультиплексор (DX), имеющий один вход и М выходов; регистры приема (Рг) и передачи (Ре) сигналов. Количество ячеек речевого ЗУ соответствует общему количеству канальных интервалов М цифровых трактов: N= Мх31 (счет ячеек идет от нуля). Емкость ячейки РЗУ соответствует длине содержимого одного КИ, равной одному байту.
Управляющая память получает от управляющего устройства станции и хранит данные о соединениях между канальными интервалами цифровых трактов приема и передачи. Управляющая память управляет чтением информации из РЗУ. Мультиплексор MX объединяет цифровые входящие потоки от регистров Рг и передает объединенный поток на вход записи РЗУ. Демультиплексор DX принимает с выхода РЗУ объединенный поток и разделяет его на М исходящих потоков, передаваемых на регистры Ре. MX и DX производят операции с однобайтными словами в параллельном коде.
Регистры Рг производят преобразование сигналов, поступающих по цифровым трактам, из последовательного кода в параллельный. Регистры Ре производят обратное преобразование. В каждый регистр записывается один байт данных.
-
-
3. Цифровая автоматическая телефонная станция «Протон» серии «Алмаз»
-
-
3.1 Общие сведения
-
-
Цифровые автоматические телефонные станции “Протон-CCC” (далее ЦАТС) предназначены для работы на телефонных сетях общего пользования, в том числе цифровых сетях интегрального обслуживания (ЦСИО), а также на ведомственных (технологических) сетях различных отраслей промышленности и ведомств.
-
ЦАТС, произведенные на предприятии-изготовителе, соответствует требованиям технических условий:
-
ЦАТС применяются на ведомственных и выделенных телефонных сетях в качестве:
-
-
-
учрежденческо-производственных станций (УПАТС);
-
транзитных станций.
На сельских и городских телефонных сетях в качестве:
-
учрежденческо-производственных АТС (УПАТС, МУАТС);
-
подстанций ГТС, опорных, опорно-транзитных, транзитных АТС;
-
сельских АТС (ОС, УС, ЦС, УСП).
-
ЦАТС может использоваться на нерайонированных, районированных без узлообразования, на сетях только с УВС, на сетях с УВИС, на комбинированных телефонных сетях. При этом может использоваться трех-, четырех-, пяти-, шести-, семизначная или смешанная нумерация. Возможна организация наложенной сети со своим планом нумерации. Также обеспечивается возможность передачи АОНа при международной связи до 15-ти знаков.
ЦАТС обеспечивает возможность установления следующих видов связи:
-
автоматическая внутренняя связь между всеми абонентами станции;
-
автоматическая исходящая связь с абонентами других станций;
-
автоматическая входящая связь от абонентов других станций с поиском вызываемого абонента по плану нумерации;
-
автоматическая входящая связь с абонентами других станций с поиском вызываемого абонента по таблице наведения либо с помощью оператора;
-
транзитная связь между входящими и исходящими соединительными линиями;
-
автоматическая исходящая связь к вспомогательным и справочно-информационным службам;
-
исходящая автоматическая и полуавтоматическая зоновая, междугородная и международная связь;
-
входящая автоматическая и полуавтоматическая зоновая, междугородная и международная связь;
-
полупостоянная коммутация;
-
производственные виды связи (факсимильная связь, передача телеинформации, диспетчерская связь);
-
передача данных.
-
Электрические параметры абонентских и соединительных линий
-
Аналоговые абонентские линии
-
ЦАТС обеспечивает работу при включении аналоговых абонентских линий со следующими параметрами:
-
собственное затухание абонентской линии на частоте 800 Гц не более 9 дБ;
-
величина переходного затухания между цепями двух абонентских линий на ближайшем к ЦАТС конце на частоте 800 Гц не менее 69,5 дБ;
-
сопротивление шлейфа АЛ, включая сопротивление телефонного аппарата и блокиратора: до 1800 Ом (для обычных аппаратов), 5000 Ом (для удаленных аппаратов с усилителями);
-
емкость между проводами и между каждым проводом и землей не более 1,0 мкФ;
-
сопротивление изоляции между проводами или между каждым проводом и землей не менее 20 кОм.
-
Физические соединительные линии, включаемые в ЦАТС
-
Параметры физических трехпроводных СЛ и заказно-соединительных линий (ЗСЛ) по постоянному току:
-
сопротивление каждого разговорного провода не более 1500 Ом;
-
сопротивление провода “С” не более 1500 Ом (для АТС ДШ не более 700 Ом при включении без комплекта);
-
сопротивление утечки между проводами или между каждым проводом и “землей” не менее 50 кОм;
-
емкость между проводами или между каждым проводом и “землей” не более для: СЛ, ЗСЛ - 1,6 мкФ, СЛМ - 1,3 мкФ.
-
Параметры физических трехпроводных междугородных линий (СЛМ) по постоянному току:
-
сопротивление каждого разговорного провода при связи по СЛМ = 1000 Ом;
-
сопротивление провода “С” не более 1500 Ом (для АТС ДШ не более 700 Ом при включении без комплекта);
-
сопротивление утечки между проводами или между каждым проводом и “землей” не менее 150 кОм;
-
емкость между проводами или между каждым проводом и “землей” не более 1,3 мкФ.
-
Цифровые соединительные линии
-
ЦАТС обеспечивает устойчивую работу по соединительным линиям, оборудованным цифровой аппаратурой со скоростями передачи 2048 кбит/с и 1024 кбит/с.
-
Оборудованием ЦАТС обеспечивается возможность подключения следующих типов линий между оборудованием подключения трактов ИКМ-30 и оборудованием цифровых систем передачи:
-
-
-
симметричная пара с волновым сопротивлением 120 Ом;
-
коаксиальный кабель с волновым сопротивлением 75 Ом.
-
Цифровой сигнал на входе приемной части должен соответствовать приведенным выше требованиям с учетом изменений параметров, обусловленных затуханием соединительных линий между оконечным оборудованием линейного тракта и станционным оборудованием подключения трактов ИКМ-30. Принимается, что затухание указанных линий соответствует закону SQRT(f); величина затухания на частоте 1024 кГц должна находиться в пределах от 0 до 6 дБ.
-
-
3.2 Конструкция ЦАТС
















