148447 (692352), страница 2
Текст из файла (страница 2)
Сегодня завод имеет Сертификат соответствия системе менеджмента качества ISO 9001 в отношении разработки, производства, гарантийного и сервисного обслуживания автобусов.
Автобус ПАЗ – самый массовый российский автобус. Ежегодный выпуск автобусов малого класса составляет более 12 тыс. единиц. Это почти 80% годового производства таких автобусов в России.
В 2007 году ПАЗу исполнилось 75 лет.
1.2 Анализ достоинств модифицированных конструкций относительно предшествующего решения системы и составление их принципиальных схем
ПАЗ 672
Схема системы питания:
1-топливный бак, 2-трубки топливопровода, 3-фильтр отстойник, 4-топливный насос, 5-фильтр тонкой отчистки, 6-карбюратор, 7-датчик указателя уровня топлива.
ПАЗ 4230
Схема системы питания:
1 - топливный бак, 2 - фильтр грубой очистки топлива, 3 - трубки топливные низкого давления,
4 - подкачивающий насос, 5 - топливный насос высокого давления, 6 - трубка пневмокорректора,
7 - впускная труба, 8 - трубка перепускная, 9- трубка высокого давления, 10- форсунка первого цилиндра, 11- фильтр тонкой очистки топлива, 12- трубка сливная, 13 - клапан избыточного давления, 14 - пневмокорректор, 15 - электромагнитный клапан останова двигателя.автомобиль модифицированный конструкция система
Сравнительная таблица преимуществ и недостатков бензиновых и дизельных двигателей
| ПАЗ 4230 | ПАЗ 672 |
| Преимущества дизельных ДВС | Преимущества бензиновых ДВС |
| - экономичность, расход топлива при том же объеме и мощности меньше на 15-25%; - меньшая стоимость топлива; - хорошая тяга на низких оборотах; - отсутствие свечей зажигания, проводов, трамблеров. | -низкий уровень шума и вибраций; - большая литровая мощность; - способен работать на высоких оборотах, без последствий для двигателя. |
| Недостатки дизельных ДВС | Недостатки бензиновых ДВС |
| - хуже динамика разгона большой шум и вибрация; - чувствительная топливная система; - может не завестись при сильном морозе; - не терпит высоких оборотов, и как следствие высоких скоростей; - большая масса, меньшая литровая мощность; - чаще замена масла и фильтров, масло необходимо более высокого качества; - для запуска дизельного двигателя необходим аккумулятор большей емкости, следовательно, больше и стоимость. | - больший чем у дизеля расход топлива; - наличие системы зажигания; |
Если автомобиль оборудован дизельным двигателем, то в процессе эксплуатации будут значительно сэкономлены средства за счет более низкой стоимости топлива и его меньшего расхода.
У дизельного двигателя степень сжатия находится в пределах 20-22 единицы по сравнению с 9-10 у бензиновых двигателей, что обеспечивает более высокий КПД. Кроме того, у дизеля регулирование рабочей смеси в основном качественное, т.е. вне зависимости от частоты вращения коленчатого вала и нагрузки в цилиндры подается практически одинаковое количество воздуха, а количество используемого топлива увеличивается с нагрузкой. Но даже при полной мощности масса впрыскиваемого топлива в 1,5-1,7 раза меньше, чем у бензинового двигателя такого же рабочего объема. Это означает, что действительная степень сжатия, т. е. давление и температура конца сжатия, не зависит от нагрузки, а рабочая смесь по сравнению с бензиновым двигателем всегда очень бедная. Эти факторы обеспечивают дизелю высокую эффективность сгорания и последующего расширения и на частичных нагрузочных режимах.
Дизельное топливо, как правило, дешевле, расход топлива дизельного двигателя меньше, чем бензинового.
Дизельный двигатель выдает высокий крутящий момент в широком диапазоне оборотов, что делает автомобиль с дизельным двигателем более эластичным в движении, чем такой же автомобиль с бензиновым двигателем.
По сравнению с бензиновыми двигателями в выхлопных газах дизельного двигателя, как правило, меньше окиси углерода (СО).
Важным аспектом, касающимся безопасности, является то, что дизельное топливо нелетучее (т.е. легко не испаряется) и, таким образом, вероятность возгорания у дизельных двигателей намного меньше, тем более что в них не используется система зажигания.
В условиях эксплуатации стабильность мощностных показателей и расхода топлива зависит в первую очередь от сопротивления воздухоочистителя, которое влияет на наполнение цилиндров воздухом (в том числе и двигателей с турбонаддувом), угла опережения впрыска топлива, давления начала подъема иглы форсунки (давления начала впрыска), качества распыла топлива форсунками, а также от характера (закона) подачи топлива топливным насосом высокого давления.
Следует отметить, что стабильность регулировочных параметров системы подачи топлива у дизельных двигателей выше, чем у бензиновых. Однако в процессе эксплуатации нужно строго контролировать качество очистки воздуха и топлива, а также исключить возможность перегрева двигателя, что незамедлительно повлияет на работу форсунок и поршневой группы.
Дизельные двигатели более долговечны, чем бензиновые, что объясняется более прочным и жестким выполнением блока цилиндров, коленчатого вала, деталей цилиндропоршневой группы, головки блока цилиндров и применением дизельного топлива, которое в отличие от бензина в известной степени также является смазочным материалом.
К недостаткам дизельных Двигателей следует отнести большую массу, меньшую литровую мощность, повышенный шум из-за высокого давления сгорания и затрудненный пуск при отрицательных температурах окружающего воздуха, особенно у автомобилей прошедших 100 000 км и более. В процессе эксплуатации изнашиваются плунжерные пары топливного насоса высокого давления, нарушается герметичность посадки иглы форсунки, что приводит на низких оборотах при пуске (70—90 оборотов в минуту) к плохому распылению шва. В то же время в результате появившегося износа цилиндропоршневой группы на такой частоте вращения заметно увеличивается прорыв сжимаемого воздуха в картер, а значит, давление и температура не достигают значений, необходимых для воспламенения распыленного топлива.
Тем не менее, существуют достаточно простые устройства, которые резко улучшат запуск дизелей при низких температурах, в том числе теплообменное устройство, устанавливаемое на период зимней эксплуатации во впускной коллектор. Двигатели подвергаются ремонту, главным образом, из-за повышения расхода смазочного масла, что можно легко определить по доливу и появлению голубого дыма, который образуется из-за сгорания масла.
Явными недостатками дизельных двигателей являются: необходимость использования стартера большой мощности, кристаллизация парафинов в дизельном топливе при низких температурах, сложность в ремонте топливной аппаратуры (так как насосы высокого давления являются устройствами, изготовленными с высокой точностью). Также дизели чувствительны к загрязнению топлива механическими частицами и водой, которые очень быстро выводят топливную аппаратуру из строя.
Бензиновые двигатели имеют более высокую частоту вращения, большую литровую мощность, шум и вибрации более низкие. Регулирование горючей смеси в них, главным образом, количественное.
Таким образом, если при номинальных мощностях эффективный КПД бензинового двигателя на 20% ниже, чем у дизеля, то на частичных режимах разрыв увеличивается до 40% и более. Это подтверждается многочисленными сравнительными эксплуатационными испытаниями автомобилей с дизельными и бензиновыми двигателями одинаковой мощности. Снижение расхода топлива на 100 км пути в зависимости от условий движения (в городе или на магистралях) составляет 25—50%.
Что касается токсичности отработанных газов, то проведенное за последнее десятилетие усовершенствование бензиновых двигателей, включая управляемый поршневым процессором прямой впрыск форсунками, значительно улучшило этот показатель. Однако многие специалисты ведущих автомобильных компаний, например фирмы Volkswagen, считают, что в условиях повышенных требований к защите окружающей среды и расходу топлива дизели остаются наиболее перспективными двигателями.
В настоящее время в ФРГ на 14 % автомобилей установлены дизели, во Франции — на каждом третьем автомобиле, а в Австрии — на каждом втором.
2. Система питания автомобиля ПАЗ 4230
2.1 Описание конструкции, принципа работы системы и основных элементов.
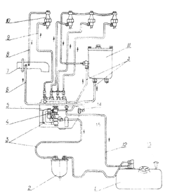
Система питания дизеля топливом (рис. 1) состоит из топливного насоса высокого давления 5, форсунок 10, трубопроводов низкого 3 и высокого 9 давления, впускного 7 и выпускного коллекторов, топливных фильтров грубой 2 и тонкой 11 очистки, топливного бака 1, трубопроводов и шлангов.
Рис 1. Схема системы питания
1 - топливный бак, 2 - фильтр грубой очистки топлива, 3 - трубки топливные низкого давления, 4 - подкачивающий насос, 5 - топливный насос высокого давления, 6 - трубка пневмокорректора, 7 - впускная труба, 8 - трубка перепускная, 9- трубка высокого давления, 10- форсунка первого цилиндра, 11- фильтр тонкой очистки топлива, 12- трубка сливная, 13 - клапан избыточного давления, 14 – пневмокорректор, 15 - электромагнитный клапан останова двигателя
Система питания работает следующим образом.
Топливо из топливного бака 1 засасывается топливоподкачивающим насосом 4 через фильтр 2 грубой отчистки. Из насоса 4 топливо поступает в фильтр 11 тонкой отчистки топлива, в котором оно окончательно очищается от мельчайших загрязнений и затем поступает в насос высокого давления 5 по трубопроводу 3. Из насоса 5 дозированные порции топлива под высоким давлением подаются по топливопроводам 9 высокого давления в форсунки 10 в соответствии с порядком работы двигателя для впрыска топлива в цилиндры.
Излишки топлива, подаваемого топливоподкачивающим насосом 4 к насосу высокого давления, отводя через трубку перепускного клапана 8 топливного насоса высокого давления обратно в топливный бак по трубопроводам 12.
Топливный насос высокого давления (ТНВД) (рис. 2) предназначен для подачи в камеры сгорания цилиндров дизеля дозированных порций топлива под высоким давлением, в определенные моменты времени, чтобы обеспечить требуемую мощность. Эти порции топлива должны быть одинаковым у всех секций ТНВД. На дизель Д-245.9Е2 устанавливается ТНВД мод. 773-20.06 Э2 производства OAО "'ЯЗДА"
Привод ТНВД осуществляется от коленчатого вала дизеля через шестерни распределителения.
ТНВД объединен в один агрегат с всережимным регулятором 25 и подкачивающим насосом поршневого типа 16.
Рис 2. Топливный насос высокого давления
1 - секция топливного насоса. 2 - табличка; 3 - прокладка фланца, 4 - фланец; 5 - крышка подшипника; 6 - шпонка: 7 - полумуфта привода,8 - гайка крепления полумуфты; 9 - кулачковый вал; 10 - манжета крышки подшипника, 11 - прокладка крышки подшипника, 12 - подшипник; 13 - направляющий штифт толкателя; 14 - толкатель; 15 - корпус топливного насоса; 16 - топливоподкачивающий насос; 17 - шпилька кронштейна поддержки ТНВД; 18 - регулировочные параметры; 19 - кольцо подшипника; 20 - болт; 21 - кронштейн; 22 - рычаг останова; 23 - болт; 24 - корпус регулятора; 25 - крышка регулятора; 26 - крышка смотрового люка; 27 - болт регулировки минимальной частоты вращения; 28 - болт регулировки максимальной частоты крашения; 29 - рычаг управления, 30 - корректор по наддуву; 31 - шпилька; 32 - гайка; 33 - шайба.
Регулятор имеет корректор подачи топлива, автоматический обогатитель топливоподачи, работающий на пусковых оборотах, и противодымный пневмокорректор 30.
ТНВД имеет закрытый корпус, отлитый из алюминиевого сплава. Гнезда для установки секций имеют однорядное расположение. Топливоподкачивающий насос крепится с помощью накладок к корпусу ТНВД
















