148439 (692347)
Текст из файла
Размещено на http://www.allbest.ru/
Министерство транспорта Российской Федерации
Федеральное агентство железнодорожного транспорта
ГОУ ВПО Дальневосточный государственный университет путей сообщения
Кафедра: «мосты и транспортные тоннели»
Группа 43М
Пояснительная записка
к курсовой работе по железнодорожному пути на мостах
КР-270210.405.000.00-43М
Консультант:___________/___________ Смышляев Б. Н.
Разработал:____________/___________ Горбунов С. С.
2010
Содержание
-
Общее положение по устройству мостового полотна на железнодорожных мостах
-
Требования к элементам мостового полотна (для заданного типа)
-
Рельсы
-
Поперечина
-
Рельсовые скрепления ( клеммы)
-
Прикрепление мостового полотна к пролетному строению
-
Устройства, обеспечивающие безопасность движения поездов по мостам и безопасность эксплуатации мостов
-
Контруголки или контррельсы
-
Охранные уголки
-
Тротуары и площадки убежища
Расчёт элементов мостового полотна (деревянной поперечины)
проектирование бесстыкового пути на мостах
5.1 Бесстыковой путь с уравнительными приборами
5.2 бесстыковой путь с сезонными уравнительными рельсами
Заключение
Список литературы
Приложение (план мостового полотна с заданными деталями)
-
Общее положение по устройству мостового полотна на железнодорожных мостах.
В данной курсовой работе приведен пример расчёта деревянной поперечины с заданной нагрузкой на ось, определение типа рельса и уравнительного прибора, представлены примеры и краткие характеристики некоторых элементов железнодорожного полотна, так же было произведено проектирование бесстыкового пути та мостах и сделан вывод, что при заданной длине пролёта L=130 м. и характерного температурного интервала (от -
до
, г. Ржев) могут применят как уравнительные припоры типа Р-65, так и сезонные уравнительные рельсы (4 пары).
В современном мире огромную роль в развитии рыночных отношений играют железные дороги. По ним перевозится большая часть всех грузов в различных направлениях.
Другое важное назначение железной дороги это перевозка людей, которая должна быть достаточно комфортна и осуществляться в максимально короткие сроки, в тоже время иметь достаточные возможности для обеспечения безопасности перевозки.
Для обеспечения всех вышеперечисленных условий необходим постоянный контроль и своевременный ремонт на всех участках железной дороги в особенности это касается участков на искусственных сооружениях, где больше всего путь работает в экстремальных условиях и где любая авария может привести не только к поломке искусственного сооружения, но и к человеческим жертвам. В связи с этим должен постоянно проводиться в соответствии с нормами контроль и профилактика конструкций верхнего строения пути.
-
требования к элементам мостового полотна (для заданного типа)
-
Рельсы
Исходя из данных, что грузонапряженность ж. д. линии, Т*км брутто\км*год равна 66 млн, следует, что для данной ж. д. линии необходимо применить тяжёлый рельс Р65.
Грузонапряженность данного типа рельса 25-86 в млн. Т*км брутто\км*год.
При езде на мостовых брусьях, расстояние междукоторыми не более 100-150 мм. В свету, стыки рельсов распологаются на весу.
Рельсы предназначены для непосредственного восприятия и упругого перерабатывания и передачи подрельсовые опоры напряжения, для направления в движении колёсных пар подвижного состава и служит как электро проводник на участках с автоблокировкой и электротягой.
Основные размеры (мм):
- ширина подошвы рельса «В» - 150
- высота рельса «Н»– 180
- ширина головки «b»– 75
- ширина шейки «е»– 18
Рисунок 2.1-Рельс Р-65.
-
Поперечины
Предназначены для восприятия напряжения, а так же для связи рельсов, контруголков и досок настила, что представляет собой единую конструкцию.
Данная конструкция крепится к опорам с помощью «лап», которые позволяют не повредив конструкции прижать её к опорам.
Мостобрус имеет длину от 320 до 325 мм, высоту 24 мм, ширину 20 мм. Мостовые деревянные брусья (по ГОСТ 28450-90) могут изготавливаться из древесины: сосны, ели, пихты, лиственницы, кедра и березы. Основными породами леса для отечественных железных дорог являются хвойный, как сосна (70%), ель и другие (30%).
Размеры поперечных сечений мостовых брусьев установлены для древесины с абсолютной влажностью не более 22%. При большей влажности древесины шпалы и брусья должны изготавливаться с таким принципом: для хвойных пород по ГОСТ 6782.1-75, а для лиственных по ГОСТ 6782.2-75.
Рисунок 2.2-поперечина.
-
Рельсовые скрепления
Скрепления служат для прикрепления рельсов к подрельсовому основанию, соединения рельсов в стыкх, восприятия нагрузок от подвижного состава вместе с другими элементами верхнего строения пути.
Стыковые скрепления должны удовлетворять следующим требованиям:
-
прочность и жесткость;
-
при изменении температуры возможность продольного перемещения концов рельсов;
-
простота конструкции;
-
экономичность;
-
удобные, безопасные и надёжные в изготовлении и эксплуатации.
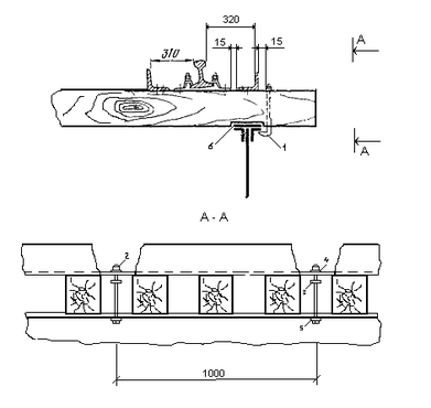
2.4 Прикрепление мостового полотна к пролетному строению
Прикрепление мостового полотна к пролетному строению должно быть надежным и долговечным и обеспечивать передачу нагрузки от подвижного состава на балки пролетного строения.
Мостовое полотно с деревянными поперечинами устраивается на металлических мостах. Мостовые брусья укладывают на продольные балки с расстоянием в свету не менее 10 см. и не более 15 см. во избежание провала колес между брусьями. Мостовые брусья плотно прирубают к поясам пролетных строений продольных балок. Глубина врубок в мостовые брусья не менее 5 мм. и не более 30 мм. Все мостовые брусья крепятся к поясам продольных балок или ферм, лапчатыми болтами, или с помощью обычных болтов через противоугонные или охранные уголки.
Рисунок 2.4-1-лапчатый болт; 2-рабочая гайка; 3-страховочная гайка;4-шайба пружинная; 5-шайба плоская; 6-проаладка
-
Устройства обеспечивающие безопасное движение поездов
3.1 Контруголки или контррельсы
Основное назначение охранных приспособлений заключается в обеспечении безопасного прохода поезда по мосту в случае схода с рельсов колёсной пары или тележки на мосту и на подходах к нему. При этом должны быть максимально ограниченны боковые смещения подвижного состава.
Именно для этого и устраивают специальные охранные устройства называемые контруголками или контррельсами.
Такие охранные приспособления применяют на мостовом полотне с ездой на балласте. На мостах с безбалластным полотном из поперечин сход колёс с рельсов более опасен, поэтому на таком полотне дополнительно устраиваются охранные или противоугонные уголки или брусья.
Контруголки или контррельсы укладываются на всей протяжённости моста. При этом их протягивают внутри каждой колеи до задней грани устоев и далее их концы на протяжённости не менее 10м сводят «челноком»,заканчивающимся металлическим башмаком установленной конструкции.
Рисунок 3.1-контруголок.
3.2 Охранные уголки
Основное назначение охранных уголков заключается в том, что при сходе колёс подвижного состава с рельсов и обломке мостовых брусьев он препятствует их продольной сдвижке в направлении движения поезда.
На всех мостах при езде на мостовых брусьях или на металлических поперечинах должны быть устроены охранные уголки или охранные брусья, которые укладываются с наружной стороны путевого рельса
В качестве противоугонных уголков должны использоваться неравнобокие уголки сечением 160*100*10 мм или равнобокие сечением 125*125*10 мм. Охранные брусья должны быть сечением 15*20 см.
Противоугонные уголки укладываются на расстоянии не менее300 мм и не более 400 мм от наружной грани головки путевого рельса. На мостах с металлическими поперечинами противоугонные уголки должны соответствовать проекту. Укладка охранных уголков и брусьев производится в соответствии с Указаниями по устройству и конструкции мостового полотна на железнодорожных мостах.
Для предупреждения провала колёс сошедшего с рельсов подвижного состава над поперечными балками устраивают переходные столики, а при контруголках и охранных уголках – подвесные мостики установленной конструкции. Конструкция стыка охранного уголка показана на рис.3.2.
Рисунок 3.2-охранный уголок.
1 – стыковая уголковая накладка; 2 – стыковой болт; 3 – высокопрочный болт.
3.3 Тротуары и площадки убежища
Мосты полной длиной более 25 м, а также все мосты высотой более 3 м, мосты, расположенные в пределах станций, и все путепроводы должны иметь двухсторонние боковые тротуары с перилами, располагаемыми вне габарита приближения строений.
В северных условиях двухсторонние боковые тротуары должны иметь все мосты полной длиной более 10 м. Перила на мостах высотой от 3 до 5м там, где они отсутствуют, должны устраиваться в плановом порядке.
На двухпутных пролётных строениях, а также на двухпутных и многопутных мостах с ездой поверху на общих опорах во всех случаях должны быть тротуары в междупутье. Настил из досок укладывают снаружи колеи по 4 шт. Сечением 20х5 см с зазором 2см между досками, внутри колеи – по 2 шт. Сечением 20х3 с зазором 4 см, при отсутствии боковых тротуаров внутри колеи укладывают три доски. Над подвижными концами пролётных строений настил должен иметь возможность перемещения вместе с подвижными концами пролётного строения.
На тротуарах с металлическими консолями рекомендуется применять металлический настил просечного или рифлёного профиля, возможно применять настил из арматурной стали, а также настил из железобетонных плит. Металлический настил разрешается укладывать внутри колеи.
Рисунок 3.3-перила.
1 – поручень перил 80*80*8; 2 – заполнение перил; 3 – фасонка; 4 – стойка перил 80*80*8; 5 – заполнение перил – швеллер №14; 6 – плита тротуара; 7 – болт диаметром 22 (мм); 8 – фасонка.
Для укрытия людей, противопожарного инвентаря, механизмов, оборудования и материалов при производстве ремонтных работ на мостах должны быть устроены убежища.
Убежища на мостах должны располагаться через 50 м с каждой стороны пути в шахматном порядке (на скоростных линиях – через 25 м). При длине моста 50 - 100 м допускается устраивать по одному убежищу с каждой стороны пути. Размеры убежищ: 3 м вдоль оси моста и 1 м поперёк оси моста.
Тротуары и убежища на всех постоянных мостах должны ограждаться перилами высотой 1,1 м. Стойки и поручни должны быть не менее 70х70х8 мм.
-
Расчёт элементов мостового полотна (деревянной поперечины)
Характеристики
Тип файла документ
Документы такого типа открываются такими программами, как Microsoft Office Word на компьютерах Windows, Apple Pages на компьютерах Mac, Open Office - бесплатная альтернатива на различных платформах, в том числе Linux. Наиболее простым и современным решением будут Google документы, так как открываются онлайн без скачивания прямо в браузере на любой платформе. Существуют российские качественные аналоги, например от Яндекса.
Будьте внимательны на мобильных устройствах, так как там используются упрощённый функционал даже в официальном приложении от Microsoft, поэтому для просмотра скачивайте PDF-версию. А если нужно редактировать файл, то используйте оригинальный файл.
Файлы такого типа обычно разбиты на страницы, а текст может быть форматированным (жирный, курсив, выбор шрифта, таблицы и т.п.), а также в него можно добавлять изображения. Формат идеально подходит для рефератов, докладов и РПЗ курсовых проектов, которые необходимо распечатать. Кстати перед печатью также сохраняйте файл в PDF, так как принтер может начудить со шрифтами.
















