148422 (692341), страница 2
Текст из файла (страница 2)
Для наблюдения за работой пневматического тормозного привода и своевременной сигнализации о его состоянии и возникающих неисправностях в кабине на щитке приборов имеются пять сигнальных лампочек, двухстрелочный манометр, показывающий давление сжатого воздуха в ресиверах двух контуров (I и II) пневматического привода рабочей тормозной системы, и зуммер, сигнализирующий об аварийном падении давления сжатого воздуха в ресиверах любого контура тормозного привода.
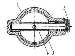
Механизм вспомогательной тормозной системы показан на рис 1.3.
Рис. 1.3. Механизм вспомогательной тормозной системы: 1 – корпус; 2 – рычаг поворотный; 3 – заслонка; 4 – вал
В приемных трубах глушителя установлены корпус 1 и заслонка 3, закрепленная на валу 4. На валу заслонки закреплен также поворотный рычаг 2, соединенный со штоком пневмоцилиндра. Рычаг 2 и связанная с ним заслонка 3 имеют два положения. Внутренняя полость корпуса сферическая. При выключении вспомогательной тормозной системы заслонка 3 устанавливается вдоль потока отработавших газов, а при включении – перпендикулярно потоку, создавая определенное противодавление в выпускных коллекторах. Одновременно прекращается подача топлива. Двигатель начинает работать в режиме компрессора [6].
1.3 Принцип работы пневматических тормозов
Работа пневматической системы тормозов: в компрессоре создается запас воздуха под давлением, который хранится в воздушных баллонах. При нажатии на педаль тормоза воздействует на тормозной кран, который создает давление в тормозных камерах, которые приводят в действие через рычаг тормозной механизм, который и производит торможение и при отпуске педали прекращается торможение. Принцип действия: при работающем двигателе и отпущенной педали компрессор накачивает воздух в баллоны, где он хранится под давлением. Из баллонов воздух поступает к тормозному крану, от тормозного крана воздух поступает через верхнюю секцию в баллоны прицепа. При нажатии на педаль тормоза верхняя секция закрывается, и воздух прекращает поступать к прицепу. Тормозной кран прицепа открывается, и воздух из баллонов прицепа поступает в пневмокамеры прицепа, и прицеп начинает затормаживать. Нижняя секция тормозного крана автомобиля открывается, и воздух поступает из баллонов автомобиля к пневмокамерам автомобиля, и автомобиль начинает затормаживать. Воздух, поступая в пневмокамеры, давит на диафрагму, она, сжимая пружину, смещается и давит на толкатель, а он передаёт усилие на рычаг и валик разжимного кулака. Разжимной кулак поворачивается и разводит колодки. При отпускании педали тормоза всё возвращается в исходное положение за счёт возвратных пружин, а воздух из пневмокамер выходит в атмосферу через кран.
-
Тормозные жидкости
Тормозные жидкости служат для передачи энергии к исполнительным механизмам в гидроприводе тормозной системы автомобиля.
Рабочее давление в гидроприводе тормозов достигает 10 МПа и более. Развиваемое давление передается на поршни колесных цилиндров, которые прижимают тормозные накладки к тормозным дискам или барабанам. При торможении кинетическая энергия при трении превращается в тепловую. При этом освобождается большое количество теплоты, которое зависит от массы и скорости автомобиля. При экстренных торможениях автомобиля температура тормозных колодок может достигать 600°С, а тормозная жидкость нагреваться до 150°С и выше. Высокие температуры в тормозах и гигроскопичность жидкости приводят к ее обводнению и преждевременному старению. В этих условиях жидкость может отрицательно влиять на резиновые манжетные уплотнения тормозных цилиндров, вызывать коррозию металлических деталей. Но наибольшую опасность для работы тормозов представляет возможность появления в жидкости пузырьков пара и газа, образующихся при высоких температурных режимах эксплуатации из-за низкой температуры кипения самой жидкости, а также при наличии в ней воды.
При нажатии на педаль тормоза пузырьки газа сжимаются, и так как объем главного тормозного цилиндра невелик (5…15 мл), даже сильное нажатие на педаль может не привести к росту необходимого тормозного давления, т.е. тормоз не работает из-за наличия в системе паровых пробок [7].
Надежная работа тормозной системы – необходимое условие безопасной эксплуатации автомобиля, поэтому тормозная жидкость является ее функциональным элементом и должна отвечать комплексу технических требований. Важнейшие из них рассмотрены ниже.
Температура кипения. Это важнейший показатель, определяющий предельно допустимую рабочую температуру гидропривода тормозов. Для большей части современных тормозных жидкостей температура кипения в процессе эксплуатации снижается из-за их высокой гигроскопичности. К этому приводит попадание воды, главным образом за счет конденсации из воздуха. Поэтому наряду с температурой кипения «сухой» тормозной жидкости определяют температуру кипения «увлажненной» жидкости, содержащей 3,5% воды.
Температура кипения «увлажненной» жидкости косвенно характеризует температуру, при которой жидкость будет «закипать» через 1,5…2 года ее работы в гидроприводе тормозов автомобиля. Для надежной работы тормозов необходимо, чтобы она была выше рабочей температуры жидкости в тормозной системе.
Из опыта эксплуатации следует, что температура жидкости в гидроприводе тормозов грузовых автомобилей обычно не превышает 100 С. В условиях интенсивного торможения, например на горных дорогах, температура может подняться до 120 С и более.
В легковых автомобилях с дисковыми тормозами температура жидкости при движении по магистральным автострадам составляет 60…70°С, в городских условиях достигает 80…100°С, на горных дорогах 100…120°С, а при высоких скоростях движения, температурах воздуха и при интенсивных торможениях – до 150 С. В некоторых случаях (спецмашины, спортивные автомобили и т.д.) температура жидкости может превышать указанные значения.
Следует отметить, что начало образования паровой фазы тормозных жидкостей при нагреве, а следовательно, и паровых пробок в гидроприводе тормозов происходит при температуре на 20…25°С ниже температуры кипения жидкости. Это обстоятельство принимается во внимание при установлении показателей качества тормозных жидкостей [1].
Согласно требованиям международных стандартов температура кипения «сухой» и «увлажненной» тормозной жидкости должна иметь значения соответственно не менее 205 и 140С для автомобилей при обычных условиях их эксплуатации и не менее 230 и 155 С – для автомобилей, эксплуатирующихся на режимах с повышенными скоростями или с частыми и интенсивными торможениями, например на горных дорогах. Следует иметь ввиду, что на автомобиле, остановившемся после интенсивных торможений, температура жидкости может некоторое время повышаться за счет теплоты тормозных колодок из-за прекращения их охлаждения встречным потоком воздуха.
Вязкостно-температурные свойства. Процесс торможения обычно длится несколько секунд, а в экстренных условиях – доли секунды. Поэтому необходимо, чтобы сила, прилагаемая водителем к педали, быстро передавалась на поршни рабочих цилиндров. Это условие обеспечивается необходимой текучестью жидкости и определяется максимально допустимой вязкостью при температуре – 40°С: не более 1500 мм/с для жидкостей общего назначения и не более 1800 мм/с – для высокотемпературных жидкостей. Жидкости для Севера должны иметь вязкость не более 1500 мм/с при – 55°С.
Антикоррозионные свойства. В гидроприводе тормозов детали из различных металлов соединяются между собой, что создает условия для протекания электрохимической коррозии. Для предотвращения коррозии жидкости должны содержать ингибиторы, защищающие сталь, чугун, белую жесть, алюминий, латунь, медь от коррозии. Их эффективность оценивается по изменению массы и состоянию поверхности пластин из указанных металлов после их выдерживания в тормозной жидкости, содержащей 3,5% воды, в течение 120 ч при 100С.
Совместимость с резиновыми уплотнениями. Для обеспечения герметичности гидросистемы на поршни и цилиндры ставят резиновые уплотнительные манжеты.
Необходимое уплотнение обеспечивается, когда под воздействием тормозной жидкости манжеты несколько набухают и их уплотнительные кромки плотно прилегают к стенкам цилиндра. При этом недопустимо как слишком сильное набухание манжет, так как может произойти их разрушение при перемещении поршней, так и усадка манжет, чтобы не допустить утечки из системы.
Испытание на набухание резины осуществляется при выдерживании манжет или образцов резины в жидкости при 70 и 120°С. Затем определяется изменение объема, твердости и диаметра манжет.
Смазывающие свойства. Влияние жидкости на износ рабочих поверхностей тормозных поршней, цилиндров, манжетных уплотнений проверяется при стендовых испытаниях, имитирующих работу гидропривода тормозов в тяжелых условиях эксплуатации.
Стабильность при высоких и низких температурах. Тормозные жидкости в интервале рабочих температур от –50 до 150 С должны сохранять исходные показатели, т.е. противостоять окислению и расслаиванию при хранении и применении, образованию осадков и отложении на деталях гидропривода тормозов.
Ассортимент и эксплуатационные свойства. В настоящее время выпускается несколько марок тормозных жидкостей.
Жидкость БСК (ТУ 6–10–1533–75) представляет собой смесь бутилового спирта и касторового масла, имеет хорошие смазывающие свойства, но невысокие вязкостно-температурные показатели, используются в основном на старых моделях автомобилей.
Жидкость «Нева» (ТУ 6–01–1163–78) – основными компонентами являются гликолевый эфир и полиэфир, содержат антикоррозионные присадки.
Работоспособна при температуре до – 40…45С. Применяется в гидроприводе тормозов и сцеплений грузовых и легковых автомобилей.
Жидкость ГТЖ-22 м (ТУ 6–01–787–75) – на гликолевой основе. По показателям близка к «Неве», он обладает худшими антикоррозионными и вязкостно-температурными свойствами. Рекомендуется для применения лишь на отдельных моделях грузовых автомобилей.
Жидкость «Томь» (ТУ 6–01–1276–82) разработана взамен жидкости «Нева».
Основные компоненты – концентрированный гликолевый эфир, полиэфир, бораты; содержит антикоррозионные присадки. Имеет лучшие эксплуатационные свойства, чем «Нева», более высокую температуру кипения. Совместима с «Невой» при смешивании в любых соотношениях.
Жидкость «Роса» (ТУ 6–05–221–564–84) разработана для новых моделей легковых автомобилей, в первую очередь ВАЗ-2108. Основной компонент – боросодержащий полиэфир; содержит антикоррозионные присадки. Она имеет высокие значения температуры кипения (260°С) и температуры кипения «увлажненной» жидкости (165°С). Это обеспечивает надежную работу тормозной системы при тяжелых эксплуатационных режимах и позволяет увеличить срок службы жидкости.
Для автомобилей, эксплуатирующихся в районах Крайнего Севера, необходима специальная жидкость, у которой вязкость при -55°С должна быть не более 1500 мм2/с. При отсутствии такой жидкости практикуется разбавление жидкости «Нева» и «Томь» 18…20% этилового спирта. Такая смесь работоспособна при температуре до -60°С, однако имеет низкую температуру кипения и не обеспечивает герметичности резиновых манжетных уплотнений. Поэтому разбавление жидкости спиртом – вынужденная мера, и по окончании зимней эксплуатации смесь следует заменить.
Жидкости «Нева», «Томь», «Роса» совместимы, их смешивание между собой возможно в любых соотношениях. Смешивание указанных жидкостей с БСК недопустимо, так как приведет к расслоению смеси и потере необходимых эксплуатационных свойств.
Зарубежными аналогами жидкостей «Нева» и «Томь» являются жидкости соответствующие международной классификации ДОТ-3, которые имеют температуру кипения более 205°С, а для жидкости «Роса» – жидкости ДОТ-4 с температурой кипения более 230°С [3].
Жидкости типа БСК на современных моделях автомобилей за рубежом не применяются.
2. Техническое обслуживание тормозов с пневматическим приводом
2.1 Значение и сущность технического обслуживания и ремонта автомобилей
Чтобы обеспечить работоспособность автомобиля в течение всего периода эксплуатации, необходимо периодически поддерживать его техническое состояние комплексом технических воздействий, которые в зависимости от назначения и характера можно разделить на две группы: воздействия, направленные на поддержание агрегатов, механизмов и узлов автомобиля в работоспособном состоянии в течение наибольшего периода эксплуатации; воздействия, направленные на восстановление утраченной работоспособности агрегатов, механизмов и узлов автомобиля.
Комплекс мероприятий первой группы составляет систему технического обслуживания и носит профилактический характер, а второй – систему восстановления (ремонта).
У нас в стране принята планово-предупредительная система технического обслуживания и ремонта автомобилей. Сущность этой системы состоит в том, что техническое обслуживание осуществляется по плану, а ремонт – по потребности.
Принципиальные основы планово-предупредительной системы технического обслуживания и ремонта автомобилей установлены действующим Положением о техническом обслуживании и ремонте подвижного состава автомобильного транспорта.
















