148274 (692269), страница 2
Текст из файла (страница 2)
Рис.10 Рис.11
1— распылитель форсунки; 2 —форсунка; 3 —нагнетательная трубка; 4 — распределитель; 5 —манометр; б —трубка; 7 —бачок с топливом; 8 — фильтр; 9 — трубка, подводящая топливо к секции; 10 — нагнетательная трубка; 11 — регулирующая рейка секции насоса; 12 —секция насоса; 13 — неподвижная ось качания рычага; 14 — рукоятка.
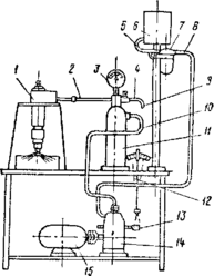
1 — форсунка; 2 — нагнетательная трубка; 3 — манометр; 4 — вентиль; 5 — трубка; 6 — бачок с топливом; 7 —фильтр; 8— трубка, подводящая топливо к секции; 9— спускная трубка; 10 — нагнетательная трубка; 11—аккумулятор; 12 — стрелка, показывающая положение рейки: 13 — рейка секции насоса; 14—насос; 15 — электродвигатель.
Из насоса топливо под давлением нагнетается по трубке 10 в аккумулятор 11, имеющий объём около 2 л. От аккумулятора по нагнетательной трубке 2 топливо поступает к форсунке 1, установленной на стенде. Давление дизельного топлива в аккумуляторе и его нарастание контролируются манометром 3. Количество топлива, подаваемого насосом 14, и скорость нарастания давления в системе регулируются рейкой 13. Поднятие давления в аккумуляторе от нуля до 265 кг/см2 осуществляется насосом 14 при полной подаче со скоростью 10 кг/см2 за 1'0—12 сек. Дальнейшее нарастание давления происходит медленно, и это необходимо для того, чтобы точно определить, при каком давлении осуществляется впрыск, что позволит проверить затяжку пружины форсунки. Впрыск должен происходить при давлении 275 ± 5 кг/см2; при этом, после впрыска давление в аккумуляторе и во всей системе должно снижаться па величину 40—60 кгс/см2, что определяется по манометру 5.
После проверки затяжки пружины рейку 13 насоса 14 устанавливают таким образом, чтобы впрыск осуществлялся 1 раз в 1 сек., а затем ещё несколько уменьшают подачу с таким расчётом, чтобы впрыск осуществлялся 1 ран в 3—5 сек. По этим впрыскам и определяют качество распыла и действие форсунки. Распылённое топливо должно иметь туманообразное состояние и равномерно распределяться по поперечному сечению струи. Факелы топлива не должны иметь вылетающих капель; сплошных струек или сгущений. При медленном нарастании давления, примерно до 265 кг/см2, распылитель не должен давать подтекания топлива, капель или дугообразных струй в виде «усов».
Начало и конец впрыска должны быть чёткими, резкими и сопровождаться своеобразным звонким звуком. Угол распыла (угол между осями противоположно лежащих сопловых отверстий) должен быть в пределах 154—156°. После проверки распылителя на качество распыла следует ещё раз проверить затяжку пружины. При снятии форсунки со стенда необходимо при помощи вентиля 4 понизить давление во всей системе и лишь затем приступать к отсоединению нагнетательной трубки.
Кроме проверки качества распыла на стенде с механическим приводом, форсунку проверяют и на ручном стенде. При этом испытании форсунку укрепляют на столе стенда, соединяют с нагнетательной трубкой и рукояткой 14 (см. рис. 10) нагнетают топливо в форсунку, пока не произойдёт 1—2 резких впрыска, затем той же рукояткой 14 медленно повышают давление в системе. При этом впрыск должен осуществляться в виде прерывистых струй. При таком протекании процесса впрыска форсунка издаёт характерный звук. Такой впрыск носит название «дробящего впрыска».
Для проверки распылителя на герметичность на стенде должна быть установлена форсунка, имеющая вполне исправный механизм.
При испытании рейка 13 секции ручного насоса 12 должна быть установлена на полную подачу топлива, а пружина форсунки 2 отрегулирована на давление 400 атм. Рукояткой 14 создают давление в сети не менее 390 атм. И наблюдают по манометру 5 падение давления. При прохождении стрелкой манометра деления, соответствующего давлению топлива 380 атм., включают секундомер и удерживают его включённым до тех пор, пока давление не снизится до 330 атм. Падение давления происходит вследствие просачивания дизельного топлива по зазору между иглой и корпусом распылителя. У нормально работающего распылителя падение давления от 380 до 330 атм, т. е. на 50атм, должно происходить за 18—25 сек. Указанная плотность (18—25 сек.) относится к новым или капитально отремонтированным распылителям. Что же касается распылителей, проверяемых при периодических осмотрах тепловозов, то их плотность может быть допущена меньшей, но не ниже 8 сек.
При плотности менее 8 сек. распыливание топлива будет неудовлетворительным, что нарушит процесс сгорания, увеличит расход топлива и приведёт к быстрому загоранию поршневых колец.
Испытание распылителя на гидравлическую плотность производится на тщательно профильтрованном дизельном топливе при окружающей температуре помещения 15—25°. При этом полученная плотность сравнивается с плотностью эталонной пары, отобранной при вязкости дизельного топлива 1,43— 1,45 по Энглеру при температуре 20—21°.
Технология ремонта
Корпус
Корпус форсунки подлежит замене при наличии:
-
трещин любого размера и расположения;
-
сорванных более 2-х ниток резьбы;
-
забоин и вмятин на резьбе, не поддающихся исправлению;
-
глубоких забоин, задиров, сколов, цементированного слоя на поверхности «А», не устраняемых шлифованием в пределах цементированного слоя;
-
износа превышающего допустимые размеры. Забоины, вмятины, острые кромки на корпусе форсунки устранить зачисткой (напильником, наждачным камнем или шлифованием). Отпечатки на торцевой поверхности «А» от распылителя и иглы допускается не выводить. Проверить прямолинейность отверстия «Б» калибром для Д50 Д=0,8±11 Калибр должен входить свободно.
Распылитель
Промыть пару (игла-корпус распылителя) в профильтрованном дизельном топливе. Произвести ревизию состояния распылителя наружным осмотром, распылитель заменить при наличии:
-
трещин, сколов кромок торцов корпуса;
Восстановление подвижности иглы распылителя
Восстановить подвижность иглы путём промывки и очистки прецизионных поверхностей в ванночках с керосином, применяя щётки, ёршики, плотную бумагу. Производить следующее взаимное расхоживание пары на доводочном станке без применения пасты.
При невозможности устранения дефекта вышеизложенным способом, производить взаимную притирку пары в следующей последовательности:
-
закрепить иглу в цанговом патроне стакана;
-
нанести на цилиндрическую поверхность небольшое количество тонкой притирочной пасты разведённой в веретённом масле.
-
надеть корпус распылителя на иглу и вручную обеспечить их взаимное перемещение:
-
осуществить при частоте вращения шпинделя станка 240-300 об/мин возвратно-поступательное перемещение корпуса с частотой 30-40 ходов в 1 минуту на 40-60% длины прецизионной поверхности.
-
после 15-30 с притирки промыть пару в керосине, смочить детали профильтрованным дизельным топливом и проверить подвижность иглы. Подвижность иглы в корпусе должна быть свободной, плавной, без прихватов. Совместно доведённые цилиндрические поверхности должны иметь ровный отблеск по всей площади соприкосновения.
Выпрессовка иглы из корпуса распылителя
-
очистить и промыть прецизионные поверхности - при тугом перемещении на всю длину произвести взаимное расхоживание пары на станке
-
вставить иглу в корпус и оценить степень её перемещения;
-
при наличии на прецизионной поверхности иглы рисок и следов коррозии применить при расхаживании тонкую пасту;
-
если игла не входит в отверстие корпуса или входит частично, применить доводку с использованием более грубых паст (М5 или М7). Приспособление для выпрессовки заклиненных игл собираются по технологии сборки форсунок. Работа приспособлений осуществляется следующим образом. Приспособление с собранным ремонтируемым распылителем установите на стенд типа А 106 по технологии установки соответствующей форсунки. Поднимайте давление топлива (не выше 40 МПа (400 кгс/см2), пока не будет услышан характерный щелчок, означающий выход иглы из корпуса распылителя. Если игла не выпрессовалась из корпуса при достижении давления внутри приспособления до 40 МПа (400 кгс/см2), то такой распылитель не подлежит восстановлению.
Восстановление работоспособности запирающего конусного соединения
Операцию по восстановлению герметичности запирающего конусного соединения выполнить в следующей последовательности:
-
зажать хвостовик иглы в цанговом патроне притирочного станка. Радиальное биение конуса иглы должно быть не более 0,015 мм;
-
нанести на цилиндр иглы тонкий слой моторного масла вязкостью 12-20 сСт;
-
развести доводочную пасту М5 или М7 в веретённом масле в соотношении 1:3;
-
нанести тонкую полоску пасты ан конус иглы ближе к его вершине;
-
включить станок и установить частоту вращения шпинделя станка 150-300 об/мин;
-
надвинуть на иглу корпус распылителя до соприкосновения запирающих конусов;
-
прижать корпус распылителя к игле усилием 15-20 Н (1,5-2 кг) в течении 2-3 с;
-
выполнить в течении 12-15 с соударения с силой 15-20 Н (1,5-2 кг) и частотой один удар в секунду (1 Гц)
-
сдвинуть конус с иглы, протереть конус иглы салфеткой и визуально оценить ширину блестящего пояска у основания конуса;
-
если ширина контактного пояска порядка или менее 0,3 мм то иглу снять со станка, промыть в керосине и протереть салфеткой;
-
закрепить в патрон латунный стержень с навёрнутой на резьбовой конец ватой и протереть прецизионные поверхности корпуса распылителя;
-
промыть корпус в керосине;
-
собрать распылитель в контрольной форсунке и проверить его работоспособность. Распылители с шириной контактного пояска на конусе иглы примерно более 0,3 мм требуют продолжение ремонта без проверки работоспособности.
Ремонт запирающего конуса иглы с восстановлением оптимальной ширины контактного пояска
-
зажать иглу в патроне (станок типа ПР279), оставив свободным конец иглы со стороны запирающего конуса такой длины, которая позволила бы устранить на нём приспособление для обнажения (снятого слоя) нерабочей части конуса иглы с гарантированным зазором между патроном и корпусом приспособления 2. Радиальное биение конуса иглы должно быть не более 0,01 мм;
-
установить на иглу приспособление таким образом, чтобы поясок на конусе иглы шириной от основания конуса примерно 0,2-0,3 мм был перекрыт гайкой 3 приспособления. После этого законтрогаить гайку в этом положении на иглу;
-
сдвиньте приспособление с иглы, включите привод станка и снова надвинуть приспособление на иглу;
-
произвести шлифовку открытой части конуса иглы, прижимая
-
зажать иглу в патроне (станок типа ПР279), оставив свободным конец иглы со стороны запирающего конуса такой длины, которая позволила бы устранить на нём приспособление для обнажения (снятого слоя) нерабочей части конуса иглы с гарантированным зазором между патроном и корпусом приспособления 2. Радиальное биение конуса иглы должно быть не более 0,01 мм;
-
установить на иглу приспособление таким образом, чтобы поясок на конусе иглы шириной от основания конуса примерно 0,2-0,3 мм был перекрыт гайкой 3 приспособления. После этого законтрогаить гайку в этом положении на иглу;
-
сдвиньте приспособление с иглы, включите привод станка и снова надвинуть приспособление на иглу;
-
произвести шлифовку открытой части конуса иглы, прижимая абразивный брусок к образующей конуса, одновременно перемещая его вдоль и поперёк образующей. Режим операции занижения нерабочей части конуса иглы:
-
частота вращения 950-1500 об/мин
-
продолжительность обработки 15-20 сек.
-
усилие нажатия абразивного бруска на обрабатываемую поверхность конуса 5-15 Н или 0,5-К5 кгс.
Восстановление запирающего конуса после занижения нерабочей части конуса иглы
-
нанести на цилиндрическую часть иглы, зажатой в цанге станка, 2,-3 капли моторного масла;
-
развести тонкую доводочную пасту в веретённом масле в соотношении 1:3 и нанести тонким слоем на контактный поясок;
-
установить на иглу приспособление для доводки конуса иглы распылителя и подтянуть гайку 2, установив минимальный диаметральный зазор между корпусом цанги и иглой;
-
сдвинуть с иглы приспособление, включить станок, установить частоту вращения шпинделя 300-400 об/мин и надвинуть на иглу приспособление;
-
прижать приспособление в осевом направлении к запирающему конусу иглы на 15-20 с. При этом равномерно постукивать (1-1,5 удара в секунду) приспособлением по восстанавливаемой поверхности. Усилие прижатия 1,5-2 кгс;
-
снять приспособление, остановить станок, вынуть иглу и промыть её в керосине. Игла готова к сборке с корпусом распылителя;
-
установить отремонтированные распылители в контрольные форсунки и проверить их работоспособность. Распылители, оставшиеся неработоспособными после восстановления запирающего конуса, отремонтируйте путем чередования операций по правке контактного пояска на конусе иглы с взаимной притиркой запирающих конусов иглы и корпуса.
Проверка величины подъема иглы у отремонтированных форсунок
Величину подъема иглы можно измерить с помощью индикаторной стойки или с помощью специального приспособления. Измерение с помощью индикаторной стойки:
-
установите распылитель в стакан;
-
ножку индикатора установите с небольшим натягом на торец корпуса и переведите шкалу индикатора на нулевое значение,
-
перенесите ножку индикатора на заплечико иглы или торец ограничителя подъема иглы. При этом стрелка индикатора отклонится на величину "В" - подъема иглы распылителя. Измерение подъема иглы приспособлением:
-
выставьте шкалу индикатора на ноль, установив приспособление торцом на плоскую поверхность» Торец выдвижного стержня будет расположен в одной плоскости с торцом корпуса приспособления, В качестве плоской поверхности можно использовать нижнюю торцевую поверхность распылителя;
-
установите приспособление на верхний торец распылителя. Стрелка индикатора покажет величину подъема распылителя.
Сопловой наконечник
Промыть сопловой наконечник. Очистите распиливающие отверстия с помощью специальных игл, диаметр которых должен быть на 0,05-0,1 мм меньше диаметра отверстия. Продольный канал очистить шабером из мягкой латуни. Сопловой наконечник подлежит замене при наличии:
-
трещин;
-
разработки, распыливающих отверстий;
-
дефектов на поверхности "А", не поддающихся исправлению. Дайте оценку состояния наконечника по результатам испытаний. Нарушение плоскостности торцовой поверхности.
-
быстрое падение давления в. форсунке при опрессовке, Разработка (засорение) распиливающих отверстий
-
неудовлетворительное качество распиливания (односторонний распыл, вместо туманообразного распыла видны отдельные струи).
-
неудовлетворительные испытания по пропускной способности форсунок.
Колпак, гайка распылителя
Деталь подлежит замене при наличии:
-
трещина любого размера и расположения;
-
срыва или смятия более 2-х ниток резьбы;
-
смятия граней шестигранника;
-
износа, превышающего допускаемые размеры, Устраните зачисткой забоины, вмятины и натиры на наружной поверхности. При необходимости проконтролируйте поверхность конуса (поверхность "Б") калибром по краске. Прилегание должно быть по всей окружности уплотнительного пояска и по ширине не менее 50% поверхности.
Штанга
Детали подлежат замене при наличии:
-
трещин любого размера и расположения;
-
излома;
-
непрямолинейности (изгиб) более допускаемой величины;
-
износа, превышающего допускаемые размеры. Обеспечьте зазор между корпусом форсунки и штангой не более 0,25 мм путем подбора штанги.
Тарелка пружины
Тарелка подлежит замене при наличии:
-
трещин;
-
износа рабочих поверхностей сверх допускаемых размеров.
Фильтр щелевой
Детали щелевого фильтра подлежат замене при наличии:
-
трещин, сколов, изломов;
-
износа, забоин резьбы или сорванных более 2-х ниток;
-
смятия граней;
-
износов, превышающих допускаете размеры,
-
зазора между щелевым фильтром (стержнем) и корпусом более допускаемого. Промытый в дизельном топливе щелевой фильтр (стержень) в корпусе должен перемещаться плавно без прихватов.
Предельно допустимые размеры деталей при эксплуатации и различных видах ремонта
При оценке качества работы форсунок обычно исходят из ряда общих показателей работы двигателя. Например, если двигатель не дымит и даёт нормальную мощность, то считают, что топливная аппаратура находится в хорошем состоянии и форсунка подаёт топливо в цилиндре хорошим распылом. Но если двигатель после непродолжительного срока развивает заниженную мощность, имеет повышенную дымность, а иногда и не даёт необходимых оборотов, заданных положением рукоятки контроллера, то это будет указывать на плохую работу топливной аппаратуры. В таком случае необходимо снять форсунки с двигателя и подвергнуть проверке качество















