148230 (692255)
Текст из файла
СОДЕРЖАНИЕ
1. Теоретическая часть 2
1. Назначение, конструкция, условия работы, материалы блоков и блок-картеров судовых ДВС 2
2. Цилиндровые втулки 4-х тактных и 2-х тактных дизелей. Их устройство. Материал. Способ изготовления. 4
3. Способы посадки цилиндровых втулок в блок цилиндров и их уплотнение. Обеспечение взрывобезопасности в картере. 5
4. Характерные повреждения блоков-цилиндров и цилиндровых втулок. Способы их ремонта. 12
5. Правила техники безопасности при монтаже блоков-цилиндров и блоков-картеров и цилиндровых втулок. 15
2. Графическая часть 17
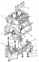
1. Начертить блок-картер ДВС 6NVD48U в сборе со втулкой. 17
2. Начертить виды уплотнений цилиндровых втулок. 17
3. Начертить предохранительный клапан картера и суфлера. 18
Список литературы 19
1. Теоретическая часть
1. Назначение, конструкция, условия работы, материалы блоков и блок-картеров судовых ДВС
Современный дизель представляет собой сложную тепловую машину, состоящую из определенных групп деталей, механизмов, систем и устройств. Современный двигатель состоит из неподвижных деталей двигателя, которые называются остовом дизеля, КШМ – служит для преобразования возвратно-поступательного движения поршня во вращательные движения коленвала, КШМ состоит из следующих деталей: поршень с пальцем, шатун, коленвал, кольца.
Механизм газораспределения – служит для организации обмена процесса газообмена в дизелях. Механизм наддува служит для принудительной подачи топлива в цилиндр двигателя. Топливные системы дизелей служат для подачи топлива в цилиндры двигателя. Смазочные системы двигателей служат для подачи масла к трущимся деталям для уменьшения силы трения при работе двигателя. Системы охлаждения – служат для отвода тепла при работе двигателя. Системы реверса и механизмы реверса – служат для применения направления вращения коленвала дизеля или для изменения направления вращения гребных винтов. Газоотводные системы дизеля служат для отвода выхлопных газов дизеля в атмосферу. Системы контроля параметров за работой дизеля – служат для измерения основных параметров дизеля при его работе. Системы управления дизелем служат для выпуска, регулирования частоты вращения, реверсирования и остановки дизеля. Системы ДУ и ДАУ – служат для дистанционного, автоматизированного управления дизелем.
Остов представляет собой совокупность неподвижных деталей, соединненых между собой и образующих корпус двигателя, на котором располагаются все устройства и механизмы дизеля. Остов двигателя состоит из следующих деталей: фундаментальная рама – служит для размещения коленвала двигателя, для образования ванны для масла, для закрепления дизеля на судовом фундаменте. Фундаментальная рама является основанием всего двигателя.
Станина – служит для образования картерного пространства двигателя, в котором вращается коленвал. Станина ставится на фундаментную раму и скрепляется с ней с помощью болтов. Сверху станины устанавливается блок цилиндров и скрепляется с помощью анкерных связей.
Блок цилиндров служит для размещения цилиндровых втулок, для размещения поршней и для образования пространства.
Крышки цилиндров – служат для образования камер сгорания и для размещения клапанов двигателя, если крышка цилиндров является общей на все цилиндры или общей на 2 цилиндра, то такие крышки называются головками.
Детали остова судовых ДВС соединяются между собой болтами, шпильками и с помощью анкерных связей.
Анкерная связь – это длинный болт с резьбой на обоих концах, предназначенный для скрепления фундаментальной рамы и блок-картера. Анкерные связи применяются не на всех дизелях, и их применение связано с обеспечением общей жесткости остова двигателя.
2. Цилиндровые втулки 4-х тактных и 2-х тактных дизелей. Их устройство. Материал. Способ изготовления
В 4-х тактных ДВс полный рабочий чикл совершается за два оборота и за 4 хода поршня. При работе ДВС в цилиндре происходит ряд последовательных процессов, которые обеспечивают работу двигателя. Рабочий цикл складывается из 4-х последовательных тактов: 1-впуск, 2 – сжатии е, 3 - рабочий ход, 4 – выхлоп.
Совокупность строго определенных и последовательных тактов, происходящих в цилиндре двигателя называется рабочим циклом.
Такт – это есть процесс, происходящий в цилиндре двигателя за 1 ход поршня.
Для того, чтобы лучше уяснить процессы, происходящие в цилиндре двигателя, строят индикаторную диаграмму. Она строится в координатах оси Р-V, где Р – ось давления, V – ось объема. Индикаторная диаграмма 4-х тактного дизеля показывает, как изменяется давление газа в цилиндре в зависимости от хода поршня. Ро – атмосферное давление, Ро - 760 мм рт. Столба = 1 технич. Атмосфере = 1 кг/см2=100 КПА = 1 МПа.
1 такт. Впуск. При движении поршня от В.М.Т. до Н.М.Т. при открытом всасывающем клапане свежий воздух поступает в цилиндр двигателя и происходит процесс наполнения – впуск свежего заряда воздуха.
2 такт. Сжатие. При сжатии поршень перемещается от Н.М.Т. до В.М.Т. и сжимает свежий заряд воздуха, в результате чего его давление и температура повышаются.
3 такт. Рабочий ход. После того, как сгорело 60% впрыснутого топлива и давление цилиндра резко повысилось, поршень двигается от В.М.Т. до Н.М.Т. и происходит рабочий ход.
4 такт. Выхлоп. С приходом поршня в Н.М.Т. открывается выхлопной клапан и происходит процесс выхлопа.
Рабочий цикл 2-х тактного дизеля происходит за два хода поршня и за один оборот коленвала. При ходе поршня от В.М.Т. до Н.М.Т. в цилиндре происходит сжатие воздуха. Выпуск отработанных газов и наполнение в цилиндр свежего заряда воздуха происходит тогда, когда поршень находится в районе Н.М.Т.
2-х тактные дизели от 4-х тактных отличаются следующими конструктивными особенностями:
1) у 2-х тактных дизелей на крышке цилиндров нет клапанов
2) Цилиндровые втулки в нижней своей части у 2-х тактных дизелей имеют продувочные и выхлопные окна. Выхлопные окна делаются всегда выше продувочных.
3) Окна цилиндровой втулки открываются стенками поршня.
4) у 2-х тактных дизелей имеется продувочный насос (воздушный насос), который создает давление продувочного воздуха.
3. Способы посадки цилиндровых втулок в блок цилиндров и их уплотнение. Обеспечение взрывобезопасности в картере
Проблема взрывов в картерах является актуальной как для тепловых двигателей, так и для механизмов разного назначения (редукторы, насосы, паросиловые установки, компрессоры). В этой статье содержится описание причин, обстоятельств и последствий взрывов в картерах, способы их выявления и предотвращения.
Опасность возникновения взрывов, как правило, возникает при повышении температуры в движущихся частях механизмов имеющих принудительную смазку. «Зона перегрева» — область, где генерируется тепло от трения деталей машин и механизмов при обилии смазки. Взрывы возникают у поршней, у поршневых пальцев, во втулках, в коренных и мотылёвых подшипниках, в цепных приводах и т.п. «Зона перегрева» является началом цепочки событий, которая ведёт к возможному взрыву. Обычно они возникают в результате аспектов влияющих на трение в узлах механизмов, таких как зазоры в подшипниках, недостаточная смазка движущихся частей (поршень-втулка цилиндра, ползун-полозья, крейцкопф и т.п.). Подшипники с нарушенным зазором часто из-за дефицита смазки приводят к быстрому перегреву. Возможны и другие изотермические причины, при которых приток смазочного масла к тому или иному узлу становится затруднённым, но, какова бы ни была первопричина, следствием является стремительное возрастание температуры у «горячей точки». Назначение смазочного масла не только в уменьшении трения движущихся частей, но и в отводе тепла, генерируемого в процессе трения.
Атмосфера внутри картера двигателя или любого другого механизма в процессе нормальной работы представляет собой смесь воздуха и механически генерируемого масляного тумана, частицы которого достаточно велики и трудновоспламенимы. Хотя это не исключено в полной мере, маловероятно, что эти шарики создадут взрывоопасную смесь. Тем не менее, существует устойчивое мнение, что обычный, создаваемый механическим путём масляный туман внутри картера представляет собой взрывоопасную смесь. Однако необходима ещё одна причина, предшествующая возникновению реальной опасности взрыва — «горячая точка». Независимо от причины возникновения «зоны перегрева», частицы смазочного масла, присутствующие в прилегающей зоне, будут испаряться при контакте с перегретой областью. Испаряющееся масло будет конденсироваться в более прохладном месте картера, не обязательно отдалённом от перегретой области, и образовывать более опасную разновидность тумана, состоящего из более мелких фракций и в большей степени взрывоопасных. Этот туман легко идентифицируется — он чрезвычайно плотен и обладает белесым оттенком. Картеры современных морских двигателей и механизмов, как правило, полностью закрыты и вентиляционные гусаки расположены в верхней части машинного отделения, либо вообще за его пределами, что существенно затрудняет визуальный контроль над изменением цвета и развивающейся насыщенностью выхлопных паров со стороны обслуживающего персонала и своевременное принятие предупреждающих мер.
На практике, физическое состояние неисправных узлов механизмов, в которых происходит зарождение «зоны перегрева», существенно усугубляют образование масляного тумана, генерируемого за счет термических процессов. Возникает возможность образования взрывоопасной концентрации масляного тумана в воздухе, при которой для взрыва будет достаточен только источник воспламенения. «Горячая точка» (зона перегрева), которая первоначально генерировала масляный туман, теперь может спровоцировать взрыв. Интенсивность взрыва будет зависеть от многих факторов, включая плотность, степень и объем взрывоопасной среды.
В последние годы стратегия изготовителей судовых двигателей была направлена на увеличение удельной мощности, что в свою очередь, неизбежно предполагает увеличение динамической нагрузки на подшипники коленчатого вала и другие высоконапряженные узлы. Важность эффективной смазки во избежание возникновения абразивного взаимодействия между движущимися узлами и отвода генерируемого при этом тепла приобрела ещё большее значение. Контроль над качеством смазочного масла и поддержание его в надлежащем состоянии представляет собой предмет особой важности, поскольку продукты сгорания или утечки топлива могут существенно увеличить риск возникновения «зоны перегрева» и вытекающих из этого последствий.
Регулярный анализ смазочного масла даёт возможность техническому персоналу судна судить о качестве смазочного масла в двигателе. Применяемое топливо оказывает значительное влияние на изменение качества масла в период эксплуатации. Низкосортные топлива требуют более тщательного и объёмного технического обслуживания, как масляных систем, так и двигателей в целом. Анализ взрывов в картерах показывает, что ряд случаев произошёл вследствие упущений в процессе выполнения работ по техническому обслуживанию, причём как по срокам, так и по содержанию.
Информация, собранная на протяжении ряда лет, показывает, что крупногабаритные тронковые, чаще — четырёхтактные, двигатели в большей степени подвержены взрывам в картерах, а более безопасными являются двигатели с V-образным расположением поршней. Причиной этого может быть относительно малая цилиндровая мощность в V-образных двигателях, так как зачастую зоны перегрева возникают вследствие повышенного трения между поршнем и втулкой. Восьмицилиндровый двигатель с продольным расположением поршней может заклинить с гораздо большей вероятностью, чем, скажем шестнадцати цилиндровый с V-образным расположением. Увеличение трения в одном цилиндре шестнадцатицилиндрового двигателя не вызывает каких-либо заметных изменений в состоянии работающего двигателя в течение значительного времени, тогда как аналогичная неисправность в одном из цилиндров восьмицилиндрового двигателя с рядным расположением поршней вызовет отклонения и по температуре уходящих газов и по числу оборотов. Поэтому и времени на образование взрывоопасной среды в картере, у рядного двигателя значительно меньше, а, следовательно, необходимость в срочном принятии действенных мер вплоть до останова увеличивается.
Генерируемый термическим путём масляный туман, как упоминалось ранее,обладает довольно плотной формой и, поэтому, легко определим. В настоящее время на основании требований Конвенции СОЛАС на судовых двигателях мощностью 2250 КВт и более с безвахтенным обслуживанием применение детекторов масляного тумана обязательно. В детекторах масляного тумана идёт постоянное сравнивание непрерывно извлекаемых проб атмосферы в картере с базовой или нормальной характеристикой фотоэлектрических ячеек. Фотоэлементы чувствительны к масляному туману и при его отсутствии будут находиться в состоянии электрического равновесия, однако, по мере того как масляный туман усиливается измерительный прибор, осуществит запись и вывод показаний несбалансированного тока на панель сигнализации. Система может быть отрегулирована таким образом, что, при определённом уровне отклонения показаний измерительного прибора будут срабатывать сигнал тревоги и защитные функции (снижение нагрузки, уменьшение оборотов, останов). Следует, однако, не забывать о том, что детектор контролирует наличие масляного тумана потенциально опасного характера по отсекам картера и его эффективность зависит от концентрации паров масла вблизи точки отбора проб. Аппаратура для отбора проб требует установки относительно длинных трубопроводов между анализатором и точками отбора проб в картере. Если воздухонепроницаемость трубопровода нарушена, то будет проникать свежий воздух к измерительному прибору и показания искажаться. Очевидно, что детектор масляного тумана является важнейшим средством по обеспечению безопасности и в связи с этим, по меньшей мере, ежедневно должен тщательно проверяться обслуживающим персоналом.
Необычный шум двигателя часто может являться предвестником взрыва в картере, так как характеризует ухудшение работы подшипников либо других трущихся частей механизма. Анализ таких аномалий в сочетании с показаниями детектора масляного тумана позволяет своевременно принять неотложные меры по снижению оборотов или останове механизмов. Естественное любопытство, в сочетании с настойчивыми потребностями восстановить ход, часто приводит к тому, что персонал машинного отделения открывает лазы доступа в картер почти сразу после останова двигателя. При наличии масляного тумана это может представить собой смертельную опасность, мгновенно создавая идеальную взрывоопасную атмосферу. Прежде, чем предпринять какие-либо действия по проникновению в картер, необходимо дать время на охлаждение внутри картерной среды в течение не менее 20-ти минут.
Характеристики
Тип файла документ
Документы такого типа открываются такими программами, как Microsoft Office Word на компьютерах Windows, Apple Pages на компьютерах Mac, Open Office - бесплатная альтернатива на различных платформах, в том числе Linux. Наиболее простым и современным решением будут Google документы, так как открываются онлайн без скачивания прямо в браузере на любой платформе. Существуют российские качественные аналоги, например от Яндекса.
Будьте внимательны на мобильных устройствах, так как там используются упрощённый функционал даже в официальном приложении от Microsoft, поэтому для просмотра скачивайте PDF-версию. А если нужно редактировать файл, то используйте оригинальный файл.
Файлы такого типа обычно разбиты на страницы, а текст может быть форматированным (жирный, курсив, выбор шрифта, таблицы и т.п.), а также в него можно добавлять изображения. Формат идеально подходит для рефератов, докладов и РПЗ курсовых проектов, которые необходимо распечатать. Кстати перед печатью также сохраняйте файл в PDF, так как принтер может начудить со шрифтами.















