148226 (692254)
Текст из файла
Содержание
1 Общие сведения о судне
2 Радиопеленгатор «Румб»
3 Эхолот «НЭЛ-М3В»
4 РПС «Наяда»
5 ГК «Вега»
6 Лаг ИЭЛ-2М
7 Приёмоиндикатор «Furuno»
8 Перечень карт на переход
9 Перечень книг на переход
10 Хранение карт и руководств на судне
11 Корректура карт и руководств для плавания на судне
12 Описание порта отхода
13 Описание порта прихода
14 Навигационно-географический очерк
15 Гидрометеорологический очерк
16 Расчёт расстояний и времени на переход
17 Таблица курсов и плаваний на переход
18 Таблица светлого времени суток
19 Расчёт рамки и сетки меркаторской карты для перехода п.Палермо – п.Риека
20 Краткая штурманская справка
21 Расчёт плавания по дуге большого круга
22 Оценка целесообразности плавания по ДБК
23 Оценка точности определения места судна по двум пеленгам
24 Оценка точности определения места судна по пеленгу и расстоянию
25 Оценка навигационной безопасности плавания
26 Оценка себестоимости перехода
27График прилива для порта Ванкувер
Список использованной литературы
1 Общие сведения о судне
1. Название судна «Судно Александр Матросов»
2. Год и страна постройки 1974 СССР
3. Регистровый номер М-32543
4. Позывные UBCP
5. Тип СУ и назначение судна Т/Х; навал
6. Судовладелец ЧМП
7. Порт приписки Одесса
8. Символ класса регистра КМ ٭ ΔЗА2
9. Наибольшая длина, м 215,38
10. Ширина, м 31,86
11. Высота борта, м 16,80
12. Осадка по летнюю марку, м 22,22
13. Скорость, узлы 14,7
14. Валовая вместимость, Рег.т. 30070
15. Чистая вместимость, Рег. т. 18867
16. Валовая вместимость по ТМ, Рег.т. 52700
17. Чистая вместимость по ТМ, Рег.т. 62900
18. Дедвейт, т. 13650
19. Количество грузовых помещений (трюмы, танки) 8, -
20. Кубатура трюмов – танков, м³ 62900
21. Количество и размеры люков 1 – 13,6 Х 12,8 7 – 17,0 Х 12,8
22. Количество и грузоподъемность кранов, т 1 Х 3,2
23. Количество и тип главных двигателей. 1Д2тНД
24. Количество цилиндров, их диаметр 8 Х 740 и ход поршня, мм. 1600
2 Радиопеленгатор «Румб»
Общие сведения. Радиопеленгатор «Румб» — двухканальный визуальный радиопеленгатор с коммутацией каналов — предназначен для определения места судна по навигационным радиомаякам всех типов и для определения направлений на береговые радиостанции ненаправленного излучения, морские радиобуи и суда, ведущие радиопередачи.
Радиопеленгатор имеет следующие технические характеристики:
тип принимаемых сигналов — немодулированные колебания А1А; сигналы с амплитудной модуляцией тоном низкой частоты А2А; сигналы с амплитудной модуляцией звуковыми колебаниями АЗА;
диапазоны частот 250...545 кГц (1); 1600...3250 кГц (2);
относительная погрешность установки частоты настройки не хуже 0,2%;
чувствительность с рамочной антенной РА1, РА2 при длине фидера до 30 м в диапазоне 1 — не хуже 25 мкВ*м; в диапазоне 2 — не хуже 40 мкВ*м;
избирательность — по зеркальному каналу не менее 60 дБ; по каналам промежуточных частот не менее 80 дБ;
средняя квадратическая инструментальная погрешность радиопеленгования в дневное время при отношении сигнал/шум, равном 10, в диапазоне 1 — не более 1о; в диапазоне 2 — не более 3°;
мощность, потребляемая от сети переменного тока, не более 150 В*А.
Радиопеленгатор «Румб» выпускается в различных комплектациях в зависимости от рода судовой электросети, типа рамочных антенн, длины фидеров, типа гирокомпаса. В комплект радиопеленгатора входят:
приемоиндикаторный блок 1, блок питания 2, блок рамочных антенн 3 и не указанные на рисунке ненаправленная антенна типа «наклонный луч» и антенный усилитель или антенная коробка, сигнальный щиток. Радиопеленгатор снабжен устройством цифровой индикации частоты настройки, имеет двустороннюю световую сигнализацию между помещениями радиорубки, в которой установлен сигнальный щиток, и штурманской рубки для извещения о необходимости изолировать судовые антенны и подтверждения о том, что антенны изолированы.
Индикаторный узел радиопеленгатора выполнен на ЭЛТ и обеспечивает отсчет радиокурсовых углов и радиопеленгов при точности не хуже 0,5°. Отсчет радиопеленгов производится при установке курса судна вручную или автоматически при наличии сельсинной связи с гирокомпасом.
Радиопеленгатор имеет встроенный отключаемый громкоговоритель, гнезда для подключения головных телефонов, устройства для компенсации коэффициентов А и D радиодевиации. Конструкция радиопеленгатора предусматривает возможность аварийного питания от аккумуляторов через электромашинный преобразователь ОП-120Ф.
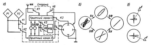
Рис. 1 Визуальный радиопеленгатор с коммутацией каналов структурная схема; б, в — изображение на экране ЭЛТ
Устройство. Упрощенная функциональная схема радиопеленгатора «Румб» приведена. Радиопеленгатор снабжен входным (контакты К1, К2) и выходным (контакты K3, К4) коммутаторами, осуществляющими перекрестную коммутацию приемных каналов между рамочными антеннами и отклоняющими пластинами ЭЛТ.
В одном положении коммутирующих контактов сигнал от продольной рамки Р1 подается на вертикально отклоняющие пластины ЭЛТ через приемный канал 1, а сигнал от поперечной рамки поступает на горизонтально отклоняющие пластины через приемный канал 2. На экране ЭЛТ при неидентичных приемных каналах наблюдается эллипс. Во втором положении коммутирующих контактов сигнал от продольной рамки поступает на вертикально отклоняющие пластины ЭЛТ через приемный канал 2, а сигнал от поперечной рамки подается на горизонтально отклоняющие пластины через приемный канал 1. При этом на экране ЭЛТ создается эллипс, отличный от наблюдаемого в первом положении коммутирующих контактов. При коммутации с частотой 15...30 раз в секунду на экране ЭЛТ наблюдаются два эллипса, большие оси которых пересекаются под углом, характеризующим различие в усилении приемных каналов. Размеры малых осей эллипсов пропорциональны разности фазовых сдвигов в приемных каналах.
Балансировка приемных каналов производится регуляторами баланса усиления БУ и баланса фаз БФ в любой последовательности (рис. 1.2.2, б) до тех пор, пока на экране ЭЛТ не будет наблюдаться прямая линия, угол наклона которой к вертикали соответствует радиокурсовому углу на источник радиосигналов. Благодаря коммутации приемных каналов можно более быстро и точно сбалансировать каналы и контролировать их баланс во время пеленгования.
Для определения стороны расположения пеленгуемого источника радиосигналов нажимается кнопка «Сторона». При этом сигнал от ненаправленной антенны WA через приемный канал и контакты К7, К8 поступает на модулятор ЭЛТ. Через приемный канал и коммутирующие контакты К2 и КЗ, К4 сигналы от рамочных антенн поступают поочередно на свои отклоняющие пластины. На экране ЭЛТ изображается крестовидная фигура , два конца которой подсвечиваются, а два другие затемняются в зависимости от фазовых соотношений сигналов рамочных антенн и ненаправленной антенны: Таким образом, яркими штрихами указывается квадрант, в котором расположена пеленгуемая радиостанция.
Для компенсации составляющей радиодевиации с коэффициентом D необходимо при коммутации каналов осуществлять изменение их усиления так, чтобы сохранялось постоянным отношение коэффициентов усиления сигналов от продольной и поперечной рамочной антенн
kпрод / kпопер = ( 1 – D ) / ( 1 + D ).
Для этого в узле КРД имеются две установки усиления, которые с помощью контактов К5 и Кб подключаются к соответствующим приемным каналам при их коммутации.
3 Эхолот НЭЛ-МЗБ
Навигационные эхолоты типа НЭЛ-М имеют несколько модификаций: НЭЛ-М 1, НЭЛ-М2, НЭЛ-МЗА, НЭЛ-МЗБ, НЭЛ-М4. Каждая модель предназначена для установки на судах определенного класса. Эхолот НЭЛ-МЗА устанавливается на судах класса река — море, эхолот НЭЛ-М4 — на речных судах. Модели эхолотов типа НЭЛ-М обладают высокой степенью унификации, имеют ряд общих приборов, выполненных на одинаковой элементной базе, и отличаются комплектацией и основными эксплуатационно-техническими характеристиками.
Навигационный эхолот НЭЛ-МЗБ предназначен для измерения глубин с помощью ультразвука, записи, цифровой индикации измеренных глубин и сигнализации при выходе судна на заданную глубину.
Эхолот имеет следующие основные эксплуатационно-технические данные: диапазон измеряемых глубин 0,2-200 м; погрешности измерения глубин зависят от диапазона и составляют по самописцу от ±0,1 до ±3 м, по цифровому указателю глубин от ±0,1 до ±2 м, по прибору сигнализации глубин от +0,3 до ± 5 м; допустимая скорость судна 40 уз; допустимая килевая качка судна 2—3о, бортовая 10°; время готовности к работе 30 с; время непрерывной работы 60 ч; антенна пьезоэлектрического типа; расчетная скорость звука в воде 1500 м/с; питание эхолота от судовой сети однофазного тока напряжением 220/127 В, 50 Гц, от сети постоянного тока напряжением 220 В через преобразователь; потребляемая мощность от сети переменного тока 130 В*А, от сети постоянного тока 250 Вт.
В комплект эхолота (рис. 1.2.3) входят: антенна (прибор 1), самописец (прибор 4) 7, пульт управления цифрового указателя глубин ЦУГ (прибор 4Б) 3, прибор сигнализации глубин ПСГ (прибор 4Г) 6 с ревуном 4, цифровое табло (прибор 11) 1, приемопередающее устройство (прибор 16) 8, электронный узел ЦУГ (прибор 16А) 2, кабельная коробка (прибор Я), 5, ЗИП и техническая документация.
Рассмотрим принцип построения эхолота и его работы по функциональной электрической схеме (рис. 1.2.4). По характеру выполняемых задач электрическая схема эхолота НЭЛ-МЗА может быть условно разделена на следующие функциональные цепи: тракт формирования и посылки зондирующего импульса, тракт приема и усиления эхосигнала, тракт гашения и задержки нуля, тракт сигнализации заданной глубины, тракт управления работой двигателя, тракт преобразования времени и цифровой обработки измеренной глубины, схема контроля работы эхолота.
B тракт формирования и посылки зондирующего импульса входят: перо, контакты запуска КЗ и формирователь нулевой отметки ФНО прибора 4; генераторы автозапуска ГА приборов 4Б и 4Г схема ИЛИ и мультивибратор посылки МП блока посылок 1; генератор высокой частоты ГВЧ; коммутатор прием-передача КПП; прибор Я и антенна.
Рис.2 Функциональная электрическая схема НЭЛ-МЗБ
При работающем самописце управление посылками осуществляется пером, контактом запуска КЗ и формирователем нулевой отметки, при отключенном самописце — генератором автозапуска прибора 4Б и при отключенных приборах 4 и 4Б — генератором автозапуска прибора 4Г. Импульс запуска в формирователе нулевой отметки задерживается на время, необходимое для прохождения пером расстояния от контакта запуска до нуля шкалы, и подается на схему ИЛИ блока посылок 1. На другие два входа схемы ИЛИ поступают импульсы запуска от генераторов автозапуска приборов 4Б и 4Г. С выхода схемы ИЛИ прямоугольные импульсы положительной полярности подаются на запуск мультивибратора посылки МП, мультивибратора гашения нуля МГН и мультивибратора временной автоматической регулировки усиления МВАРУ.
Мультивибратор посылки формирует прямоугольные импульсы посылки, длительность и частота следования которых зависят от поддиапазона измеряемых глубин и от включенного, для управления посылками прибора. Сформированные по длительности видеоимпульсы посылки подаются на модулятор МД генератора высокой частоты. На второй вход модулятора поступают высокочастотные гармонические колебания от автогенератора. После модулятора радио-импульсы усиливаются по напряжению и мощности и через коммутатор прием-передача подаются на антенну. В пьезоэлектрической антенне электрические колебания высокой частоты преобразуются в акустические колебания и излучаются в воду.
Характеристики
Тип файла документ
Документы такого типа открываются такими программами, как Microsoft Office Word на компьютерах Windows, Apple Pages на компьютерах Mac, Open Office - бесплатная альтернатива на различных платформах, в том числе Linux. Наиболее простым и современным решением будут Google документы, так как открываются онлайн без скачивания прямо в браузере на любой платформе. Существуют российские качественные аналоги, например от Яндекса.
Будьте внимательны на мобильных устройствах, так как там используются упрощённый функционал даже в официальном приложении от Microsoft, поэтому для просмотра скачивайте PDF-версию. А если нужно редактировать файл, то используйте оригинальный файл.
Файлы такого типа обычно разбиты на страницы, а текст может быть форматированным (жирный, курсив, выбор шрифта, таблицы и т.п.), а также в него можно добавлять изображения. Формат идеально подходит для рефератов, докладов и РПЗ курсовых проектов, которые необходимо распечатать. Кстати перед печатью также сохраняйте файл в PDF, так как принтер может начудить со шрифтами.















