148094 (692194)
Текст из файла
Введение
Цель курсового проекта – закрепить знания по дисциплине «Автомобили», приобрести навыки выполнения тягового расчёта автомобиля, научиться оценивать совершенство конструкции основных функциональных элементов автомобиля и выполнять необходимые расчёты по определению их конструктивных параметров.
Каждый студент выполняет курсовой проект согласно индивидуального задания, которые выбирает из приведённого в Приложении 1 методических указаний. Номер задания соответствует двум последним цифрам зачётной книжки. В варианте задания указываются исходные данные для проектирования и тип проектируемого автомобиля. Кроме того, по приложению 2 руководитель курсового проекта определяет индивидуально каждому студенту тип разрабатываемой конструкции агрегата (узла) автомобиля.
Проект состоит из пояснительной записки и графической части.
Пояснительная записка должна обязательно иметь всё разделы, которые есть в настоящих методических указаниях. Её объём – 25...35 страниц формата А4. Необходимые графики и кинематические схемы следует чертить на миллиметровой бумаге или компьютерной графикой.
Графическая часть - чертежи конструкции узла (агрегата), указанного в задании, выполнять в карандаше на листа А1. Чертежи должны отвечать требованиям ЕСКД. Допускается выполнение отдельных чертежей, графиков и узлов разработок с помощью компьютерной графики при соблюдении всех требований ЕСКД. В состав графической части курсовой работы входит четыре листа графической части, которые включают в следующее:
- графики к тяговому расчёту автомобиля (внешняя скоростная характеристика двигателя, мощностная характеристика, динамическая характеристика или динамический паспорт автомобиля, график ускорений, график времени и пути разгона автомобиля) – 1 лист ф.А1.
- компоновочная схема автомобиля в двух проекциях – 1 лист ф.А1
- конструкция агрегата (узла) – 1 лист ф.А3.
- узловая разработка агрегата по результатам патентного поиска или литературного обзора и рабочие чертежи 2 -3 оригинальных деталей.
Конечным этапом являются выводы и заключения, которые помогают закрепить теоретические и практические знания проектирования автомобиля.
1. Техническое задание:
1.1 ВЫБОР И ОБОСНОВАНИЕ ИСХОДНЫХ ДАННЫХ
1.1.1 Определение полной массы автомобиля
Исходя из назначения автомобиля, анализируют и при необходимости уточняют исходные данные для его проектирования, описывают условия эксплуатации и формируют основные требования, которым должна соответствовать конструкция автомобиля и его компоновочная схема.
Перед разработкой компоновочной схемы необходимо определить массу автомобиля и количество его осей.
Собственную массу автомобиля определяют по выражению:
m0 = q*mг , где mг - масса перевозимого груза, кг.,
q - коэффициент тары, который для автомобилей с колёсными формулами 4х2 и 6х4 определяют по зависимости:
рис.1: график зависимости коэффициента q от грузоподъёмности автомобиля.
Из графика получаем и принимаем значение коэффициента q=1,4, так как:
масса перевозимого груза:
mг = mп + m1 , где mп = 75*n=300(масса пассажиров) и m1 = 60 (приняли сами из интервала 50..70).
mг = 300+60=360, кг
Следовательно можем определить собственную массу автомобиля:
m0 = 1,4*360=504, кг
Полная масса автомобиля может быть определена по формуле:
ma = m0 + mг = 865, кг.
1.1.2 Определение количество осей автомобиля.
Количество осей проектируемого автомобиля выбирают проектируемого автомобиля выбирают, ориентируясь на существенные конструкционные особенности, но при этом исходя из допустимых нагрузок на ось, обусловленных прочностью дорожных покрытий.
Назначаем количество осей автомобиля из заданных условий на курсовую работу: 4х2 – 2 оси.
1.1.3 Определение нагрузки на оси автомобиля.
Нагрузку на каждую из осей автомобиля устанавливают, исходя из того, что:
- для переднеприводных автомобилей легковых автомобилей и автобусов на их базе: G1 = (0,51…0,56)Ga , где G1 - весовая нагрузка на переднюю ось автомобиля,
Ga - полный вес автомобиля при его
Номинальной загрузке.
Ga = mag = 864*9,81=8485,65 Н
G1 = (0,51…0,56)* 8485,65 = 4582,251 Н
При определении нагрузки на оси необходимо учитывать ограничения, которые установлены для различных категорий дорог национальными законодательствами. Если осевая нагрузка на одной или нескольких осях превышают установленные нормативы, необходимо предусматривать установку дополнительной поддерживающей оси (временной или постоянной) или ограничивать грузоподъёмность автомобиля.
Сравним полученное нами значение нагрузки на ось автомобиля с допускаемыми нагрузками, кН. :
Полученное нами значение нагрузки на ось удовлетворяет условиям заданными рекомендациями.
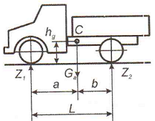
1.1.4 Определение координат центра тяжести.
Базу автомобиля L выбирают, ориентируясь на существующие конструкции – аналоги; координаты центра масс определяют по выражениям:
Рис.2 : a - расстояние от передней оси до ц.м.
b - расстояние от задней оси до ц.м.
L - база автомобиля.
hд – высота ц.м.
- для двухосного автомобиля: a = G2 * L/Ga , м
b = L – a , м
hд = (0,7…0,8), м (для легковых автомобилей)
За аналог принимаем следующий автомобиль изображённый на рис.3.
L = 2160 см = 2,16 м
а= 4582,251*2160/8485,65=1166,4 см
b = 2160-1166,4=993,6 см
hд = 0,75 (приняли).
1.1.5 Подбор шин
Шины для автомобилей выбираются, исходя из нагрузки, приходящейся на опорные колёса наиболее нагруженной оси автомобиля и несущей способности шины (допустимой нагрузки), которая указана в технической характеристике автомобильных шин всех типоразмеров. По конструктивным признакам шины делят на диагональные и радиальные. Размер диагональных шин обозначается двумя числам – в виде сочетания размеров B – d (B – ширина профиля шин; d– посадочный диаметр обода шины). Размер радиальных шин обозначается тремя числами и буквой R. В этом обозначении первая буква В – ширина профиля шины; вторая – отношение высоты профиля шины Н к её ширине В, %, R – шина радиальная; третья буква d – посадочный диаметр обода шины. Размеры В и d (в дюймах и миллиметрах).
Мы задаём (выбираем) размеры шин по справочнику:
- посадочный диаметр обода колеса d (дюймы) = 13
- ширина профиля шин В, мм = 165
1.1.6 Механический КПД трансмиссии
Механический КПД трансмиссии зависит от количества и свойств кинематических пар, которые передают механическую энергию от коленчатого вала на ведущие колёса автомобиля. Его значение можно выбрать по таблице:
Принимаем КПД трансмиссии :
= 0,92
1.1.7 Фактор обтекаемости автомобиля kF
Фактор обтекаемости kF характеризует удельное (на единицу квадрата скорости) аэродинамическое сопротивление автомобиля. Чем оно меньше , тем меньше потери мощности автомобиля на преодоление сопротивления воздуха. Фактор обтекаемости проектируемого автомобиля выбирают, ориентируясь на литературные данные. Его можно выбирать ориентировочно по таблице:
Принимаем фактор обтекаемости kF = 0,55
1.2 Тяговый расчёт автомобиля
1.2.1 Определение эффективной мощности двигателя и построение внешней скоростной характеристики двигателя
Для определения необходимой эффективной мощности двигателя используют уравнение мощностного баланса. Поскольку в исходных данных на курсовую работу задана максимальная скорость движения автомобиля и его грузоподъёмность, реализации этих исходных параметров проектируемого автомобиля определяют эффективную мощность двигателя при реализации его максимальной скорости при номинальной грузоподъёмности. Эта мощность может быть определена по формуле:
Pev =
(1)
где Рv – мощность двигателя при максимальной скорости движения, кВт;
fv – коэффициент сопротивления качению колёс автомобиля при его
максимальной скорости движения;
Vmax – максимальная (проектная) скорость автомобиля;
kF – фактор обтекаемости автомобиля, Нс2/м2.
При скоростях свыше 20…22 м/с, коэффициент сопротивления качению можно определить по зависимости:
fv = f0(1+13*Va2/20000) , f0 – коэффициент сопротивления качению при
движении автомобиля со скоростью меньше
20...22 м/с;
fv = 0,014*(1+13*352/20000)=0,02514
Va – текущее значение скорости движения автомобиля.
Pev =
кВт
Мощность определяется по зависимости (1), соответствует частоте оборотов коленчатого вала двигателя
, при которой скорость движения автомобиля будет максимальной.
Для бензиновых двигателей легковых автомобилей и автобусов:
430…550 с-1,
=(1,15…1,20)
принимаем
430 с-1,
= 1,15*430= 494,5 = 495 с-1
= 70…80 с-1 (принимаем 75)
Типа двигателя выбираем, исходя из определённой максимальной мощности, назначения автомобиля, условий его эксплуатации, установленных в задании на курсовую работу.
Принимаем за аналог двигатель автомобиля изображённого на рис.3.
Внешняя скоростная характеристика двигателя – это совокупность графиков, устанавливающих зависимость эффективной мощности Pe от крутящего момента Ме, от частоты вращения коленчатого вала двигателя при полностью открытой дроссельной заслонке или полной подаче рейки топливного насоса. Эти параметры могут быть определены по зависимостям:
Pe_max =
,кВт (2)
a,b,c – эмпирические коэффициенты, которые могут быть найдены по таблице:
| Типа двигателя | Коэфф. | ||
| a | b | c | |
| Бензиновый(выбранный нами) | 1 | 1 | 1 |
| Дизельный | 0,87 | 1,13 | 1 |
Pe_max =
= 35,47 кВт
Текущее значение эффективной мощности определяем по зависимости:
Ре = Ре_max
= 33,746кВт
Для бензиновых двигателей легковых автомобилей и автобусов выбирают 7…8 значений от
=75 с-1 до
= 495 с-1 :
y =
1.
= 75 6. 355+70 = 425
Характеристики
Тип файла документ
Документы такого типа открываются такими программами, как Microsoft Office Word на компьютерах Windows, Apple Pages на компьютерах Mac, Open Office - бесплатная альтернатива на различных платформах, в том числе Linux. Наиболее простым и современным решением будут Google документы, так как открываются онлайн без скачивания прямо в браузере на любой платформе. Существуют российские качественные аналоги, например от Яндекса.
Будьте внимательны на мобильных устройствах, так как там используются упрощённый функционал даже в официальном приложении от Microsoft, поэтому для просмотра скачивайте PDF-версию. А если нужно редактировать файл, то используйте оригинальный файл.
Файлы такого типа обычно разбиты на страницы, а текст может быть форматированным (жирный, курсив, выбор шрифта, таблицы и т.п.), а также в него можно добавлять изображения. Формат идеально подходит для рефератов, докладов и РПЗ курсовых проектов, которые необходимо распечатать. Кстати перед печатью также сохраняйте файл в PDF, так как принтер может начудить со шрифтами.















