147993 (692139), страница 2
Текст из файла (страница 2)
l1=33336-9810-8=23518 мм;
l2= /180 (430827+70/2)(4.396103-1.2166667)+4545-3545-5626- 16=19421мм;
l3=28426-5624-3545-16=19241 мм;
l4=1669-1528*0,021233+ /180 (430827-1520-70/2)*(4.4-1.2)+4545+2691-
-9810-8=22955 мм
Расчетная схема для определения длины рельсовых нитей стрелочного перевода представлена на рисунке 8
Рисунок 1.8-Расчетная схема для определения длины рельсовых нитей стрелочного перевода
-
Построение схемы разбивки стрелочного перевода
На основе полученных расчетом величин вычерчивают эпюру стрелочного перевода в масштабе 1:50 или 1:100. Вначале на чертеж наносят ось прямого пути перевода и отмечают на ней центр перевода. От центра перевода откладывают в масштабе осевые размеры a, b, a0, b0, затем определяем положение математического центра крестовины, характеризуемое величинами b0 и s0/2. Из математического центра крестовины описывают дугу радиусом, равным s0/2, и, проведя к ней касательную из центра перевода, находят направление оси бокового пути. После этик геометрических построений вычерчивают в масштабе в рабочих гранях рельсов стрелочный перевод и отмечают на нем стыки. Наружнюю нить переводной кривой наносят на чертеж по вычисленным значениям орбинат, а внутреннюю- на основе заданной ширины колеи.
Определяем длины рубок:
l1” = l1 – l1’ – = 23518 – 12500 – 8 = 11010 мм;
l2” = l2 – l2’ – = 19424 – 6250 – 8 = 12913 мм
l3” = l3 – l3’ – = 19241 – 6250 – 8 = 12733 мм
l4” = l4 – l4’ – = 22955 – 12500 – 8 = 10447 мм
Зная положение рельсовых стыков, проектируют раскладку брусьев под стрелочным переводом. В стыках их укладывают на расстоянии стыкового пролета, а на остальной части перевода- согласно выбранным величинам пролетов -а под стрелкой и крестовиной. Длину брусьев определяют графически. Когда выступ бруса за рабочую грань рельса бокового пути становиться меньше 615 мм, переходят к новой длине.
За флюгарочными размещают группами переводные брусья длинною от 3 до 5.25 м. Их можно вычерчивать в осях.
На эпюре и схеме разбивки стрелочного перевода указывают основные геометрические размеры стрелочного перевода, длину рельсов и ширину колеи в ответственных местах перевода.
1.3 Методика проведения месячных осмотров стрелочных переводов. Нормы и допуски их содержания
Месячные комиссионные осмотры на станциях проводятся в полном соответствии с ПТЭ и приказом начальника дороги комиссией в составе :начальника станции, дорожного мастера, электромеханика СЦБ и один раз в квартал начальника или электромеханика района контактной сети или района электроснабжения .На станциях внеклассных и 1 класса один раз в квартал в состав комиссии включаются начальники дистанций пути, сигнализации и связи, электроснабжения или один из их заместителей. На станциях , где установлено сменное дежурство электромехаников СЦБ, в проведении месячных комиссионных осмотров участвуют старшие электромеханики.
Результаты осмотра и необходимые мероприятия по устранению обнаруженных неисправностей оформляют актом и заносят в отдельный журнал осмотра путей, стрелочных переводов, устройств СЦБ, связи и контактной сети, заведений специально для этих целей. При этом в журнал записывается каждая неисправность, а так же срок исполнения и исполнитель. Неисправности угрожающие безопасности движения (отжим остряка, отступление по шаблону и т.д.),должны устранятся немедленно.
Начальник станции или из заместители, по истечению сроков устранения не-
Исправностей, проверяют своевременность и качество их устранения .В случае несвоевременного устранения неисправностей начальник станции телеграммой уведомляет руководителя соответствующего предприятия, главного ревизора отделения дороги и начальника отдела перевозок отделения дороги.
В акте месячного комиссионного осмотра должно отражаться состояние всех стрелочных переводов, включая в ЭЦ.
При проведении комиссионных осмотров особое внимание необходимо уделять содержанию стрелочных переводов и закрестовинных кривых стрелочных переводов, а также кривых участков пути. В зимний период, когда путь покрывается снегом, осмотр этих кривых производить с очисткой подошвы рельсов от снега и проверять наличия подпучивания балласта в шпальных ящиках и напрессовки снега и льда между подошвой рельса и накладкой. При обнаружении выхода подошвы рельса из реборд подкладок путь или стрелочный перевод для движения закрывается и неисправность устраняется немедленно. Ширина колеи и допуски на её содержание приведены в таблице 1.2.
| Типрельса | Марка крестовины. | Ширина колеи, мм | |||||
| В стыках рамного рельса. | В острие остряков | В корне остряков | В середине переводной кривой. | В крестовине и в конце переводной кривой. | |||
| На прямой путь. | На боковой путь. | ||||||
| Р65 | 1/22 | 1520+4/-2 | 1521+4/-2 | 1520+4/-2 | 1520+4/-2 | 1520+10/-2 | 1520+/- 3 |
| Р65 Р50 | 1/18 | 1520+4/-2 | 1521+4/-2 | 1520+4/-2 | 1520+4/-2 | 1520+10/-2 | 1520+/- 3 |
| Р65 | 1/11 | 1520+4/-2 | 1524+4/-2 | 1520+4/-2 | 1521+4/-2 | 1520+10/-2 | 1520+/- 3 |
| Р50 | 1/11 | 1520+4/-2 | 1528+4/-2 | 1520+4/-2 | 1521+4/-2 | 1520+10/-2 | 1520+/- 3 |
| Р65 | 1/9 | 1520+4/-2 | 1524+4/-2 | 1520+4/-2 | 1521+4/-2 | 1524+10/-2 | 1520+/- 3 |
| Р50 | 1/9 | 1520+4/-2 | 1528+4/-2 | 1520+4/-2 | 1521+4/-2 | 1524+10/-2 | 1520+/- 3 |
Таблица 1.2- Ширина колеи в пределах стрелочного перевода
Если при осмотре на стрелочном переводе неисправности не обнаружены , то в таком случае в акте делают запись следующего содержания: «Стрелочный пере-
№… осмотрен.Неисправностей не обнаружено.»
Неисправности 4в,4г,4к,11а,11г,12 должны устранятся в процессе осмотра с обязательной записью в акте осмотра. Акт месячного комиссионного осмотра подписывается всеми членами комиссии.
2. Организация основных работ по капитальному ремонту пути во время окна при ремонте пути на щебне
2.1 Выбор типа верхнего строения пути
Капитальный ремонт пути назначается на главных путях, где необходимо заменить рельсы и одновременно оздоровить или усилить шпальное хозяйство, балластный слой и земляное полотно. Капитальный ремонт пути производят по типовым технологическим процессам, которые корректируют в зависимости от местных условий.
1)Фронт работ(Lфр)-1350 м.
2)Характеристика участка пути: двухпутный, оборудованный автоблокировкой; тяга тепловозная, пропускная способность 16 пар поездов в сутки.
3)Верхнее строение пути до ремонта : звеньевой путь, рельсы Р50 длиной 25 м., шпалы - деревянные, балласт –щебёночный .
4)Верхнее строение пути после ремонта: звеньевой путь, инвентарные рельсы типа Р50 длиной 25 м., шпалы железобетонные, балласт щебеночный.
5)Скорость движения пассажирских поездов на участке звеньевого пути
v=120 км/ч, а грузонапряжённость участка – 20 млн т*км/км брутто в год.
6)Определение классности пути и норм периодичности ремонта участка пути.
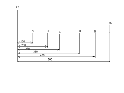
Принимаем согласно таблицы 2.1 методического пособия 2-й класс пути, группу Г и категорию 2.По таблице 2.2 методического пособия в соответствии с классом, группой и категорией принимаем следующие виды работ и их последовательность(см. рисунок 2.1)УК.В.В.С.В.П.УК.
Рисунок 2.1-Схема периодичности ремонтов звеньевого пути 2-го класса, группы Г и категории 2
2.2 Определение продолжительности "окна".
Кроме норм времени , технической вооруженности и характеристики ремонтируемого участка , для проектирования технологических процессов капитального ремонта пути необходимо иметь исходные данные, по которым определяют основные параметры.
В задании указан фронт работ ,по которому определяем продолжительность "окна".Для этого предварительно составляется технологическая схема основных работ в "окно" в требуемой последовательности.
Рисунок 2.2-Схема развёртывания основных работ в «окно» при капитальном ремонте на щебне.
2.3 Капитальный ремонт пути с постановкой на щебне
Продолжительность "окна" определяется по формуле:
Ток=tр+tв+tрз+t,мин
Ток=169+51+8+5=233 мин
где tр—время, необходимое на развертывание всех основных работ в «окно» ;tв—время выправки пути выпровочно-подбивочно-отделочной машиной ВПО-3000:
tв=Lфр*mвпо*;
tв=1350*0.034*1.11=51 мин
tв—время разрядки ВПО-3000(8 мин);t-время необходимое для открытия перегона(6 мин).
mвпо—техническая норма выправки пути выпровочно-подбивочно-отделочной машиной,так как выгрузка балласта производится в темпе ВПО-3000(0,034 маш. мин./м);
Время tр складывается из интервалов между работами :
tр=t1+t2+t3+t4+t5+t6+t7+t8+t9+t10
где t1— время, необходимое для закрытия перегона; t2— время, необходимое для зарядки рабочих органов ЩОМД; t3—время,спустя которое рабочие,выполняющие частичную выправку пути с подбивкой 8% шпал электрошпалоподбойниками ,смогут приступить к работе после начала очистки щебня ЩОМ; t4—время, спустя которое рабочие , выполняющие разборку стыков ,смогут приступить к работе после начала частичной выправки пути; t5— время, спустя которое может приступить к работе путеразборочный поезд после начала работы по разборке пути; t6—время между началом работы путеразборочного и путеукладочного кранов ; t7— время, спустя которое рабочие , выполняющие сборку стыков ,смогут приступить к работе после начала укладки пути;t8— время между началом работ по рихтовке и сборке стыков; t9— время, спустя которое можно приступить к выгрузке балласта из хопперов-дозаторов после начала рихтовки пути; t10— время, спустя которое можно приступить к выправочным работам машиной ВПО-3000 после начала выгрузки балласта из хоппер-дозаторной вертушки .
Время на оформление закрытия перегона и пробега машин к месту работ для неэлектрифицированных линий ,оборудованных автоблокировкой , t1=6 мин,а при отсутствии автоблокировки - t1=12 мин ; на электрифицированных линий для снятия напряжения с контактной сети дополнительное время составляет 6 мин. Время, необходимое для зарядки рабочих органов ЩОМД.
t2=mзар*,
где mзар—техническая норма времени на зарядку ЩОМД(15 маш.*мин); —коэффициент ,учитывающий потери времени на переходы в рабочей зоне ,физиологический отдых и пропуск поездов при выполнении основных работ в "окно"; зависит от размеров движения и принимается при числе поездов за 8-часовую смену , при 13-18 парах поездав =1.11.
t2=15*1.11=16.65 мин
Время между началом работы ЩОМД и началом частичной выправки пути















