147422 (691907)
Текст из файла
13
Федеральное агентство железнодорожного транспорта РФ
Московский государственный УНИВЕРИСИТЕТ путей сообщения
Институт транспортной техники и организации производства
Кафедра: «Локомотивы и локомотивное хозяйство»
работа
по теме:
«Поршень дизеля Д49: Конструкция и ремонт»
Выполнил: студент гр. ТЛТ-451
Консультант ст. преподаватель
Москва 2009
Содержание
Введение
1. Поршень дизеля типа Д49. Конструкция. Основные неисправности
1.1 Конструктивные особенности поршня дизеля типа Д49
1.2 Основные неисправности поршня
2. Модернизация и ремонт поршня дизеля типа Д49
2.1 Варианты модернизации поршня дизеля типа Д49
2.2 Методы устранения нагара в поршне дизеля типа Д49
2.3 Правила ремонта поршня дизеля типа Д49
Заключение
Список литературы
Введение
Дизели 1А-5Д49 мощностью 3000 л.с. (2200 кВт) начали серийно выпускать на Коломенском тепловозостроительном заводе с 1975 г. Их устанавливал на грузовые двухсекционные тепловозы 2ТЭ116 Луганский тепловозостроительный завод. Позднее Коломенский завод приступил к серийному производству пассажирского односекционного тепловоза ТЭП70 с дизелями 2А-5Д49 мощностью 4000 л.с. (2940 кВт).
Рабочий процесс дизелей Д49 отличается высокой экономичностью на режимах номинальной мощности.
На российские железные дороги в общей сложности поступило около 2 тыс. секций тепловозов с дизелями типа Д49.
Шатунно-поршневая группа представляет группу деталей кинематической пары – поршень-шатун, играющей важную роль в рабочем процессе дизеля.
Поршни могут изготовляться из чугуна, стали и сплавов алюминия, что влияет на их конструктивные формы (алюминий имеет в 2,5 раза меньшую плотность и в 5 раз большую теплопроводность, чем чугун).
В данной работе рассматривается поршень дизеля типа Д49, особенности его конструкции, варианты модернизации, а также основные неисправности и методы их устранения.
1. Поршень дизеля типа Д49. Конструкция. Основные
неисправности
1.1 Конструктивные особенности поршня
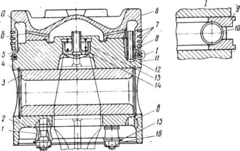
Поршень — один из основных и высоконагруженных узлов дизеля. Работоспособность поршня совместно с крышкой цилиндра и шатунными вкладышами определяет ресурс дизеля до ремонта, связанного с разборкой дизеля. На всех дизелях типа Д49 применен поршень составной конструкции и относительно малой массы, что создает умеренные инерционные нагрузки на детали шатунно-кривошипного механизма. Головка поршня отштампованная из жаропрочной стали, для снижения температуры охлаждается маслом в соответствии с рисунком 1.1.
Рисунок 1.1 - Устройство поршня
1-шпилька; 2,12-втулки; 3-палец; 4-стопорное кольцо; 5-уплотнительное кольцо; 6-головка; 7-кольца компрессионные; 8,9-кольца маслосъёмные; 10-расширитель; 11-тронк поршня; 13-стакан; 14-пружина; 15-проволока; 16-гайка; а - полость; б, в - каналы.
Поршень дизеля воспринимает силы давления газов в цилиндре и передает их на шатун, герметизирует изменяющийся при его движении объем цилиндра. Надежная работа поршневой группы зависит от обеспечения эффективных способов отвода тепла от днища поршня и создания благоприятных условий для работы поршневых колец. Через поршень может отводиться 4—7 % тепла, вводимого с топливом в цилиндр двигателях [1].
1.2 Основные неисправности поршней и крышек цилиндров
Анализ показывает, что дизели 1А-5Д49 тепловозов 2ТЭ116 имеют высокую повреждаемость и сменяемость деталей. Основные виды повреждений, например, за пять лет эксплуатации этих машин в депо Елец Юго-Восточной дороги распределяются в процентах следующим образом: трещины в крышках цилиндров – 6,1; прогары, изломы и изгибы клапанов – 33; пробой газов по газовому стыку между крышкой цилиндра и гильзой – 26,6; течи воды по резиновым уплотнениям рубашек и гильз втулок цилиндров – 29,6; задиры и разрушения поршней – 4,7.
Следует отметить, что для работников депо и ремонтных заводов важны данные о сменяемости деталей на неплановых и плановых ремонтах, а также о пробегах тепловозов до плановых разборок дизелей.
В соответствии с указанием МПС № М-2574 пробеги тепловозов 2ТЭ116 и 2ТЭ10У до текущих ремонтов ТР-2 установлены равными 135 тыс. км, до ремонтов ТР-3 - 270 тыс. км и до КР-1 – 800 тыс. км; для тепловозов 2ТЭ10Л и 2ТЭ10В соответственно 105, 210 и 630 тыс. км.
Надо отметить, что лучшие образцы зарубежных тепловозов имеют значительно более высокие пробеги локомотивов до разборки дизелей. Так, тепловозные двухтактные дизели фирмы “ General Motors ” (США) моделей 645 и 710 имеют пробеги до разборки 1 млн. 200 тыс. км.
Несмотря на высокую стоимость основных деталей дизелей типа Д49 (крышек цилиндров, втулок цилиндров, поршней) их требуемая надёжность не обеспечивается, т.е. не выполняется установленные сроки службы в соответствии с техническими условиями на поставку этих дизелей.
Сроки службы крышек цилиндров должны быть равны сроку службы самих дизелей, т.е. 20-ти годам, или 3,6 млн. км. пробега тепловоза. Фактические же сроки службы крышек составляют 800 тыс. км.
Средняя сменяемость крышек на капитальном ремонте на Воронежском ТРЗ составляет 10 шт. на дизель, или 62,5 %. По требованиям ТУ на дизель типа Д49 допускается сменяемость только 15% крышек, или 2,4 крышки за весь срок службы дизеля.
По ТУ сроки службы поршней и втулок цилиндров должны быть равны сроку службы дизеля до капитального ремонта (1млн. 200 тыс. км.). Фактически же средние сроки их службы находятся в пределах 600 – 800 тыс км.
Особенно высокая повреждаемость крышек и втулок цилиндров была на дизелях 2ТЭ121 в депо Попасная Донецкой дороги. Так, по данным этого депо, на 30-ти дизелях примерно за 2 года эксплуатации было сменено 78 крышек цилиндров, т.е. в среднем 2,6 крышки на один дизель. На некоторых дизелях в течении этого периода одновременно сменялось до восьми крышек. По три крышки цилиндра были сменены на трёх тепловозах при их пробегах менее 100 тыс. км. Всего за этот период было сменено 20 крышек при пробеге от изготовления дизелей менее 200 тыс. км.
Из-за трещин были установлены случаи сменяемости одновременно до двух втулок цилиндров на дизеле. Из-за задира были случаи замены одновременно до четырёх гильз (втулок) цилиндров.
В 1993 г. в депо Елец полностью сменили: все втулки цилиндров на пяти дизелях; гильзы на двух дизелях; резиновые кольца рубашек и водяных втулок на семидесяти дизелях, а резиновые кольца переливных трубок втулок цилиндров на пятидесяти дизелях.
Эксплуатационные наблюдения показывают, что поршни дизелей типа Д49, имеющие составную конструкцию, обладают целым рядом серьезных недостатков по сравнению с цельнолитыми поршнями, применяемыми на отечественных и зарубежных дизелях.
Из депо Дно Октябрьской дороги в 1995 г. во ВНИИЖТ поступило сообщение о том, что в поршнях дизелей типа Д49 наблюдаются значительные отложения нагара в их головках .Из депо было доставлено во ВНИИЖТ 13 головок поршней.
Рисунок 1.2 - Отложение нагара в головках поршней дизелей типа Д49 после пробега 510 тысяч километров
Из рисунка видно, что нагар в значительных количествах откладывается в центре головки и по ее краю, перекрывая почти полностью отверстия для перетока масла из центральной части в край головки (для перетока масла в головке имеется 12 отверстий диаметром 5 мм).
Осмотр поршней показал, что отложения нагара в центре днища и по краю головки было наименьшее, если отверстия для перетока масла были забиты нагаром только частично. Отсюда следует вывод, что отверстие для перетока масла диаметром 5 мм является недостаточным. Оно должно быть увеличено до 8,5 мм, имеющимся в головке составного поршня дизелей 11Д45 и 14Д40, в которых не наблюдается таких отложений нагара, как в поршнях дизелей типа Д49.
В некоторых головках поршней, доставленных из депо Дно, в середине перемычек головки для тарелок впускных клапанов (в самом тонком месте, где толщина перемычки составляет 2,8 мм) возникают термические трещины из-за перегрева головки при отложении нагара. Во время ремонта в целях повторного использования головок рекомендуется эти трещины удалять путем разделки на всю высоту перемычки (примерно 100 мм), на ширину в верхней части до 6,0 мм и у основания трещин до 3,0 мм с радиусом 1,5 мм.
Большие отложения нагара были обнаружены в головках поршней дизелей тепловозов 2ТЭ116 номеров 1315, 1316 и 1352 приписки депо Жмеринка на ремонте ТР-2 после пробегов в интервале 214 — 294 тыс. км. Толщина нагара находилась в пределах 15 — 20 мм, уменьшение проходного сечения в отверстиях для перелива масла достигало 50 — 80 %. При этом использовалось масло марки М14Г2.
На испытаниях тепловозов 2ТЭ116 в депо Основа и Полтава было обнаружено значительное количество поршней (37 шт.) на 14-ти секциях тепловозов, не имевших слива масла из поршней. Такие случаи отмечались в депо Кочетовка, Елец и Жмеринка. Отсутствие слива масла возникает при полностью забитых нагаром отверстиях для перетока масла из центра в край головки поршня в соответствии с рисунком 1.2.
2. Модернизация и ремонт поршня дизеля типа Д49
2.1 Варианты модернизации поршня дизеля Д49
У поршня дизеля Д49 головка поршня изготовлена из жаростойкой стали ЭИ415, а тронк из алюминиевого сплава АК6. Охлаждение этого поршня обеспечивается взбалтыванием масла, которое подается через отверстие в шатуне и алюминиевый стаканчик сначала в центральную полость охлаждения поршня, а затем в кольцевую периферийную[1].
Применявшаяся ранее конструкция поршня дизеля Д49 характерна расположением всех колец выше оси пальца в соответствии с рисунком 2.1.
Рисунок 2.1 - Составные охлаждаемые поршни дизеля 5Д49
а - до модернизации; б - модернизированный повышенной газоплотности; 1-тронк; 2-кольца маслосъёмные; 3-кольцо торсионное; 4-кольца компрессионные; 5-головка; 6-стакан; 7-пружина.
Для уменьшения расхода масла на угар и прорыва газов в картер, в конструкцию поршня внесены следующие изменения: увеличено расстояние от крышки цилиндра до поршня за счет уменьшения высоты головки поршня; фрезеровки в головке под клапаны выполнены несквозными; установлены три верхних компрессионных кольца с односторонней трапецией и четвертое торсионное кольцо; второе маслосъемное кольцо расположено ниже оси пальца и выполняет роль дозатора расхода, масла; уменьшен зазор между тронком и втулкой цилиндра.
Испытания показали, что модернизированный поршень снижает в 2 раза расход масла на угар, в 1,5 раза повышает срок службы по загрязненности и на 30% снижает прорыв газов в картер. Практически ликвидируются отложения нагара на поршень и крышку цилиндра со стороны камеры сгорания.
Рисунок 2.2 - Температуры в различных точках головки поршня дизеля 1А-5Д49
Над первым компрессионным кольцом температура не превышает 170°C (в соответствии с рисунком 2.2).Умеренные температуры обеспечивают хорошую износостойкость ручьев компрессионных колец. Исследования относительного изменения тепловых и механических напряжений в головке поршня Д49, выполненного на одноцилиндровом отсеке, показали: уровень тепловых напряжений превосходит механические примерно в 2 раза. Схема охлаждения с подводом охлаждающего агента в зону колец эффективно снижает теплонапряженность головки поршня; снижение давления подачи масла ниже номинального (Рм=0,4 МПа) приводит к увеличению уровня температурных напряжений во всех исследованных точках головки поршня. В зоне первого компрессионного кольца при уменьшении давления с 0,4 до 0,2 МПа температурные напряжения возрастают в 1,65 раза, на поверхностях, охлаждаемых маслом, в 1,5 раза и т.д.
Износостойкость алюминиевых поршней можно повысить глубоким анодированием электролизным способом. При этом получается пористая пленка окиси алюминия толщиной 0,08—0,1 мм, которая обладает резко пониженной теплопроводностью, повышенной маслоемкостью, износостойкостью и коррозионной стойкостью.
На дизелях типа Д49 наблюдается высокая сменяемость компрессионных колец: на ремонтах ТР-2 и ТР- 3 заменяется до 50% поршневых колец от числа установленных на поршнях. Компрессионные кольца сменяются, главным образом, из-за износа хромого покрытия у замка на длине 40-50 мм, а также из-за достижения предельного значения зазора у замка.
С первых номеров дизелей типа Д49 до 1981г. Использовались компрессионные кольца с двухсторонней трапецией. Необходимость в таких кольцах вызывалась применением головок поршней без масляного охлаждения. При переходе на масляное охлаждение поршней следовало перейти на кольца прямоугольного сечения. Однако завод перешел на кольца с односторонней трапецией, что сохранило их недостатки и вызвало увеличение зазора в замке из-за износа боковой поверхности.
Характеристики
Тип файла документ
Документы такого типа открываются такими программами, как Microsoft Office Word на компьютерах Windows, Apple Pages на компьютерах Mac, Open Office - бесплатная альтернатива на различных платформах, в том числе Linux. Наиболее простым и современным решением будут Google документы, так как открываются онлайн без скачивания прямо в браузере на любой платформе. Существуют российские качественные аналоги, например от Яндекса.
Будьте внимательны на мобильных устройствах, так как там используются упрощённый функционал даже в официальном приложении от Microsoft, поэтому для просмотра скачивайте PDF-версию. А если нужно редактировать файл, то используйте оригинальный файл.
Файлы такого типа обычно разбиты на страницы, а текст может быть форматированным (жирный, курсив, выбор шрифта, таблицы и т.п.), а также в него можно добавлять изображения. Формат идеально подходит для рефератов, докладов и РПЗ курсовых проектов, которые необходимо распечатать. Кстати перед печатью также сохраняйте файл в PDF, так как принтер может начудить со шрифтами.
















