147167 (691785)
Текст из файла
СОДЕРЖАНИЕ КУРСОВОГО ПРОЕКТА
ВВЕДЕНИЕ
1 Энергетический и кинематический расчёт привода
1.1 Выбор электродвигателя
2 Расчёт клиноременной передачи.
3 Расчёт зубчатой передачи.
3.1 Выбор материалов и допускаемых напряжений
3.2 Проектный расчёт зубчатой передачи.
3.3 Проверочный расчёт зубчатой передачи
4 Конструирование основных деталей зубчатого редуктора.
4.1 Конструирование валов.
4.2 Расчёт шпонок
4.3 Конструирование зубчатого колеса.
4.4. Компоновка цилиндрического редуктора.
5. Проверочный расчет валов
5.1. Расчет валов на статическую прочность.
5.2. Расчет валов на усталостную прочность
6. Проверка долговечности подшипников
6.1. Определение эквивалентной нагрузки для роликовых подшипников.
ВВЕДЕНИЕ
«Детали машин» являются первым из расчетно-конструкторских курсов, в котором изучают основы проектирования машин и механизмов.
Любая машина (механизм) состоит из деталей, т.е. таких частей машины, которые изготовляют без сборочных операций. В свою очередь детали объединяют в узлы, т.е. законченные сборочные единицы, состоящие из ряда деталей, имеющих общие функциональные назначения.
Среди большого разнообразия деталей и узлов выделяют такие, которые применяют практически во всех машинах (болты, валы и т.д.) и называются деталями общего назначения, и детали, применяющиеся только в одном или нескольких типах машин. Детали общего назначения применяются в очень больших количествах.
При расчете и проектировании деталей машин необходимо учитывать, что детали должны удовлетворять требованиям надежности, чтобы избегать лишних затрат на внеплановый ремонт машины при утрате работоспособности последних, и экономичности. Высокая стоимость ремонта обусловлена значительными затратами ручного высококвалифицированного труда, который нужно механизировать и автоматизировать. Помимо этого деталь должна быть прочной, жесткой, износостойкой, теплостойкой и виброустойчивой, для чего необходимо выполнять отдельные специальные расчеты.
Ответственным этапом проектирования является также выбор материалов деталей машин. При этом учитывают в основном такие факторы как: соответствие свойств материала главному критерию работоспособности (прочность, износостойкость и др.); требования к массе и габаритам детали и машины в целом; соответствие технологических свойств материала конструктивной форме и намечаемому способу обработки детали; стоимость и дефицитность материала.
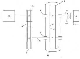
Схема конвейера приведена на рис. 1.
Рис. 1. Схема конвейера
На этой схеме:
Д - двигатель;
Б - приводной барабан;
1 -косозубая шестерня;
2-косозубое колесо;
3-ведущий шкив ременной передачи;
4-ведомый шкив ременной передачи;
5-ведущий вал зубчатого редуктора;
6-ведомый вал зубчатого редуктора;
7-подшипники ведущего вала;
8-подшипники ведомого вала;
9-клиновый ремень;
10-соединительная муфта;
11-корпус редуктора
1. ЭЛЕКТРИЧЕСКИЙ И КИНЕМАТИЧЕСКИЙ РАСЧЁТ
ПРИВОДА
1.1. Выбор электродвигателя
Определим мощность на барабане конвейера:
,
Требуемая мощность электродвигателя с учётом потерь в элементах привода:
,
где
- К.П.Д.
=0,99
0,97 0,962 =0,913.
Мощность электродвигателя:
= 0,95
9,179 = 8,72 кВт .
По полученным результатам и количеству заданных полюсов выбираю электродвигатель 4А132М2УЗ со следующими техническими данными: диаметр вала dB = 38 мм, скольжение S = 2,3%, номинальная мощность Рн = 11 кВт.
1.2. Кинематический расчёт привода
Определим асинхронную частоту вращения электродвигателя:
где
=3000 об/мин - синхронная частота вращения.
Общее передаточное число привода
разбивают на числа ступеней привода
. Пусть
= 5, тогда
. Причём
.
Определим частоту вращения валов редуктора:
об/мин - ведущий вал;
- ведомый вал.
Определяем крутящий момент на валах привода.
Для ведомого вала:
,
для ведущего вала:
,
для электродвигателя:
.
2. РАСЧЁТ КЛИНОРЕМЕННОЙ ПЕРЕДАЧИ
Наибольший расчетный момент на ведущем шкиве рассчитывается
,
где Кд - коэффициент динамичности, определяемый в зависимости от коэффициента перегрузки Ктак;
Ксм - коэффициент режима работы, определяемый в зависимости от числа смен в сутки.
Согласно заданию К тах =1.12, число смен в сутки равно 3. Этим данным соответствуют К д = 1,47, К см = 0,35. Тогда:
.
В зависимости от максимального крутящего момента выбираем сечение ремня «Б». Этому сечению соответствует минимальный диаметр ведущего шкива dmin = 125 мм, т.е. тот диаметр, при котором напряжения изгиба обеспечивают долговечность ремня на 1000 часов работы. Так как нет никаких дополнительных требований к диаметру шкива, с целью уменьшения ремней и напряжений в них из ряда R40 выбираем расчетный диаметр ведущего шкива d1 на несколько размеров больше.
Так, d1 = 135мм.
Определим диаметр ведомого шкива:
d2=
=
,
где ир - передаточное отношение ременной передачи.
По стандартному ряду R40 выбираем ближайшее к расчетному значение диаметра ведомого шкива d2 = 500 мм.
Ввиду отсутствия жестких требований к габаритам передачи назначаем минимальное межцентровое расстояние аmin = d2 =500 мм (рис. 2.1).
Определяем требуемую минимальную длину ремня:
По стандартному ряду длин выбираем длину ремня lр, исходя из условия lp >lmin. Таким образом lр=2500мм. Так как минимальное расчетное и стандартное значение длины ремня различаются, необходимо уточнить межцентровое расстояние:
а = атт + 0,5
(lp - lmin) = 500 + 0,5
(2500 - 2064) = 718 мм.
Определим угол охвата ведущего шкива ремнем:
Определим линейную скорость
,
где пд = 2931 об/мин - асинхронная частота вращения электродвигателя.
Долговечность ремня косвенно оценивают через число пробегов:
Полезная окружная сила
где Тэ = 29,93
- крутящий момент на валу привода электродвигателя.
Требуемое число ремней определяется из соотношения
,
где
- номинальная мощность электродвигателя;
Ро - мощность кВт, передаваемая одним ремнем длиной l0 при стандартных условиях работы в зависимости от скорости ремня v и диаметра ведущего шкива d1. По скорости v = 20,7м/с приближенно определяем Ро = 3,83 кВт;
Ср = 1 - коэффициент нагрузки, определяется в зависимости от Ктах;
CL — коэффициент длины ремня, определяется:
где l0 = 2240 мм - сечение ремня;
Са - коэффициент, учитывающий угол охвата ведущего шкива ремнем, определяется как
= 1-0,15-(
)=0,924,
Ci
1,16 — коэффициент, учитывающий передаточное число ременной передачи, указан в зависимости от ир;
- коэффициент, учитывающий неравномерность распределения нагрузки между ремнями (т.к. все ремни одинакового размера быть не могут, даже если выбран один тип). Но т.к. оно еще не известно, подсчитаем Z без учета Cz:
Округляем до большего целого Z = 4. Этому значению соответствует Сz = 0,9.
Пересчитаем теперь число ремней с учетом этого коэффициента:
Округляем до большего целого Z = 4.
Определяем силу предварительного натяжения ремня:
Рассчитаем силу давления на валы (рис. 2.2).
3. РАСЧЁТ ЗУБЧАТЫХ ПЕРЕДАЧ
3.1. Выбор материалов, термообработки и допускаемых
напряжений
Зубчатые колеса редукторов в основном изготавливают из сталей, подвергнутых термическому или химико-термическому упрочнению. Вид термообработки выбирается в зависимости от номинальной нагрузки на барабан Tб. Для нашего случая целесообразно как вид термообработки использовать закалка ТВЧ.
Выбираем марку стали 40Х и назначаем твёрдость по Бринеллю 460 (НВ):
Определяем допускаемые контактные напряжения.
где SH = 1,2 - коэффициент запаса прочности;
базовый предел контактной выносливости.
КHL - коэффициент долговечности, определяется как
здесь
- базовое число циклов длительного предела контактной выносливости, определяется из графика.
NHE — фактическая длина цикла, определяется по формуле:
п1 = 800 об/мин - частота вращения ведущего вала;
L = 18 тыс. ч. - срок службы редуктора;
l1 - 0,6, l2 = 0,2, l3 = 0,1 - относительная продолжительность нагрузки;
Ктак =1,12 - перегрузка;
- относительные величины нагрузок;
=0,005.
Тогда
Так как NHO < NHE, то принимаем KHL = 1.
Отсюда
.
Определяем допускаемые контактные напряжения:
Определяем допускаемые напряжения изгиба:
- частота вращения ведущего вала;
L = 18 тыс. ч. — срок службы редуктора;
l = 0,6, l2 = 0,2, l3 = 0,1 - относительная продолжительность нагрузки;
Кmax = 1,12 - перегрузка;
относительные величины нагрузок;
lmах = 0,005.
Тогда NFE =60·800·18000·(l,129·0,005 + 19·0,6 + 0,69·0,2 + 0,49·0,l)= 5.327·108
Принимаем KFL = 1, т. к. NFG
NFE .
Отсюда
3.2 Проектный расчет цилиндрической зубчатой передачи
Определяем межцентровое расстояние
Характеристики
Тип файла документ
Документы такого типа открываются такими программами, как Microsoft Office Word на компьютерах Windows, Apple Pages на компьютерах Mac, Open Office - бесплатная альтернатива на различных платформах, в том числе Linux. Наиболее простым и современным решением будут Google документы, так как открываются онлайн без скачивания прямо в браузере на любой платформе. Существуют российские качественные аналоги, например от Яндекса.
Будьте внимательны на мобильных устройствах, так как там используются упрощённый функционал даже в официальном приложении от Microsoft, поэтому для просмотра скачивайте PDF-версию. А если нужно редактировать файл, то используйте оригинальный файл.
Файлы такого типа обычно разбиты на страницы, а текст может быть форматированным (жирный, курсив, выбор шрифта, таблицы и т.п.), а также в него можно добавлять изображения. Формат идеально подходит для рефератов, докладов и РПЗ курсовых проектов, которые необходимо распечатать. Кстати перед печатью также сохраняйте файл в PDF, так как принтер может начудить со шрифтами.















