126313 (691005), страница 2
Текст из файла (страница 2)
Средний зазор: Sm = (Smax + Smin)/2 = (0,031 – 0,020)/2 = 0,011 мм
Средний натяг: Nm = (Nmax + Nmin)/2 = (0,020 - 0,031)/2 = -0,011 мм
Допуск зазора: TS = Smax + Nmax = 0,031 + 0,020 = 0,051 мм
Допуск натяга: TN = Smax + Nmax = 0,031 + 0,020 = 0,051 мм
Задача 4
1. Подобрать размеры шпонки для соединения шкива с валом.
2. Назначить посадку шкива на вал и посадки шпонки с пазом вала и пазом втулки в соответствии с вариантом задания.
3. Выполнить анализ полученных посадок шпонки с пазом вала и пазом втулки.
4. Построить схемы расположения полей допусков этих соединений.
5. Обозначить на эскизах посадки соединяемых деталей и поля допусков деталей соединения.
Вид шпоночного соединения: нормальное, d = 55 мм, l = 56 мм.
Решение.
По ГОСТ 23360-78 для вала Ø55 находим сечение шпонки bxh = 16х10 мм и ширину ступицы шкива lc = 75 мм > l.
Допуски на глубину пазов вала и втулки:
t1 = 6+0,2 или d - t1 = 55 – 6 = 49-0,2;
t2 = 4,3+0,2 или d + t2 = 55 + 4,3 = 59,3+0,2.
Предельные отклонения размеров по ширине паза вала и паза втулки должны соответствовать полям допусков ГОСТ 25347-82:
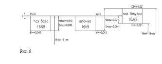
При нормальном соединении: на валу N9, во втулке Js9.
Предельные отклонения на ширину шпонки устанавливают по h9.
Сопряжение шпонки с пазом вала будет осуществляться по посадке 16N9/h9, а с пазом втулки - 16Js9/h9 (переходные посадки).
Отклонения на несопрягаемые размеры, которые рекомендует ГОСТ 23360.
На высоту шпонки 10h11 = 10-0,090
На длину шпонки 56h14 = 56-0,74
На длину паза вала 56H15 = 56-1,2
В соответствии с рекомендациями [2] принимаем посадку шкива на вал 55Н9/h9.
По ГОСТ 25347-82 находим отклонения, соответствующие принятым полям допусков.
Для ширины шпонки b = 16h9; es = 0, ei = -43 мкм.
Для ширины паза вала: В = 16N9: ES = 0, EI = -43 мкм.
Для ширины паза втулки: Ввт = 16Js9: ES = +21 мкм, EI = -21 мкм.
Проведем анализ посадок табл. 4,5; приведем схему расположения полей допусков рис. 6 и эскиз шпоночного соединения рис. 7.
Таблица 4
| Параметры сопряжения | Для вала | Для отверстия |
| Номинальный размер, мм | 16 | 16 |
| Квалитет | 9 | 9 |
| Условное обозначение основного отклонения | h | N |
| Условное обозначение поля допуска | h9 | N9 |
| Верхнее отклонение, мм | еs = 0 | ES = 0 |
| Нижнее отклонение, мм | ei = -0,043 | EI = -0,043 |
| Наибольший предельный размер, мм | 16,0 | 16,0 |
| Наименьший предельный размер, мм | 15,957 | 15,957 |
| Допуск размера, мм | Td = 0,043 | TD = 0,043 |
Характеристики переходной посадки.
Наибольший зазор: Smax = Dmax – dmin = 16,0 – 15,957 = 0,043 мм
Наибольший натяг: Nmax = dmax – Dmin = 16,0 – 15,957 = 0,043 мм
Средний зазор: Sm = (Smax + Smin)/2 = (0,043 – 0,043)/2 = 0
Средний натяг: Nm = (Nmax + Nmin)/2 = (0,043 – 0,043)/2 = 0
Допуск зазора: TS = Smax + Nmax = 0,043 + 0,043 = 0,086 мм
Допуск натяга: TN = Smax + Nmax = 0,043 + 0,043 = 0,086 мм
Характеристики переходной посадки.
Наибольший зазор: Smax = Dmax – dmin = 16,021 – 15,957 = 0,064 мм
Наибольший натяг: Nmax = dmax – Dmin = 16,0 – 15,979 = 0,021 мм
Средний зазор: Sm = (Smax + Smin)/2 = (0,064 – 0,021)/2 = 0,0215 мм
Средний натяг: Nm = (Nmax + Nmin)/2 = (0,021 – 0,064)/2 = -0,0215 мм
Допуск зазора: TS = Smax + Nmax = 0,064 + 0,021 = 0,085 мм
Допуск натяга: TN = Smax + Nmax = 0,064 + 0,021 = 0,085 мм
Таблица 5
| Параметры сопряжения | Для вала | Для отверстия |
| Номинальный размер, мм | 16 | 16 |
| Квалитет | 9 | 9 |
| Условное обозначение основного отклонения | h | Js |
| Условное обозначение поля допуска | h9 | Js9 |
| Верхнее отклонение, мм | еs = 0 | ES = +0,021 |
| Нижнее отклонение, мм | ei = -0,043 | EI = -0,021 |
| Наибольший предельный размер, мм | 16,0 | 16,021 |
| Наименьший предельный размер, мм | 15,957 | 15,979 |
| Допуск размера, мм | Td = 0,043 | TD = 0,042 |
Задача 5
Используя заданные по варианту размеры назначить недостающие осевые и диаметральные размеры ступеней вала, исходя из особенностей конструкции.
Решение.
Назначаем недостающие размеры (табл. 6.).
Таблица 6
| Диаметр ступени, мм | Заданные размеры сопрягаемых деталей, мм | Конструктивно назначенные размеры ступеней вала, мм |
| 1 | 2 | 3 |
| Ø70 | Ширина подшипника В=24 | Ширина ступени: 24 |
| Ø95 | Ширина зубчатого колеса L=150 | Ширина ступени: 170 |
| - | Буртик-упор для зубчатого колеса | Назначаем: Ø115; ширина: 26 |
| - | Ступень для съемника перед правым подшипником | Назначаем: Ø95; ширина: 30 |
| Ø70 | Ширина подшипника В=24 | Ширина ступени: 24 |
| - | Ступень под крышку с сальниковым уплотнением | Назначаем: Ø63; ширина: 50 |
| Ø55 | Ширина шкива b=75 | Ступень под шкив на 5 мм короче: 70 |
| Общая длина вала: 394 мм |
Задача 6
При обработке вала с размерами, установленными в задаче 5, необходимо обеспечить отклонения размера между опорами под подшипник по двенадцатому квалитету (h12). Для этого необходимо:
-
Составить схему размерной цепи.
-
Решить прямую задачу (задачу синтеза) размерной цепи с помощью метода полной взаимозаменяемости.
Решение.
Необходимо при обработке вала выдержать размер АΔ= 226h12 = 226-0,46 (рис. 9).
Составим схему размерной цепи (рис. 10).
Производим проверку замкнутости размерной цепи, мм:
,
где Aj – номинальные размеры составляющих звеньев;
m-1 – общее число составляющих звеньев без замыкающего;
εj – передаточные отношения составляющих звеньев.
АΔ = +1·394 - 1·144 - 1·24 = 226 мм
Найдем значения единиц допуска для составляющих звеньев.
А1 = 394 мм;
А2 = 144 мм;
А3 = 24 мм;
Коэффициент точности:
По данным ГОСТ 25346-89 ближайшее меньшее значение коэффициента точности к полученному будет для 10 квалитета. Оно равно 64 (IT10=64i).
Назначаем по ГОСТ 25346-89 допуски составляющих звеньев по 10 квалитету:
ТА1 = 0,230; ТА2 = 0,140 мм.
Звено А3 выбираем увязывающим.
Сумма допусков составляющих звеньев без увязывающего:
Допуск увязывающего звена:
Отклонения составляющих звеньев назначаем в тело детали:
А1 (394h10): Es = 0; Ei = -230; Ec = -115 мкм;
А2 (144Н10): Es = +140; Ei = 0; Ec = +70 мкм;
АΔ (226h12): Es = 0; Ei = -460; Ec = -230 мкм.
Рассчитаем положение середины поля допуска увязывающего звена:
Предельные отклонения увязывающего звена:
EsАувяз = EсАувяз + ТАувяз/2 = +45 + (90/2) = +90 мкм
EiАувяз = EсАувяз - ТАувяз/2 = +45 - (90/2) = 0 мкм
Результаты расчетов сведем в табл. 7.
Таблица 7
| Номиналь-ный размер звена Aj, мм | Допуск размера ТАj, мкм | Верхнее отклонение EsAj, мкм | Нижнее отклонение EiAj, мкм | Середина поля допуска ЕсАj, мкм | Передаточ-ное отношение звена εj | Произведе-ние ε·ЕсАj, мкм |
| 226h12 | 460 | 0 | -460 | -230 | ||
| A1=394h10 A2=144H10 | 230 140 | 0 +140 | -230 0 | -115 +70 | +1 -1 | -115 -70 |
| A3увяз=24 | 90 | +90 | 0 | +45 | -1 | -45 |
Проверка правильности выполненных расчетов.
Задача 7
Используя данные задач 2, 3, 4, 5, 6 указать на эскизе полученные поля допусков осевых и диаметральных размеров вала.
Решение.
Проставим размеры на рабочем чертеже вала, используя комбинированный метод (рис. 11).
Для обработки левой части (после обработки правой) вал поворачивают на 180°, т.е. происходит смена технологических баз для формирования размеров как вдоль оси, так и диаметральных.
Обеспечение при обработки точности размеров 24+0,09, 144Н10, 394h10 обеспечит точность размера 226h12, определяющего качество сборки.
Для всех свободных размеров отклонения принимаем по 14 квалитету (по «среднему» классу точности). На чертеже об этом сделаем запись в технических требованиях.
Задача 8
-
Выбрать средство измерения для контроля размера вала под посадку с натягом.
2. Охарактеризовать выбранное измерительное средство: наименование, ГОСТ, цена деления шкалы, диапазон измерений, погрешность измерения, температурный режим, вариант использования.
Решение.
Размер вала под посадку с натягом: 95u8. По ГОСТ 8.051-81 определяем:
Допускаемая погрешность измерения: 12 мкм.
















