126249 (690980), страница 2
Текст из файла (страница 2)
Правила эксплуатации дисковых овощерезательных машин и механизмов. Перед началом работы проверяют исправность заземления, надежность крепления машины к производственному столу или приводу универсальной кухонной машины, а также правильность сборки. Работа на дисковых овощерезках включает следующие операции: установку сменного рабочего механизма и загрузочного устройства, подготовку
продуктов к переработке, переработку продуктов, санитарную обработку машины или механизма после окончания их работы. После окончания работы овощерезательных механизмов проводят их санитарную обработку. В процессе их эксплуатации следят за остротой режущих кромок рабочих органов и при необходимости выполняют их заточку. Для заточки все прямолинейные и криволинейные ножи снимают с колодок рабочих органов. Заточку режущих кромок терочных дисков проводят без снятия терок с корпуса терочного диска.
При нарезке овощей ручные приспособления (рисунок 6, а) служат для загрузки продуктов и подачи их при помощи толкателей к рабочим органам. Приспособление состоит из литого корпуса 8 , серповидного толкателя 5 и двух пазов для присоединения к приводному валу. Режущими инструментами механизма служат прямолинейные и терочные ножи. Для изменения толщины обрезаемых ломтиков предназначена специальная шайба, устанавливаемая между опорным диском и ножом.
Роторные овощерезательные машины и механизмы
Особенность таких машин состоит в том, что ножи машины в процессе резания остаются неподвижными, а продукт перемещается вращающимся ротором с лопастями. Роторная овощерезка (рисунок 7), как и дисковая, входит в комплект универсальной овощерезательной машины МРО - 400-1000.
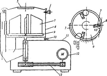
Рисунок 7. Принципиальная схема роторной овощерезательной машины МРО 400-1000:
I - выходной нал; 2 — разгрузочный канал; 3— ножевой блок; 4— ось;
5 -загрузочная воронка; 6 — фиксатор; 7 — лопасти; 8— рабочая камера; 9 — диск;
10 - защелка; 11— корпус; 12 — электродвигатель; 13 — клиноременная передача.
На роторной овощерезательной машине овощи нарезаются ломтиками толщиной 3 мм, брусочками сечением 6x6 мм и 10x10 мм и соломкой 3 мм. Рабочей камерой 8 этой машины служит вертикально расположенный литой цилиндр, который прикрепляют к корпусу 11 с помощью зацепа, с фиксирующей защелкой 10. Сверху на рабочую камеру устанавливают откидную загрузочную воронку 5, которая поворачивается вокруг оси 4 и стопорится фиксатором 6. В боковой стенке рабочей камеры выполнен проем, куда вставляют сменный ножевой блок 3. Ножевые блоки закрепляются в стенке камеры с помощью вилки и откидного болта.
Внутри рабочей камеры установлен ротор, имеющий литое основание в виде диска 9, к которому прикреплены три вертикальные лопасти 7, расположенные под углом 65° к касательной окружности основания ротора. Ротор смонтирован на верхнем конце выходного вала 1 приводного устройства машины и закреплен винтом с левой резьбой.
Вращение ротору передается от электродвигателя 12 через клиноременную передачу 13. С внешней стороны рабочей камеры напротив режущих инструментов расположены разгрузочный канал 2, и переходящий в разгрузочное устройство машины.
На роторной овощерезательной машине овощи нарезаются ломтиками толщиной 3 мм, брусочками сечением 6x6 мм и 10x10 мм и соломкой 3 мм.
Для обеспечения безопасной работы машина снабжена блокировочным выключателем, предотвращающим включение электродвигателя при снятых рабочей камеры и загрузочного устройства.
Рисунок 8. Механизм для нарезания картофеля МКК-270 (Польша) к универсальному приводу: I - корпус; 2 и 9 - конические колеса; 3и8 — валы; 4 —ножевая оправка; 5 - загрузочная воронка ; 6 — барабан; 7 — кожух.
Принцип действия: вращение от универсального привода через пар конических зубчатых колес передается вертикальному валу, а от него - барабану лопастями. В загрузочную воронку подается продукт, который центробежной силой отбрасывается на ножи. Нарезанный продукт через ножевую оправку поступает в подставленную тару.
Правила эксплуатации роторной овощерезательной машины. Перед началом работы устанавливают на корпус рабочую камеру и закрепляют ее фиксатором. Далее открывают загрузочную воронку и устанавливают на валу ротор, поворачивая его за лопасти до тех пор, пока он своим пазом не попадет на шипы вала. Закрепляют ротор на валу стопором, вращая стопор против часовой стрелки до упора. Открывают поворотный канал рабочей камеры и устанавливают на нее соответствующий ножевой блок таким образом, чтобы вилки блока вошли в зацепление с пальцами рабочей камеры. После этого закрепляют блок на рабочей камере откидным болтом с гайкой.
Закрывают поворотный канал, загрузочную воронку и фиксируют ее фиксатором. Подставляют под выходной канал приемную тару, нажимают на кнопку "Пуск" и загружают продукт небольшими порциями.
При работе машины нельзя снимать рабочую камеру, ротор, рабочие органы до полной остановки машины, поправлять и проталкивать застрявший продукт руками.
После окончания работы на роторной овощерезке нажимают на кнопку "Выключено», разбирают ее, очищают поверхности от продукта, промывают теплой водой и просушивают.
Комбинированные овощерезки
Предназначены для нарезки кубиками, пластинами и брусочками вареных овощей, которые используются для приготовления салатов, винегретов и гарниров. Нарезку продукта в овощерезках осуществляют с помощью вращающихся горизонтальных прямолинейных ножей и неподвижной решетки с вертикальными прямолинейными ножами. К комбинированным овощерезкам относятся машина МРОВ - 160 и механизмы МО и МОП II - 1. Механизмы МО и МОП II - 1 помимо нарезки вареных овощей применяют и для нарезки сырых овощей, а также для протирания. Приспособления к этим механизмам для нарезки сырых овощей мы рассматривали в дисковых овощерезках.
Машина для нарезки вареных овощей МРОВ – 160
Машина МРОВ-160 (рисунок 9) состоит из станины, тарельчатого корпуса с загрузочным бункером, рабочих органов и приводного механизма. Рабочей камерой служит тарельчатый корпус, закрытый сверху крышкой. К крышке прикреплен загрузочный бункер, снабженный толкателем.
Рисунок 9. Машина MPOВ-160 для нарезки вареных овощей:
1 — червячный редуктор; 2 — червяк; 3 червячное колесо; 4 - вал; 5 — подшипник; 6— разгрузочный лоток; 7— ножевая решетка; 8- загрузочный цилиндр; 9 — груз-толкатель; 10—фасонная гайка; 11,12- втулки; I3- крышка; 14-штифт; 15 — тарелка; 16 — лоток для удаления крошки; 17 - электродвигатель; 18 - вращающиеся ножи.
Рабочими органами являются съемный плоский нож и сменные ножевые решетки. Плоский нож имеет клиновидную форму с широкой скошенной нижней гранью. Он крепится к приводному валу фасонной гайкой и получает движение от электродвигателя через червячный редуктор. Для чистки ножа у задней кромки загрузочного окна предусмотрен скребок.
Ножевая решетка состоит из набора вертикальных ножей, обращенных лезвиями вверх. Решетка устанавливается в разгрузочном окне корпуса машины и закрепляется фиксатором. Машина имеет несколько ножевых решеток с размерами ячеек 9x9, 14x14, 6x32 и два разгрузочных лотка: один для разгрузки готового продукта, другой - для удаления крошек из рабочей камеры. Включают машину кнопочным пускателем.
Принцип действия. Включают электродвигатель, загружают вареные овощи в цилиндр и вставляют груз-толкатель, который своей тяжестью прижимает продукт к ножевой решетке. Вращающийся горизонтальный нож отрезает от продукта ломтики толщиной 4 или 6мм и своей наклонной рабочей гранью продавливает их в ячейки ножевой решетки, которые разрезают ломтики в двух взаимно перпендикулярных плоскостях. При дальнейшем движении вращающегося ножа вновь отрезанные частицы продукта выталкивают из ячеек ножевой решетки нарезанные кусочки, которые через разгрузочный лоток поступают в подставленную тару. Частицы продукта, прилипшие к нижней части поверхности ножа, очищаются закрепленным на тарелке скребком и выходят через лоток для удаления крошки.
Правила эксплуатации: при подготовке к работе машину размещают на столе и крепят тремя болтами. Далее проверяют правильность сборки, надежность крепления рабочих органов, а также правильность направления вращение ножа. Перед работой верхняя крышка машины должна быть надета на штифты и повернута по направлению, указанному стрелкой; ножевая решетка должна быть зафиксирована. Чтобы не было заклинивания ножа, перед работой проверяют зазор между ножом и ножевой решеткой. Для получения зазора 4 или 6мм снимают крышку с загрузочным цилиндром, отвинчивают фасонную гайку с вала, убирают нож крючком, устанавливают необходимое число прокладок (одну или две) втулку и далее сборку проводят в обратной последовательности.
В расточку корпуса устанавливают загрузочное приспособление и фиксируют его. Включают машину и убеждаются в правильности сборки, подставляют емкость для приемки измельченного продукта и приступают к работе. Сваренный и очищенный продукт загружают в отверстия загрузочного цилиндра. При этом сверху продукта устанавливают толкатель. Чтобы сменить ножевую решетку, необходимо отключить привод машины. После нарезки привод машины отключают, разбирают овощерезку, очищают рабочие органы, рабочую камеру и загрузочные отверстия от остатков продукта, промывают горячей водой и высушивают. Корпус снаружи протирают. В процессе эксплуатации периодически проводят заточку плоского ножа и ножей решеток.
2. Технико-экономическое обоснование
При сравнении дисковых, роторных, пуансонных и комбинированных овощерезательных механизмов можно выделить как положительные, так и отрицательные их черты.
В движение машины приводятся от индивидуальных или универсальных приводов, что наиболее удобно для небольших по размерам предприятий общественного питания. Преимуществом пуансонных механизмов является то, что в нем отсутствуют подвижные ножи с острыми лезвиями, что уменьшает вероятность несчастных случаев. Только в пуансонных механизмах овощи измельчаются с помощью продавливания через решетку, а в дисковых и роторных с помощью нарезания.
Все сменные механизмы отличаются по своим габаритам и массе. Пуансонный сменный механизм МС-28-120, несмотря на свои небольшие габариты 382x295x340 и массу 30 кг, имеет достаточно высокую производительность (120 кг/ч), а потребляемая им мощность около 0,19 кВт, в то время, когда мощность дисковых овощерезок доходит до 1,45 кВт. Пуансонный сменный механизм МС - 28-120 прост в применении и имеет простую конструкцию, поэтому его целесообразно использовать на небольших предприятиях общественного питания для нарезания сырого картофеля.
За базовый вариант пуансонного сменного механизма универсальной кухонной машины для нарезания сырых овощей принимаем механизм для нарезки сырых овощей МС-28-100. Предполагается спроектировать аналогичный по конструкции пуансонный механизм универсальной кухонной машины для нарезания сырых овощей производительностью 120кг/ч.
3. Описание разрабатываемой машины
3.1 Назначение машины
Механизм МС - 28-120 предназначен для фигурной нарезки овощей. Он относится к пуансонным механизмам (рисунок 10).
Рисунок 10. Общий вид механизма для нарезки сырых овощей МС-28-120 1 - корпус; 2 - рабочая камера; 3 - прямоугольная решетка; 4 - цилиндрическая решетка.
3.2 Устройство машины
Механизм МС - 28-120 состоит из корпуса (1), рабочей камеры (2), поршня и сменных ножевых решеток (3 и 4) прямоугольной и цилиндрической, в зависимости от которых определяется форма нарезки: брусочками или дольками.
В корпусе механизма ( см. сборочный чертеж) расположена рабочая камера (3) для обработки продукта, которая представляет собой пустотелый цилиндр. Снаружи рабочей камеры находятся две стойки (4) и установленная на них легкосъемная ножевая решетка (2). Крепится механизм с помощью гайки (1). Корпус редуктора соединен со стойками с помощью штифтов (11). Корпус редуктора (7) закрыт крышкой (15) и пробкой (17). Внутри рабочей камеры помещается ползун (12). К нижнему торцу ползуна крепится пластина с пуансонами (13), благодаря которым продукт проталкивается I ножевую решетку.
Достигнув крайнего нижнего положения, ползун своей заслонкой (18) перекрывает загрузочный канал, предотвращая попадание продукта в пространство рабочей камеры под ползуном. Ползун совершает возвратно - поступательное движение, которое передается ему следующим образом: привод универсальной кухонной машины (АИР 63 В6) заставляет вращаться приводной вал (6), от которого через червяк (10) и червячное колесо (14) движение передается коленчатому валу (16). Шейка коленчатого вала установлена в пазу рамки - кулисы (8), которая имеет две пары роликов (9), перемещающихся по направляющим корпуса и шток (5), который жестко соединен с ползуном.
















