126176 (690943), страница 7
Текст из файла (страница 7)
Испытательная установка состоит из камеры пыли с аппаратурой (рисунок8), обеспечивающей контроль заданного режима испытай; трубопровода с аппаратурой, регулирующей и контролирующей заданный режим в оболочке изделия; вакуумной установки, обеспечивающей необходимое разрешение в оболочке изделия.
Камера пыли состоит из испытательного бункера, центробежного вентилятора и трубопровода, обеспечивающего замкнутую циркуляцию воздушного потока.
Размеры испытательного бункера должны обеспечивать свободный обдув оболочки изделия со всех сторон. Минимальное расстояние между стенками оболочки и бункера камеры должно быть не менее 0.2 м.
Циркуляция воздушного потока должна обеспечиваться центробежным вентилятором пылевого типа производительностью 36000—40000 м3/ч.
Камера пыли должна иметь устройство (поворотная заслонка), обеспечивающее регулирование скорости циркулирующего потока от 0.5 до 1.0 м/с при статическом воздействии пыли йот 1 до 10 м/с при динамическом воздействии пыли.
Нагрев циркулирующею потока воздуха — при помощи встроенного герметичного нагревателя. Регулирование температуры нагрева — контактным термометром.
Камера пыли должна иметь дозирующее устройство, обеспечивающее непрерывную подачу пыли в камеру с заданной производительностью. В качестве дозирующего устройства рекомендуется использовать дисковый питатель.
Контроль концентрации ныли должен осуществляться наборным устройством, использующим фильтрацию запыленного воздуха через фильтр.
Контроль заданного режима испытаний в оболочке изделия должен осуществиться с помощью манометра (разрежение) по техническим условиям, утвержденным в установленном порядке, и реометром (расход прокаченного воздуха).
Для поддержания заданного перепада давления в оболочке применяют вакуумный насос.
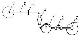
Рисунок 8- Установка для испытаний на воздействие пыли:
1-испытуемое изделие, 2- заборное устройство, 3- маномерт, 4-стекляное окно, 5- контактный термометр, 6- нагреватель, 7- кабель, 8- дозирующее устройство, 9-направляющая коронка, 10- вентилятор, 11- поворотная задвижка, 12-сетка, 13-фильтродержатель, 14-раскольдер, 15- вентиль, 16- вакуумный насос
Определение концентрации пыли в камере:
Для определения концентрации пыли в камере используют заборное устройство схема которого приведена на чертеже (рисунок 9).
Рисунок 9- Заборное устройство
Отбор пробы пыли для определения концентрации производят внешней фильтрацией запыленного воздуха через фильтр.
Отбор пробы производят следующим образом:
-
фильтр типа АФА- B-18 взвешивают на аналитических весах и устанавливают в фильтродержателе;
-
поворотным устройством производят установку заборной трубки. Отверстие насадки задорной трубки должно быть установлено перпендикулярно направлению пылевого потока;
-
включают вакуумный насос и производят отбор пробы. Время отбора должно быть таким, чтобы навеска отфильтрованной пыли на фильтре была не менее 0,11 г;
-
после окончания отбора вакуумный насос выключают, заборную трубку при помощи поворотного устройства устанавливают под углом 90° к пылевому потоку. Фильтр извлекают и взвешивают на аналитических весах.
Аналогично проводят еще два отбора пробы.
Концентрацию пыли в камере N г/м3, рассчитывают по формуле
,
где ∆G— разность весов на фильтре до и после отбора;
Q — расход воздуха через фильтр;
t— время отбора пробы.
За концентрацию пыли при испытаниях принимают среднее арифметическое результатов всех определений.
-
Испытания изделий на воздействие воды
При испытаниях используется пресная вода.
При проведении испытаний температура воды не должна отличаться более чем на 5°С от температуры испытуемого образца. Если температура воды ниже температуры образца более чем на 5°С, следует предусмотреть возможность выравнивания давления в оболочке. Во время испытаний может частично конденсироваться влага, содержащаяся внутри оболочки. Накапливающийся конденсат не следует путать с водой, просачивающейся внутрь оболочки извне во время испытаний.
Перед проведением испытаний следует подсчитать с точностью до 10 % площадь поверхности оболочки.
При проведении испытаний с оборудованием, находящимся под напряжением, следует предусмотреть меры безопасности.
Испытания изделий допускающие допускающих возможность поворота вокруг горизонтальной оси на 180°, допускаются проводить в камере дождя в режиме «брызгозащищенность». Зона дождя должна перекрывать габаритные размеры изделия не менее чем на 300м. Угол наклона стола, на котором крепят изделие к горизонтальной плоскости, 45°. Во время испытаний стол должен вращаться вокруг вертикальной оси.
Интенсивность искусственного дождя - (5±2) мм/мин. Интенсивность дождя контролируют перед испытаниями в месте расположения изделия не менее 30 с циклическим сборником диаметром 100-200 мм и высотой не менее половины диаметра.
Продолжительность испытаний изделия – не менее 10 мин.
Изделие считается выдержавшим испытание, если его характеристики удовлетворяют требованиям стандартов и после вскрытия внутри изделия не обнаружено воды.
В соответствии с конструктивным исполнением изделия подвергают испытаниям на воздействие брызг воды и герметичность. Эти испытания предназначены для подтверждения правильности выбранной защиты и определения возможности функционирования в условиях воздействия брызг воды и в момент погружения изделия в воду.
Кроме испытаний на устойчивость к действию дождя (попадает на изделие под углом 60° от вертикали), брызг (вода разбрызгивается на изделие под любым направлением), водяных струй (струя подается на изделие в любом направлении) и волн воды (вода не должна попадать внутрь изделия в количестве, достаточном для повреждения) брызгозащищенные изделия дополнительно испытывают на обеспечение стока попавшей внутрь воды с открытыми сточными и вентиляционными отверстиями. Через 1 ч после окончания испытания изделие вскрывают и осматривают внутренние поверхности. Время такого осмотра должно быть достаточным для полного удаления и высыхания попавшей внутрь воды.
Испытания на воздействие дождя, брызг и струй воды проводят в камере дождя (рисунок 9). Внутри камеры помещена трубка (изогнутая в виде полукольца) с внутренним диаметром 18 мм. На внутренней стороне полукольца расположены отверстия диаметром 0,4 мм с шагом 50 мм, через которые на изделие подается вода. Трубка совершает колебательные движения с отклонением на угол 60° от вертикали в обоих направлениях со скоростью 60°/с. Давление воды у входа в трубку 0,1 МН/м2. Изделие помещают на решетчатый стол и вращают с частотой 1 мин"1. Продолжительность испытаний 10 мин или 1 ч. Температура воды в начальный момент испытаний должна быть ниже температуры изделий на 10... 15 °С.
Рисунок 9- Схема камеры дождя: 1 — вентиль; 2 — фильтр; 3 — измеритель расхода воды; 4 — манометр; 5 — изделие; 6— стол; 7— трубка; 8— защитный экран; 9 — шкив; 10 — конечные выключатели; 11 — электродвигатель реверсивный; 12 — поддон для слива воды
При испытаниях изделий с защитой от наката воды их обливают поочередно со всех сторон струей воды из цилиндрической насадки с расстояния 1,5 м от изделий. Давление воды 0,2 МН/м2, диаметр отверстия насадки 25 мм, длина 50...75 мм. Время испытаний 15 мин.
При испытаниях на водонепроницаемость(герметичность) изделия погружают в закрытую камеру с водой или на глубину 0,5... 1,0 м (температура воды (20 ± 10) °С). В первом случае создают избыточное давление, чтобы получить имитацию глубины 0,5... 1,0 м. Изделие работает под электрической нагрузкой в номинальном режиме. Продолжительность испытаний не менее 30 мин.
После испытаний внешние поверхности изделий вытирают насухо, изделия вскрывают для визуальной оценки попадания влаги внутрь корпуса. Иногда внутри корпуса изделия создают избыточное давление 0,05 МН/м2 и погружают изделие в ванну с водой на 1... 5 мин. Испытания считаются положительными, если воздух не выходит из корпуса.
Механические:
-
Испытание на воздействие вибрационных и ударных нагрузок
Испытание допускается проводить на однокомпонентном стенде с вертикальным иди горизонтальным направлением вибрации и ударов поочередно при расположении в трех координатных осей преобразователя под одинаковыми углами направлению вибрации. При этом значение виброперемещения и виброускорения увеличиваются в 3 раза.
Во время испытания на прочность при воздействии вибрации(испытание на вибропрочность) преобразователи должны находиться в выключенном состоянии. После испытаний на вибропрочность преобразователи должны соответствовать требованиями не иметь мехинических повреждений и ослабления креплений.
Во время испытания на устойчивость при воздействии вибрации(испытание на виброустойчивость) преобразователи должны соответствовать требованиям.
Испытания на виброустойчивость и вибропрочность:
Изобретение (Рисунок 10) относится к вспомогательному оборудованию для испытания изделия на вибрацию в трех взаимно перпендикулярных положениях. Стенд для испытания изделий на вибрацию содержит вибровозбудитель со столом, вспомогательный стол, выполненный в форме куба и прикрепленный к столу вибровозбудителя, приспособление для закрепления испытуемых изделий, установленное на вспомогательном столе с возможностью переориентации и фиксации в трех взаимно перпендикулярных положениях, и по меньшей мере три вспомогательные платформы, каждая из которых закреплена снаружи на одной из взаимно перпендикулярных граней вспомогательного стола. Каждая из вспомогательных платформ содержит проушины с установленной в них осью, прорезь и резьбовое отверстие, выполненное перпендикулярно прорези.
Рисунок 10- Стенд для испытания изделий на вибрацию
Приспособление для закрепления испытуемых изделий выполнено также в виде платформы, содержащей щечки с пазом и выступ с выполненным перпендикулярно ему отверстием для обеспечения контактирования с осью и прорезью соответственно одной из вспомогательных платформ, при этом в резьбовое отверстие и отверстие выступа установлен винт, а паз в щечках выполнен под углом 45º к платформе и с шириной, равной диаметру оси, торцевые контактные поверхности отверстия выступа и винта выполнены с конусностью, равной двум.
Испытания на ударную прочность и ударную устойчивость:
Испытание на удар производится на специальных стендах, на которых создаются необходимые мгновенные ускорения, соответствующие требованиям ТУ. Ударные нагрузки характеризуются формой, амплитудой, периодом и длительностью колебаний. Они представляют собой импульсы силы с амплитудой до 103 g (ускорение силы земной тяжести) с малой длительностью (около 10-3c.) и значительным по сравнению с длительностью периодом.
При этом создаются ускорения за счет удара свободно падающего тела о наковальню или по платформе, на которой устанавливаются ОП. Кинетическая энергия падающего тела определяется его массой и высотой расположения центра тяжести тела.















