126037 (690839), страница 3
Текст из файла (страница 3)
с = - 4,183 х 10-12 ºC-4
Оскільки коефіцієнти В і С відносно малі, опір росте майже лінійно по мірі росту температури. Порахувавши опору перетворювача від температури вимірюваного середовища заповнимо таблицю 2.
Найпоширеніша конструкція - так звана "вільна від напруги спіраль". Ця конструкція випускається багатьма російськими підприємствами і вважається найнадійнішою. Варіації основного дизайну полягають в розмірах деталей і матеріалах, використовуваних для герметизації корпусу ЧЕ. Для різних діапазонів температур використовуються різні види глазурі. Ця конструкція ЧЕ також дуже поширена за кордоном [1].
ЧЕ проектуємо у вигляді платинової спіралі рисунок 12, три відрізки якої укладаються в канали трубки з оксиду алюмінію і засипаються порошком з оксиду алюмінію високої чистоти. Таким чином, забезпечується ізоляція витків спіралі один від одного, амортизація спіралі при термічному розширенні і віброміцність. Герметизація кінців ЧЕ проводиться за допомогою проводиться за допомогою цементу, приготованого на основі оксиду алюмінію, або спеціальної глазурі.
Рисунок 12 - Схема ЧЕ
Таблиця 2 Залежності опору від температури
| Температура, 0С | Опір, Ом |
| -50 | 401,5 |
| -45 | 411,4 |
| -40 | 421,3 |
| -35 | 431,2 |
| -30 | 441,1 |
| -25 | 450,5 |
| -20 | 460,5 |
| -15 | 470,5 |
| -10 | 480,4 |
| -5 | 490,2 |
| 0 | 500 |
| 5 | 505,4 |
| 10 | 515,4 |
| 15 | 528,4 |
| 20 | 538,4 |
| 25 | 548,3 |
| 30 | 558,5 |
| 35 | 568,5 |
| 40 | 578,5 |
| 45 | 586,3 |
| 50 | 592,0 |
Відношення опору термоперетворювачів при 100ºС до опору при 0ºС повинне відповідати W100 = 1,3910. Статична характеристика рисунок 13 перетворювача повинна відповідати формулі (1):
Rt = Wt R0 (1)
де Rt - опір перетворювача Ом, при температурі t, Wt - значення відношення опору при температурі t до опору при 0ºС.
Рисунок 13 - Статична характеристика
4.2 Розрахунок ємнісного перетворювача вологості
Ємність будь-якого конденсатора залежить від трьох основних параметрів: площі пластин S, відстані δ між пластинами і діелектричної проникності середовища ε між пластинами конденсатора, формула 2.
. (2)
Із наведеної формули бачимо, що зміни ємності можна досягти, змінивши значення однієї з величин δ, ε або S. Для розроблюваного приладу використовуємо зміну діелектричної проникності середовища, тобто δ=const, S=const, тому використаємо формулу (3) [4]
(3)
Його характеристика С=f (ε) буде лінійною рисунок 14
Рисунок 14 - Характеристика ємнісного перетворювача
Для перевірки впливу тиску на ємнісний датчик використовується калібратор вологості, схема якого зображена на рисунку 15, який моделює умови трубопроводу.
Рисунок 15 - Схема калібратора вологості
1 - балон з якого в систему подається тиск до 17 МПа, редуктор 2 понижує тиск до значення р, через пристрій насищення 3 з температурою Т і вологістю близькою до 100%, газ потрапляє до камери генератора 5, який знаходиться в термостаті 6 де проходить конденсація надлишку вологи і насичення пари в газі до 100%. У вимірювальній камері 8 термостату 7 вимірюється вологість.4,10 - перетворювачі тиску, 9 - редуктор, 11 - капіляр
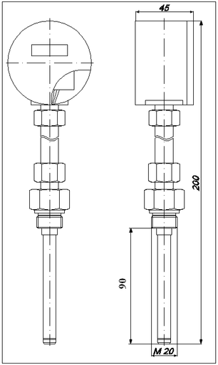
4.3 Розрахунок габаритно-монтажних параметрів приладу
Для правильного функціонування приладу необхідне точне визначення габаритно-монтажних розмірів розроблюваного приладу рисунок 16
Рисунок 16 - Габаритно-монтажні розміри приладу
Габаритні розміри приладу визначаються шляхом додавання розмірів складових елементів, деталей. Гільза з чутливим елементом занурються в вимірювальне середовище на 90мм. До трубопроводу прилад приєднується за допомогою різьбового з’єднання М20. Дані розміри вибрано з конструктивних міркувань.
Також для повноцінного функціонування приладу вимірювання вологості газу необхідний датчик тиску рисунок 17, використовуємо перетворювач тиску АИР - 20 ДА, який призначений для використання в системах автоматичного контролю, регулювання і управління технологічними процесами і призначений для безперервного перетворення в уніфікований вихідний струмовий сигнал 4.20 мА абсолютного тиску.
Рисунок 17 - Габаритно-монтажні розміри датчику тиску
5. Розрахунок метрологічних характеристик
Вимірювачі з ємнісними датчиками мають діапазон вимірювання відносної вологості 0-100% і похибку 2-3%. Стандартна похибка вимірювання температури складає 0,3-0,5°с. Похибка вимірювання різна для різних параметрів вологості і неочевидним чином пов'язана з похибкою вимірювання початкових величин - відносної вологості і температури. Проте, її значення досить просто виходить шляхом нескладних математичних викладень. Оскільки такий аналіз може бути корисний споживачам, він проведений в даному розділі.
Щоб уникнути непорозумінь відразу ж підкреслимо, що " похибка вимірювання температури" це не "додаткова температурна похибка датчика вологості". Перша приводить до того, що при обчисленнях в приладі використовується неправильне значення температури. Ця похибка присутня при всіх температурах, зокрема і при кімнатній. Тому вона впливає на значення основної похибки всіх величин вологості, що отримуються шляхом розрахунку із зміряних значень відносної вологості і температури. Сенс другої похибки виражається її назвою "додаткова", тобто ця похибка виявляється тільки при температурах відмінних від кімнатної. Вона обумовлена залежністю параметрів самого датчика вологості від температури.
5.1 Абсолютна вологість (a)
Фактично це щільність водяної пари. Обчислюється за формулою:
φ - відносна вологість (%), E - тиск (кПа) насиченої пари при температурі
T (°С). Діапазон вимірювання рівний:
Видно, що абсолютна вологість залежить як від відносної вологості, так і від температури, в основному - через залежність E від температури. Тому приведена похибка вимірювання абсолютної вологості δа визначається похибкою, як датчика вологості, так і датчика температури:
Де δφ, δТ - похибки вимірювання відносної вологості і температури, а
У діапазоні від - 50°С до +20°С значення βТ змінюється від 0,11/°с до 0,06/°с. В (1.5) нехтує явною температурною залежністю а, рівною 0,003/°с. Аналіз формули (6) показує:
при низьких значеннях абсолютної вологості (φ~0%) δа ~δφ
при високих значеннях вологості (φ ~ 100 %)
внесок температурного датчика значний. Так, при похибці вимірювання температури 0,5°с він складає 3%, що рівне похибки, що вноситься датчиком відносній вологості.
5.2 Точка роси (ТD)
Одна з найважливіших величин, що характеризують вологість газу. Визначається як температура, при якій пара стає насиченою, тобто відносна вологість досягає значення 100%. Зрозуміло, що, чим нижче відносна вологість аналізованого газу, тим нижче його точка роси. Математичний опис абсолютної похибки δТD виражається формулою:
На рисунку 18 показана залежність точки роси від відносної вологості для газу, що має температуру 20°с. При зменшенні відносної вологості точка роси зменшується згідно із законом, близькому до логарифмічного. Видно, що поблизу φ=100% (в цьому випадку точка роси близька до температури аналізованого газу) похибка вимірювання відносної вологості в 1% приводить до похибки значення точки роси в 0,16°с, а при φ=2% (точка роси порядку мінус 30°с) похибка зростає до 5°с. Абсолютно очевидно, що розглядати похибки вимірювання відносної вологості 2% при значенні самої величини 2% не має сенсу.
Рисунок 18 - Значення точки роси при 200С
Похибка вимірювання точки роси датчиками відносної вологості залежить не від самої точки роси, а від того, наскільки далеко вона стоїть від температури аналізованого газу, тобто від величини Т-ТD, званої дефіцитом точки роси. Це видно і з формули (7), де дефіцит точки роси - "сухість" газу - виявляється через відносну вологість. Це означає, зокрема, що похибка вимірювання такого високого значення точки роси, як +20°С, для газу з температурою +70°С, буде практично рівна похибці вимірювання такого малого значення, як мінус 30°с, але для газу з температурою +20°С. Адже в обох цих випадках дефіцит точки роси однаковий. Інша ситуація. Похибка вимірювання точки роси +10°С для газу з температурою +20°С значно менше, ніж похибка для газу з температурою +50°С, оскільки в першому випадку дефіцит точки роси багато менше, ніж в другому. Тому завжди розглядаючи похибку, треба брати до уваги не саму точку роси, а її дефіцит. Також коректним буде визначення параметрів для фіксованої температури аналізованого газу, наприклад для 20°с. Слід ще раз зазначити, що дані зауваження справедливі тільки для приладів з датчиками відносної вологості.
Аналіз формули (7) показує:
при малому дефіциті точки роси (φ ~100%)















