126037 (690839), страница 2
Текст из файла (страница 2)
Через нерівноважний принцип вимірювання, аналізатор практично нечутливий до наявності домішок метанолу в природному газі. Мабуть, це єдиний аналізатор вологості природного газу, що володіє цією властивістю.
Поріг чутливості аналізатора знаходиться в діапазоні одиниць ppb. Таким чином його можна використовувати для вимірювання вологості на установках газорозділу методом глибокого охолоджування (турбоекспандер). При цьому аналізатор необхідно обладнати спеціалізованою системою, здатною забезпечити відбір проби газу і доставити таку малу кількість води до аналізатора.
Аналізатор оснащений вбудованим генератором вологості, який дозволяє миттєво оцінити правильність свідчень, якщо у постачальника і покупця виникнуть яких-небудь розбіжності за якістю газу, причому без зупинки вимірювання, демонтажу датчика і яких-небудь додаткових засобів. Аналізатор вимірює абсолютне значення вологості (ppm або мг/м3), а відображення результатів в одиницях температури точки роси здійснюється при необхідності по "зашитим" в ППЗУ таблицям ASTM або ГОСТ. Перерахунок з абсолютних величин в одиниці температури точки роси здійснюється з високою точністю навіть в припущенні про ідеальності газу і приводить до похибки в межах ±1°С. Таким чином, принцип вимірювання, реалізований в аналізаторах на основі кварцевого кристала, представляється якнайкращим для визначення вологості природного газу на всіх стадіях. Найбільшу економічну вигоду використання цього аналізатора дає при автоматизації роботи установок осушення і на вузлах комерційного обліку газу.
Існуючі моделі аналізаторів AMETEK охоплюють всі можливі застосування в газовій промисловості. В сукупності з іншими аналізаторами якості (газовим хроматографом для визначення складу газу і його теплотворної здатності аналізатором H2S і аналізатором точки роси вуглеводнів) ці прилади успішно вирішують комплекс завдань, що виникають в процесах здобичі, переробки, транспортування і розподіли природного газу.
1.5 Порівняння методів вимірювання вологості газу в потоці
Розглянувши методи визначення вологості газу, та проаналізувавши технічні характеристики приладів, побудовано порівняльну таблицю 1 в якій наведені технічні характеристики, та умови використання перерахованих методів
Таблиця 1 - Порівняння характеристик приладів
| Метод Вимірювальна величина | Ємнісний метод вимірювання вологості газу | Метод вимірювання температури конденсації пари води | Метод мікровагів, вимірювання вологості газу | Метод з використання електролітичного осердя на основі п'ятиокису фосфору |
| Робочий тиск | 1…15 МПа | 1…10Мпа | 1-3МПа | 0,07…0,7МПа |
| Робоча температура | 40…110ºС | 40…50ºС | До 50ºС | 0…50ºС |
| Відносна вологість | 0…100% | 0…98% | 0…100% | 0…100% |
| Абсолютна вологість | 0…18г/м3 | 0…20г/м3 | 0…30 г/м3 | 0…30г/м3 |
| Похибка вимірювання відносної вологості | +/-2…3% | +/-1% | +/-10% | +/-5% |
| Чутливість | 6-8г/м3 | 6-8г/м3 | 6-8г/м3 | 6-8г/м3 |
Проаналізувавши табличні дані, обираємо метод, який більше задовольняє умові завдання, а саме робочий тиск 0-10МПа, робоча температура приладу - 45…50ºС, та похибка не більше 0,2-0,5ºС. Ці умови задовольняє лише метод вимірювання вологості за допомогою емнісного аналізатора. Але для повної оцінки вологості газу в трубопроводі, а саме для визначення відносної вологості, абсолютної вологості, об’ємного вологовмісту, температури точки роси необхідно знати зміну тиску в трубопроводі. Навіть не значна зміна тиску призводить до появи непередбачуваних похибок, тому обраний метод необхідно удосконалити. Для цього використовуємо перетворювач тиску АИР - 20 ДА, НПП "Элемер", який призначений для використання в системах автоматичного контролю, регулювання і управління технологічними процесами і призначений для безперервного перетворення в уніфікований вихідний струмовий сигнал 4.20мА абсолютного тиску.
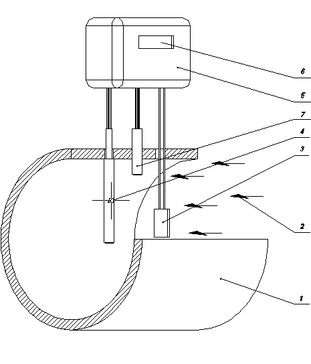
2. Розробка принципової та структурної схем приладу для вимірювання вологості газу
Принципова схема рисунок 7 та структурна схема приладу рисунок 8 показує принцип роботи розроблюваного приладу. Розроблюваний прилад складається з чотирьох основних частин: датчика вологості поз.3, датчика температури поз.4, датчика тиску поз.7 та обчислюваного пристрою поз.5.
Рисунок 7 - Принципова схема вологоміра
Датчик температури являє собою ємнісний перетворювач, діелектрична проникність якого залежить від вологості вимірювального середовища. Кріпиться до трубопроводу поз.1 та контактує безпосередньо з вимірювальним середовищем поз.2, в нашому випадку потоком газу. Більш детально принцип роботи перетворювача описано нижче.
Датчик температури являє собою термометр опору, опір якого залежить від температури навколишнього середовища, також монтується в трубопровід поз.1 та контактує безпосередньо з вимірювальним середовищем поз.2, в нашому випадку потоком газу. Більш детально принцип роботи описано нижче.
Обчислювальний пристрій являє собою мікросхему закриту у вологонепроникний корпус, виконує функції обробки сигналів з датчиків, температури та вологості середовища, обчислює температуру точки роси, абсолютну вологість та об’ємне вологотримання середовища, і видає їх на електронне табло.
Рисунок 8 - Структурна схема вологоміра
3. Визначення та дослідження основних елементів і вузлів приладу для вимірювання вологості газу
Основними елементами приладу можна вважати перетворювачі температури, тиску та вологості в електричний сигнал, та реєструючий пристрій. В нашому приладі використовуються наступні чутливі елементи. Для перетворення температури потоку використовуємо термометр опору, опір якого залежить від зміни температури навколишнього середовища, в даному випадку температури потоку природного газу в трубопроводі. Для перетворення вологості в електричний сигнал використовуємо ємнісний перетворювач, ємність якого, за рахунок зміни діелектричної проникності ε, яка залежить від вмісту вологи в потоці. Для отримання значення тиску в трубопроводі використовуємо
3.1 Термоперетворювач опору
Термометр опору - датчик для вимірювання температури, чутливим елементом якого є резистор, що виконаний з металевого дроту або плівки і має відому залежність електричного опору від температури. Найбільш поширений тип термометрів опору - платинові термометри. Це пояснюється тим, що платина має високий температурний коефіцієнт опору і високу стійкість до окислення. Еталонні термометри виготовляються з платини високої чистоти з температурним коефіцієнтом не менше 0,003925. Як робочі засоби вимірювань застосовуються також мідні і нікелеві термометри.
Стандарт, що діє, на технічні вимоги до робочих термометрів опору: ГОСТ Р 8.625-2006 (Термометри опору з платини, міді і нікелю. Загальні технічні вимоги і методи випробувань). Опір виготовленого термометра може бути будь-яким. Промислові платинові термометри опору в більшості випадків використовуються із стандартною залежністю опір-температура (НСХ), що обумовлює похибку не краще 0,1°С (клас АА при 0°С). Термометри опору на основі напиленої на підкладку плівки відрізняються підвищеною віброміцністю, але меншим діапазоном температур. Максимальний діапазон, в якому встановлені класи допуску платинових термометрів для дротяних чутливих елементів складає 660°С (клас З), для плівкових 600°С (клас З). Термоперетворювачі опору виготовляються термочутливих елементів (ЧЕ) рисунок 9, в корпус з неіржавіючої сталі 08Х18Н10Т. Гнучкий вивід виготовлений з термостійкого екранованого дроту у фторопластовій ізоляції типу МСЕО-1511.
Рисунок.9 - Термоперетворювач опору
3.2 Ємнісний перетворювач вологості
Ємнісні вимірювальні перетворювачі використовуються для перетворення лінійних або кутових переміщень, тисків, вібрацій, прискорень, рівнів рідини в електричний сигнал. Являє собою конденсатор що складається з двох чи більше пластин, відокремлених одна від одної шаром повітря або іншим діелектриком.
В розроблюваному приладі використано властивість ємнісних перетворювачів перетворювати зміну вологості середовища, яка змінює діелектричну проникність ε діелектрика.
Ємнісний перетворювач, який входить до складу розроблюваного приладу має дуже малі габаритні розміри, в якості діелектрика використано полімер чутливий до вологи, щоб забезпечити доступ вологи до діелектрика одну з пластин робимо пористою ширина пор від 1 до 10 мкм рисунок 10 [3].
Рисунок 10 - Ємнісний перетворювач вологості
3.3 Тенорезисторний перетворювач тиску
Використаний перетворювач тиску рисунок 11 складаються з первинного перетворювача і електронного пристрою. Середовище під тиском подається в камеру первинного перетворювача і деформує його мембрану, що приводить до зміни електричного опору розташованих на ній тензорезисторов, включених в електричне коло, внаслідок чого первинний перетворювач видає сигнал напруги. Електронний пристрій перетворить електричний сигнал в цифровий код значення вимірюваного тиску, який потім перетвориться в уніфікований струмовий вихідний сигнал.
Конструктивно датчик складається із сталевого циліндричного корпусу, в якому розміщений модуль аналогового пристрою. З одного торця корпусу угвинчений штуцер з тензоперетворювачем, на іншому кінці корпусу встановлена герметична вилка для підключення до струмової петлі 4…20мА. Вилка встановлюється через гумове кільце ущільнюється і закріплюється пластмасовою гайкою, яка нагвинчується на зовнішнє різьблення корпусу.
Рисунок 11 Тензорезисторний перетворювач тиску
Описані вище чутливі елементи найбільш підходять для їх використання в умовах, описаних в завданні, окрім того вони не дорогі, що робить розроблюваний прилад більш доступним.
Для захисту від механічних пошкоджень вище описані чутливі елементи помістимо в захисну гільзу, виконану з нержавіючої сталі, що забезпечить довгостроковість експлуатації приладу.
4. Розрахунок основних елементів вузлів приладу для вимірювання вологості газу
4.1 Розрахунок термоперетворювача опору
Для промислових платинових термометрів опору використовується рівняння Каллендара-Ван Дзюзена з відомими коефіцієнтами, які встановлені експериментально і нормовані в міжнародному стандарті МЕК 60751
RT=R0 [1+AT+BT2+cT3 (T-100)] (-200ºC RT=R0 [1+AT+BT2] (0ºC де RT - опір при температурі Т, R0 - опір про 0ºC та константи (для платинового термоперетворювача): А = 3,9083 х 10-3 ºC-1 В = - 5,775 х 10-7 ºC-2















