125667 (690630)
Текст из файла
КУРСОВАЯ РАБОТА
На тему:
«Общие вопросы эксплуатации электрооборудования. Основные сведения об электрооборудовании сельского хозяйства »
Белгород 2010
-
Теоретическая часть
Состояние находящегося в эксплуатации электрооборудования и электрических сетей оказывает существенное влияние на работоспособность всего технологического оборудования сельского хозяйства и коммунально-бытового оборудования. В процессе использования электроустановки подвергаются действию различных эксплуатационных факторов, в результате чего изнашиваются и стареют, что приводит к отказам. Это связано с появлением неисправностей, обусловленных отклонением от нормальных режимов использования оборудования, изменением условий эксплуатации либо неправильным выбором и монтажом. Задачей эксплуатации электрохозяйства является поддержание работоспособного состояния оборудования, недопущение простоев из-за неисправностей.
Под эксплуатацией понимают наблюдение за работой сетей и оборудования, межремонтное обслуживание и ремонт, т.е. это система организационных и технических мероприятий, направленных на поддержание оборудования в исправном состоянии. В соответствии с ГОСТ 18322–78* в процессе эксплуатации предусматриваются два вида профилактических мероприятий – техническое обслуживание и ремонт. Техническое обслуживание имеет несколько видов – регламентированное, с периодическим контролем и постоянным контролем. Состав работ по обслуживанию определяется видом оборудования и включает в себя контроль в процессе работы и в период остановок с целью прогнозирования технического состояния электрооборудования, проверку его работоспособности, регулирование или под настройку узлов, замену износившихся деталей. Иными словами, система технического обслуживания и ремонта представляет собой совокупность технических средств, документации и исполнителей, необходимых для выполнения всех этих работ. Осмотры и наблюдение позволяют определить общее состояние электроустановки, а также уточнить объем работ при очередном плановом ремонте. Периодичность и объем осмотров обслуживания и ремонта установлена «Системой планово-предупредительного ремонта и технического обслуживания электрооборудования сельскохозяйственных предприятий», а также «Правилами технической эксплуатации электроустановок потребителей», а для оборудования, не вошедшего в упомянутые документы, используются сведения и указания заводов-изготовителей. При профилактических испытаниях осуществляют контроль за эксплуатационной надежностью находящихся в эксплуатации электроустановок для своевременного обнаружения отклонения от нормы контролируемых параметров. К таким испытаниям, например, относятся измерения параметров заземляющих устройств, изоляции электрооборудования, сопротивлений устройств выравнивания потенциалов в животноводческих помещениях и т.п.
В процессе профилактики и модернизации электроустановок предусматривается текущий и капитальный ремонт. При текущем ремонте выполняют очистку, замену и ремонт быстро изнашивающихся частей, а также регулировку узлов и механизмов. Текущий ремонт является основным видом ремонта и производится на месте установки оборудования с его остановкой и отключением от электросети, но без полной разборки. При капитальном ремонте, наиболее полном и сложном, производится полная разборка оборудования, восстановление или замена изношенных деталей и узлов, регулировка, наладка и испытания в объеме требований ПТЭ электроустановок потребителей или заводских инструкций. В процессе капитального ремонта может быть осуществлена модернизация электроустановки, под которой понимают ее изменение и усовершенствование для приведения в соответствие с современными требованиями, например увеличение мощности, производительности технологического оборудования, надежности, экономичности и долговечности. Модернизация выполняется только после технико-экономической оценки с учетом работоспособности технологического оборудования. Для различных видов электроустановок устанавливаются необходимые периодичности технического обслуживания и ремонта. Периодичность может исчисляться днями, месяцами. Для отдельных видов электрооборудования существует ежедневное техническое обслуживание.
Техническое обслуживание выполняют на месте установки электрооборудования. При подготовке электрооборудования к хранению, а также непосредственно после его окончания обслуживание проводят, если период хранения продолжается более 2 мес. В сельском хозяйстве следует проводить и сезонное техническое обслуживание для подготовки электрооборудования к использованию в осенне-зимний и весенне-летний периоды, учитывая неравномерность распределения объемов работ по обслуживанию. В период массовой проверки при больших объемах работ, как правило, привлекаются специализированные организации.
Текущий ремонт осуществляют в электроремонтных цехах, в мастерских колхозов и совхозов, а также на пунктах технического обслуживания животноводческих комплексов, станциях технического обслуживания оборудования животноводческих ферм, в инженерно-технических комплексах, в ремонто-эксплуатационных пунктах либо на месте установки электрооборудования. Текущий ремонт выполняется в плановом порядке по утвержденным графикам за счет и по смете эксплуатационных расходов.
Капитальный ремонт, как наиболее сложный, должен проводиться на специализированных электроремонтных предприятиях Минэнерго и Минэлектротехпрома.
Сельскому электрику необходимо эксплуатировать воздушные линии 0,4 кВ (BЛ 0,4 кВ), выполненные на типовых железобетонных и деревянных опорах, кабельные линии 0,4 кВ (KЛ 0,4 кВ), проложенные в земле, а также распределительные устройства напряжением до 1 кВ (РУ 0,4 кВ) трансформаторных подстанций 10/0,4 кВ, если они не переданы на баланс организаций Минэнерго, которые в этом случае их и обслуживают.
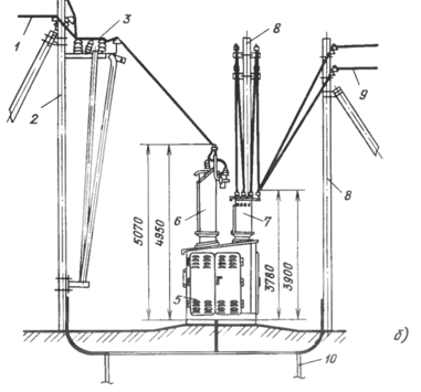
Рис. 1. Установка комплектных трансформаторных подстанций тупикового типа напряжением 10/0,4, кВ: а – КТП мощностью 25–160 кВ • А; б – КТПП мощностью 160–400 кВ – А; 1 – ВЛ 10 кВ; 2 – концевая опора 10 кВ; 3 – разъединитель; 4 – КТП; 5 – КТПП; 6 – портал ввода высокого напряжения; 7 – портал ввода низкого напряжения; 8 – опора 0,4 кВ; 9 – В Л 0,4 кВ; 10 – заземляющее устройство ниже 40°С и в других случаях, связанных с опасностью повреждений линии
РУ 0,4 кВ содержат панельные и шкафные щиты с рубильниками, предохранителями, автоматическими выключателями и измерительными приборами. Простейшая распространенная конструкция установки комплектной трансформаторной подстанции КТП-10/0,4 кВ показана на рис. 1. Подстанция устанавливается на специальном металлическом или железобетонном основании в зависимости от конструкций. Рядом с ней устанавливаются концевые опоры воздушных линий, а в траншее монтируется заземляющее устройство, к которому присоединяются трансформатор подстанции, распределительные устройства 10 и 0,4 кВ, металлические элементы опор и разъединителей, а также нулевой провод электросети низкого напряжения. На рис. 1 указаны также общие габаритные размеры подстанций и другие размеры, необходимые для установки остальных элементов.
Техническое обслуживание (осмотры) электрических сетей проводят, как правило, без отключения напряжения. При этом проверяют состояние трассы, убирают посторонние предметы, проверяют ее противопожарное состояние. Осматривают состояние проводов, чтобы не было обрывов, оправлений отдельных проволок или вспучивания верхнего повива проводов («фонарей»). Иней, подтаявший на месте соединения проводов, указывает на их нагрев – за такими местами необходимо тщательно следить. Ночью можно заметить свечение неисправных соединений или искрение по поверхности неисправных изоляторов. Необходимо убедиться в отсутствии на них сколов и ожогов, в нормальном положении на крюках. Далее проверяют провисание проводов, состояние разрядников, заземляющих спусков, прочность вязки бандажей. Внеплановые осмотры осуществляют после грозы, сильного ветра или обильного снегопада, при транспортировке вблизи линии непредусмотренных крупногабаритных грузов и механизмов, во время ледохода, половодья, пожаров вблизи линии, при гололеде или морозе ВКЛ 0,4 кВ требуется наблюдать за состоянием кабельных трасс, за состоянием выходов на стены и опоры, в проходы через стены, состоянием кабельных муфт, контролировать нагрузку, параметры окружающей среды при прохождении в воздухе, подключения и т.д.
РУ 0,4 кВ нуждаются в периодической очистке от пыли и грязи. Особое внимание уделяется контактным соединениям. Техническое обслуживание отдельных электроаппаратов, входящих в РУ 0,4 кВ, рассмотрено ниже. Во время осмотра подстанции обращается внимание на характер гудения трансформатора, отсутствие подтекания и выброса масла. Проверяется наличие предупредительных надписей и знаков, противопожарного инвентаря, целостность ограждений, замков и лестниц. Контактные соединения со следами перегрева или окисления разбирают, очищают, если нужно, смазывают и собирают вновь. Два раза в год, весной и осенью, окрашенные металлические поверхности шкафов и конструкций подстанции очищают от ржавчины и вновь окрашивают для защиты от коррозии. В процессе обслуживания и ремонта производятся установленные измерения и испытания, проверка вторичных цепей коммутации и световой сигнализации.
Все работы на токоведущих частях электроустановок или вблизи них выполняются в соответствии с правилами техники безопасности после выполнения организационных и технических мероприятий, обеспечивающих их безопасность.
Заземляющие устройства (ЗУ) занимают важное место в комплексе технических средств охраны труда и нормального функционирования электроустановок. Они обеспечивают электробезопасность людей и животных, надежность работы электрооборудования, молниезащиту линий электропередачи, трансформаторных подстанций, зданий и сооружений.
Заземляющие устройства представляют собой совокупность заземлителей и заземляющих проводников. К искусственным заземлителям относят специально закладываемые в землю, к естественным – находящиеся в земле и используемые для целей заземления. Заземляющие проводники предназначены для присоединения заземляемых элементов к заземлителям. Эти проводники выделяются из других, как специально предназначенные для заземления, кроме случаев, специально оговоренных в строительных нормах и правилах. Например, в качестве проводников могут быть использованы металлические конструкции зданий, арматура железобетонных строительных конструкций и фундаментов, металлические конструкции производственно-технологического назначения, стальные трубы электропроводок, алюминиевые оболочки кабелей, металлические кожухи, короба и лотки электропроводок, металлические стационарно проложенные трубопроводы любого назначения, кроме трубопроводов с горючими и взрывоопасными веществами, смесями и газами, а также канализации и отопления зданий и сооружений. Не допускается использовать в качестве заземляющих проводников несущие тросы тросовой электропроводки, металлические оболочки трубчатых проводов, металлорукава, броню и свинцовую оболочку кабелей. Заземлители, как правило, выполняют из металлических вертикальных электродов диаметром не менее 10 мм, соединенных между собой горизонтальным заземлителем из того же металла либо стальной полосой толщиной не менее 4 мм. Размеры ЗУ определяются из условия необходимого сопротивления току промышленной частоты по соответствующим расчетным формулам. Однако их можно быстро рассчитать так, как это описано в гл. 4. В отдельных случаях допускается использовать в качестве дополнительных заземлителей свинцовые оболочки кабелей, если их проложено не менее двух, причем заземлителями они становятся лишь через некоторое время после постепенного разрушения их джутовой оплетки. В ЗУ следует проверять надежность контактных соединений, ремонтировать поврежденные, производить периодические измерения сопротивлений. В тщательном уходе нуждаются заземляющие проводники и их присоединения к заземляемым элементам, болтовые соединения.
2. Расчетная часть
2.1 Исходные данные для расчета
Перечень электрооборудования
| Шифр ЭО | Наименование и техническая характеристика ЭО | Ед. изм. | Кол-во | Среда | Раб. часов | Коэф. сез-ти |
| A | Шкаф силовой | шт. | 4 | 4 | 24 | 1 |
| B | Щит осветительный на 6 групп | шт | 4 | 4 | 24 | 1 |
| C | Пускатель магнитный до 25 А | шт | 5 | 4 | 6 | 1 |
| K | Светильники с лампами накаливания | шт | 60 | 4 | 6 | 1 |
| N | Провод АПВ 2,5 мм2 | м | 430 | 4 | 24 | 1 |
| O | Кабель АВРГ – 4 х2,5мм2 | м | 1190 | 4 | 24 | 1 |
| Электродвигатели АИР, 3/1000 | шт | 2 | 4 | 6 | 1 | |
| Электродвигатели АИР, 5,5/1000 | шт | 4 | 4 | 6 | 1 | |
| Электродвигатели АИР, 11/1000 | шт | 2 | 4 | 6 | 1 |
2.2 Расчет годовой производственной программы
2.2.1 Расчет объема работ по обслуживанию электрооборудования
Характеристики
Тип файла документ
Документы такого типа открываются такими программами, как Microsoft Office Word на компьютерах Windows, Apple Pages на компьютерах Mac, Open Office - бесплатная альтернатива на различных платформах, в том числе Linux. Наиболее простым и современным решением будут Google документы, так как открываются онлайн без скачивания прямо в браузере на любой платформе. Существуют российские качественные аналоги, например от Яндекса.
Будьте внимательны на мобильных устройствах, так как там используются упрощённый функционал даже в официальном приложении от Microsoft, поэтому для просмотра скачивайте PDF-версию. А если нужно редактировать файл, то используйте оригинальный файл.
Файлы такого типа обычно разбиты на страницы, а текст может быть форматированным (жирный, курсив, выбор шрифта, таблицы и т.п.), а также в него можно добавлять изображения. Формат идеально подходит для рефератов, докладов и РПЗ курсовых проектов, которые необходимо распечатать. Кстати перед печатью также сохраняйте файл в PDF, так как принтер может начудить со шрифтами.















