125416 (690533)
Текст из файла
Министерство образования Республики Беларусь
УО «Могилевский государственный университет продовольствия»
Заочный факультет
Кафедра «Теплохладотехники»
Курсовой проект
На тему: «Рассчитать установку для сушки яблок»
Могилев, 2010 г.
Содержание
Введение
1 Состояние вопроса
2 Технические описания и расчёты
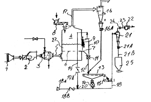
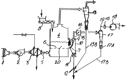
2.1 Описание принципа работы технологической схемы
2.2 Описание принципа работы проектируемого аппарата
2.3 Материальный расчет установки
2.4 Тепловой расчёт установки
2.5 Конструктивный расчёт барабанной сушилки
2.6 Расчёт и подбор комплектующего оборудования
2.6.1 Расчёт и подбор калориферов
2.6.2 Расчёт циклона СКЦН-34
2.7. Гидравлический расчёт линии воздуха и подбор вентилятора
Заключение
Список использованных источников
Введение.
Процессы сушки широко применяются в промышленности и сельском хозяйстве. Объектами сушки могут быть разнообразные материалы на различных стадиях их переработки (сырьё, полуфабрикаты, готовые изделия).
Сушкой называется процесс удаления из материала любой жидкости, в результате чего в нём увеличивается относительное содержание сухой части. На практике при сушке влажных материалов, в том числе пищевых продуктов, удаляют главным образом воду, поэтому под сушкой понимают процесс обезвоживания материалов.
Материалы сушатся с различной целью: для уменьшения массы (это удешевляет их транспортировку), увеличения прочности (керамические изделия, древесина), повышения теплоты сгорания (топливо), повышения стойкости при хранении и для консервирования (зерно, пищевые продукты, биопрепараты).
Большинство пищевых продуктов являются влажными телами, содержащими значительное количество воды. Вода входит в состав растительных и животных тканей и являются необходимой составной частью пищи человека. Однако избыток воды снижает питательную ценность пищевых продуктов, значительно удорожает их транспортировку и может вызвать порчу продуктов вследствие жизнедеятельности различных микроорганизмов в водной среде. Поэтому большинство пищевых продуктов подвергают сушке, в процессе которой их влажность значительно снижается.
Процесс тепловой сушки пищевых продуктов заключается в переводе влаги, находящейся в них, в парообразное состояние и удаление образующегося пара во внешнюю, окружающую продукты, среду.
По способу подвода теплоты к материалу различают сушилки конвективные, контактные (сушка на горячих поверхностях), с лучистым нагревом (терморадиационные), с нагревом токами высокой частоты, акустические. Наиболее широко в пищевой промышленности применяются конвективные сушильные установки, в которых сушильным агентом является нагретый воздух или смесь его с топочными газами. Продукты, используемые для питания человека, высушиваются воздухом.
Основные элементы установки - сушильная камера, где происходит собственно сушка, калорифер, в котором воздух нагревается перед поступлением в сушильную камеру, и вентилятор, обеспечивающий принудительную циркуляцию воздуха.
Широко используются в промышленности сушильные установки с возвратом (рециркуляцией) части отработанного воздуха, в этом случае свежий воздух смешивается с частью отработанного воздуха, поступающего из сушильной камеры, образуя смесь. Смесь вентилятором подается в калорифер, подогревается и направляется затем в сушильную камеру. Сушильные установки бывают с дополнительным подогревом воздуха непосредственно в сушильной камере и с промежуточным подогревом воздуха в калориферах, установленных в отдельных ее зонах. Сушка в этих установках протекает при более низкой и равномерной температуре воздуха в камере.
1 Состояние вопроса
В зависимости от свойств продукта подбирают способ подвода тепловой энергии (конвективный, контактный, радиационный и др.), а также давление внешней среды (атмосферное или вакуум). Широкое распространение находит как контактная, так и конвективная сушка с механическим перемешиванием и перемещением материала.
Часто используются барабанные сушилки, в работе и конструкции которых достигнут значительный прогресс. Например, для сушки и охлаждения сахара используется однобарабанная сушильная установка вместо ранее применявшейся двухбарабанной.
Большое распространение получили различные конструкции пневматических сушилок (трубы-сушилки, аэрофонтанные, которые нашли применение, например, в крахмальной промышленности и при сушке зерна). Хотя эти сушилки позволяют использовать сушильный агент высокой температуры, их недостатками являются большая высота установки и малое время пребывания частиц в сушилке. Поэтому они используются для сушки кристаллических продуктов, содержащих в основном легко удаляемую поверхностную влагу.
Модификацией пневматической сушилки, позволяющей уменьшить высоту, является сушилка с двойными, коаксиальными трубами. Подъем горячей аэросмеси в такой сушилке происходит по внутренней, а опускание – по внешней трубе.
Получил широкое применение метод сушки сыпучих материалов в кипящем слое, пригодный для высушивания материалов, содержащих связанную влагу. Установки с кипящим слоем просты в конструктивном оформлении, в эксплуатации, легко могут быть автоматизированы, в них можно совмещать процессы сушки и сепарации. Стоимость сушилки кипящего слоя низка по сравнению со стоимостью барабанных и ленточных конвейерных сушилок, а увеличенный расход энергии (по сравнению с барабанными сушилками) окупается ее преимуществами.
Интенсивное перемешивание в кипящем слое обуславливает высокий теплообмен и массообмен, высокую скорость и качество сушки. Процесс может быть осуществлен как по периодической, так и по непрерывной схеме.
Сушилки с псевдоожиженным слоем прямоугольного сечения позволяют получать более равномерное, чем у круглых сушилок, распределение времени пребывания продукта в сушильной камере и применяются для сушки продуктов, которые нельзя долго подвергать действию высокой температуры. Перед выгрузкой продукт продувается холодным воздухом.
Наряду с сушилка аэрокипящего слоя используются вибрационные сушилки. Виброкипящий слой создается как за счет аэродинамических свойств агента, так и воздействием на материал вибрационных колебаний. Он пригоден для сушки различных дисперсных материалов, в том числе для мелкодисперсных и слипающихся. Виброкипящий слой имеет преимущества перед аэрокипящим. В нем может создаваться во всем объеме перекрестный ток и противоток, что в аэрокипящем слое затруднительно интенсивной циркуляцией частиц.
Патентный поиск
РЖ ИСМ 77-11-95
(19) Япония (Jp) (12) В4 (11) 5-45874
(51) 5F26B17/10,25/00,F27B15/09
(65) 63-13198 (43) 880603 (40) 930712№5-1147
(21) 61-277567 (22) 861120
(54) Сушильная установка с кипящим слоем (рисунок 1)
(57) Установка содержит печь 4 с кипящим слоем, внутри которой размещена газораспределительная пластина 6, а с боковой стороны сформировано окно 7 для выгрузки изделий. В печь из воздухопровода 5 вводится поток горячего воздуха и из питателя подаются исходные изделия. Из печи в циклон 13 через выпускной патрубок 14 вместе с отходящими газами выгружаются малыми порциями обработанные изделия. Установка отличается тем, что отдельно от циклона 13 установлен вспомогательный циклон 17, соединенный с окном 7 посредством вспомогательной трубы 15 с заслонкой 16.
Переводчик С.Н. Смирнов
Рисунок 1
(19) Япония (Jp) (12) В4 (11) 5-45875
(51) 5F26B17/10,25/00,F27B15/09
(65) 63-13198 (43) 880603 (40) 930712№5-1147
(21) 61-277568 (22) 861120
(54) Сушильная установка с кипящим слоем (рисунок 2)
(57) Установка содержит печь 4 с кипящим слоем, внутри которой размещена газораспределительная пластина 6, а с боковой стороны сформировано окно 7 для выгрузки изделий. В печь из воздухопровода 5 вводится поток горячего воздуха и из питателя подаются исходные изделия. Из печи в циклон 13 через выпускной патрубок 14 вместе с отходящими газами выгружаются малыми порциями обработанные изделия. Изделия, выгруженные из циклона 13, подаются в пневматическую транспортировочную трубу 18 и по ней – в циклон 21, установленный отдельно от циклона 16.Установка отличается тем, что окно 7 и средняя точка трубы 18 соединены между собой посредством байпасной трубы 19 с заслонкой 19А. Внутри трубы 18 между точкой присоединения трубы 19 и отверстием для выпуска воздуха установлен клапан 18В для регулирования расхода воздуха.
Переводчик С.Н. Смирнов.
Рисунок 2
(19) США (US) (12) А (11) 5294095
(51) 5F26B17/00
(52) 266-87
(40) 940315 Том 1160 №3
(54) Сушилка псевдоожиженного слоя с погруженными в слой инфракрасными лампами
(57) Сушилка содержит устройство, образующее некоторый объем для размещения слоя псевдоожиженных частиц заданной высоты. В названном объеме размещен слой псевдоожиженных частиц заданной высоты, в которой погружены инфракрасные лампы, направляющие излучение на окружающие их часы. Лампы разделены на несколько самостоятельно регулируемых зон, работающих независимо одна от другой, что позволяет изменить интенсивность ламп в различных зонах.
Переводчик Е.М. Нечуятова.
Барабанная сушильно-охладительная установка СБУ-1 предназначена для сушки и охлаждения сахара-песка.
Установка СБУ-1 (рис. 3) состоит из вращающегося барабана 8, опорно-приводной станции, в которую входит электродвигатель 18 и редуктор 20, установленные на раме 19, загрузочной головки 1 двух неподвижных кожухов 10, трубы с дефлектором 17 для отсоса обработавшего горячего воздуха.
Барабан 8 представляет собой стальной перфорированный цилиндр длиной около 10м, наклоненный в сторону движения сахара. В передней части барабана имеется распределительная царга 2 длиной 550 мм, внутри которой вварено десять лопаток 24, расположенных под углом 45° к образующей. Царга 2 обеспечивает равномерное распределение сахара, поступающего из загрузочной головки 1с помощью турникета 25. К торцу распределительного устройства по периметру крепится 24 секции фигурных лопаток (8 – по окружности, 3 – в длину).
Для увеличения жесткости секций и предотвращения прохода воздуха вдоль секции между фигурными лопатками ставят поперечные перегородки. Конфигурация лопаток обеспечивает возможность прохождения воздуха внутрь корпуса и в то же время не дает сахару просыпаться наружу. В конце барабана на фланце крепится ситовая часть 9 корпуса, предназначенная для отделения комков сахара.
На центральную часть перфорированного барабана надевают кожух 10, состоящий из крышки 4 и днища 5. По краям кожуха в специальных обоймах крепят кольцевые уплотнения из прямоугольного резинового шнура, препятствующие выходу воздуха в атмосферу. Кроме того, с двух сторон барабана имеются продольные уплотнения, обеспечивающие подачу воздуха только к сахару в барабане. На кожухе имеются четыре патрубка 3 для ввода горячего и холодного воздуха. На концевую часть барабана также ставят неподвижный кожух, имеющий сбоку патрубок для подачи холодного воздуха и на торцевой стенке – патрубок 14 для отсоса отработавшего воздуха. На той же торцевой стенке крепят трубу 17, проходящую через барабан до зоны горячего воздуха. Труба служит для отсоса воздуха. В нижней части кожуха имеются желоб 11 и турникет 15 для сухого охлажденного сахара-песка и желоб 12 и турникет 13 для вывода комков. Сушильный барабан приводится в движение через бандажи 6, установленные на металлоконструкциях 16, 23 и фрикционных роликах 22, вращающихся с помощью валов 21.
Сахар, загружаемый в аппарат через загрузочную головку и царгу, равномерно распределяется по фигурным элементам внутренней поверхности барабана и располагается сегментом, образуемым углом естественного откоса. Именно эта зона отделена продольными уплотнениями, обеспечивающими подачу воздуха только через слой сахара. Кроме интенсификации процессов влаго- и теплообмена, такой метод подачи воздуха способствует образованию псевдоожиженного слоя, поддерживая кристаллы сахара в полувзвешенном состоянии, что предохраняет их от истирания.
Горячий воздух подается через первые два патрубка (по ходу сахара), холодный – через два последних. Средний патрубок может быть использован или для горячего, или для холодного воздуха, что соответственно меняет длину сушильной или охладительной зоны.
Характеристики
Тип файла документ
Документы такого типа открываются такими программами, как Microsoft Office Word на компьютерах Windows, Apple Pages на компьютерах Mac, Open Office - бесплатная альтернатива на различных платформах, в том числе Linux. Наиболее простым и современным решением будут Google документы, так как открываются онлайн без скачивания прямо в браузере на любой платформе. Существуют российские качественные аналоги, например от Яндекса.
Будьте внимательны на мобильных устройствах, так как там используются упрощённый функционал даже в официальном приложении от Microsoft, поэтому для просмотра скачивайте PDF-версию. А если нужно редактировать файл, то используйте оригинальный файл.
Файлы такого типа обычно разбиты на страницы, а текст может быть форматированным (жирный, курсив, выбор шрифта, таблицы и т.п.), а также в него можно добавлять изображения. Формат идеально подходит для рефератов, докладов и РПЗ курсовых проектов, которые необходимо распечатать. Кстати перед печатью также сохраняйте файл в PDF, так как принтер может начудить со шрифтами.














