124560 (690069), страница 3
Текст из файла (страница 3)
(1.3)
Суммарное значение пространственных отклонений для заготовки определяем по формуле:
(1.6)
где ρр – отклонение расположения отверстия относительно технологических баз;
ρП – перекос отверстия на 1 мм диаметра.
Остаточные пространственные отклонения после чернового и чистового растачивания определяем по формуле:
(1.7)
где ky – коэффициент уточнения: для чернового растачивания – ky = 0,06; для получистового растачивания – ky = 0,05; для протягивания – ky =0,04;
На основании записных данных в таблице производим расчет минимальных значений межоперационных припусков:
Минимальный припуск под растачивание:
-
черновое:
-
получистовое:
-
чистовое:
-
тонкое:
Определяем расчетный размер dр по переходам, начиная с конечного:
Назначаем допуски для заготовки и для каждого перехода:
ТЗАГ = 840 мкм;
Т1 = 520 мкм;
Т2 = 210 мкм;
Т3 = 84 мкм;
Т4 = 52 мкм;
Определяем предельные размеры :
Определим предельные значения припусков:
На основании данных расчета строим схему графического расположения припусков и допусков по обработке отверстия Ø30Н6 (рисунок 1.4).
Общие припуски Zomin и Zomax определяем, суммируя промежуточные припуски:
TЗ – TD = 2Zmin – 2Zmax
840 – 52 = 788 мкм
2573 – 1785 = 788 мкм
Чертим схему припусков:
Рисунок 1.4 – Схема графического расположения допусков
1.10 Разработка технологических операций
Учитывая среднесерийный тип производства, производим выбор моделей станочного оборудования. Необходимо производить выбор моделей, которые обеспечивали бы наименьшие трудовые и материальные затраты, а также себестоимость обработки заготовки. Характер производства определяет приоритет выбора в пользу полуавтоматных и универсальных станков.
Для обработки внутренних поверхностей корпуса выбираем токарный полуавтомат 16К20Т1, что позволит обработать цилиндрические поверхности детали (1, 2, 4, 5, 6, 7, 8, 9, 11) с одной установки. При обработке поверхностей 12 и 20 требуется установка на специальное токарное приспособление. Для обработки отверстий (отв. 16 и 4 отв. 3) выбираем сверлильный станок 2А125. Для обработки плоских поверхностей (пов. 13, 14, 15, 17) выбираем фрезерный станок 6Р82.
Операционный маршрут обработки детали “Корпус кронштейна” – 9019.10.01.118 представлен в комплекте технологической документации проекта.
1.11 Расчет режимов резания
Рассчитаем режимы резания по эмпирическим формулам для операции 005 (токарная). Принимаем припуски по таблицам припусков по справочнику Балабанова (с. 194-195). Коэффициент Cv, подачи (с согласованием с подачами станка) и стойкость инструмента принимаем по таблицам [2, с.265-284].
Мощность выбранного станка по паспорту 10 кВт.
Условие применяемости станка: N ≤ Nст.
Находим поправочный коэффициент Kр:
Kр = Kφр * Kγр * Kλр * Krр * Kmp = 0.89*1*1*0.93*
= 0.766
где Kφр, Kγр, Kλр, Krр – коэффициенты, учитывающие геометрию режущего инструмента (резца) [7, с. 275];
Kmp – коэффициент, учитывающий влияние качества обрабатываемого материала на силовые зависимости [7, с. 264];
Обработка отверстия Ø30 мм:
Режимы резания для перехода 1:
Тогда действительная скорость резания будет равна:
Находим силу резания Pz (x = 1, y = 0.75, n = 0):
Pz = 10*Ср*tX*SY*Vn*Kp = 10*92*2*0,70,75*1*0.766=1078.6 H
Мощность резания будет равна:
Режимы резания для перехода 2:
Тогда действительная скорость резания будет равна:
Находим силу резания Pz:
Pz = 10*Ср*tX*SY*Vn*Kp = 10*92*1,1*0,50,75*1*0.766= 4609 H
Мощность резания будет равна:
Режимы резания для перехода 3:
Тогда действительная скорость резания будет равна:
Находим силу резания Pz:
Pz = 10*Ср*tX*SY*Vn*Kp = 10*92*0,4*0,50,75*1*0.766= 167,6 H
Мощность резания будет равна:
Режимы резания для перехода 4:
Тогда действительная скорость резания будет равна:
Находим силу резания Pz:
Pz = 10*Ср*tX*SY*Vn*Kp = 10*92*0,2*0,50,75*1*0.766= 83,8 H
Мощность резания будет равна:
Режимы резания для перехода 5:
Тогда действительная скорость резания будет равна:
Находим силу резания Pz:
Pz = 10*Ср*tX*SY*Vn*Kp = 10*92*0,11*0,320,75*1*0.766= 33 H
Мощность резания будет равна:
Обработка отверстия с резьбой М76х2:
Режимы резания для перехода 1:
Тогда действительная скорость резания будет равна:
Находим силу резания Pz:
Pz = 10*Ср*tX*SY*Vn*Kp = 10*92*2,5*1,20,75*1*0.766= 2020 H
Мощность резания будет равна:
Режимы резания для перехода 2:
Тогда действительная скорость резания будет равна:
Находим силу резания Pz:
Pz = 10*Ср*tX*SY*Vn*Kp = 10*92*1,7*1,20,75*1*0.766= 1373,5 H
Мощность резания будет равна:
Режимы резания для перехода 3:
Тогда действительная скорость резания будет равна:
Находим силу резания Pz:
Pz = 10*Ср*tX*SY*Vn*Kp = 10*92*2*0,80,75*1*0.766= 1192,2 H
Мощность резания будет равна:
Режимы резания для перехода 4:
Тогда действительная скорость резания будет равна:
Находим силу резания Pz:
Pz = 10*Ср*tX*SY*Vn*Kp = 10*92*0,2*0,10,75*1*0.766 = 250,6 H
Мощность резания будет равна:
Режимы резания на остальные операции назначены по нормативам и представлены в комплекте технологической документации.
1.12 Нормирование операций
Произведем нормирование операции 005 – токарная. Обрабатывается поверхность диаметром 67 мм, длина обработки составляет 23 мм, для второй поверхности: диаметр Ø22. Деталь обрабатывается в трёхкулачковом самоцентрирующемся патроне..
Штучное время обработки детали определим по формуле:
ТШТ = То + Тв + Тобсл + ТОТ (1.10)
где То – основное технологическое время на выполнение операции, мин.
Тв – вспомогательное время, мин.
Тобсл – время обслуживания рабочего места, мин
ТОТ – время на отдых станочника, мин.
Основное время рассчитываем по формуле (1.11):
(1.11)
где l – длина обрабатываемой поверхности, мм;
(l1 + l2) – длина врезания и перебега, мм;
SМИН – минутная подача стола станка, мм/мин;
Вспомогательное время определяется по формуле (1.12):
Тв = ТУС+Тзо+ТУП+ТИЗМ = 0,5+ 0,35+
+(0,02 + 0,05+0,67)+1,62 = 3,21 мин (1.12)
где ТУС – время на установку и снятие детали вручную; ТУС = 0,5 мин [6, стр.200].
Тзо – время на закрепление и открепление детали пневматическими зажимами; Тзо=0,35 мин [6, стр.201].
ТУП – время на управление станком; ТУП = (0,02 + 0,05 + 0,67) мин [6, стр.202].
ТИЗМ – время на измерение детали; ТИЗМ = 0,18*9 = 1,62 мин [6, стр.209].
Сумма времени обслуживания рабочего места и времени на отдых определяется по формуле (1.13):
Тобсл + ТОТ = (То + Тв)·0,1 =(2,473+3,21)* (0,1 + 0,07) =
= 0,966 мин (1.13)
где (0,07 + 0,1) – коэффициенты, учитывающий процент времени на обслуживание рабочего места и отдых.
Подставляя поученные значения в формулу (1.10), получим значение штучного времени для вертикально-фрезерной операции:
ТШТ = 2,473 + 0,822 + 0,56 = 3,855 мин
2 КОНСТРУКТОРСКАЯ ЧАСТЬ
2.1 Проектирование сверлильного приспособления
2.1.1 Разработка схемы приспособления
Исходными данными для проектирования фрезерного приспособления на операцию 020 являются:
-
операция выполняется на токарном полуавтомате модели 16К20Т1;
-
операция состоит из двух переходов, включая переход установки детали;
-
схема базирования заготовки на операции представлена на рис. 2.1
Рисунок 2.1 – Теоретическая схема базирования.
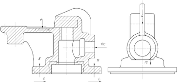
Зажим заготовки осуществляется двумя зажимами через рычажный механизм при помощи пневматического привода.
2.1.2 Расчет силы закрепления
Для определения параметров зажимного механизма рассчитаем силы резани. При точении основной составляющей силы резания является окружная сила Рz.
Для определения необходимого усилия зажима необходимо рассчитать все силы резания и выбрать наибольшие осевые силы РХ и моменты резания Мрез. [2, Т2]. Стоит упомянуть, что усилия резания являются постоянными.
Схема действия сил на заготовку
Рисунок 2.2 – Схема действия сил на заготовку.
-
Растачивание черновое
Pz = 10Ср*tx*Sy*Vn *Kp = 10 * 92*0.8*0.780.75 *0,89 = 610 Н
Рх1 = 10Ср*tx*Sy*Kp = 10*46*0,80,9*0,780,4 *0,89 = 411 Н
2) Растачивание чистовое
Рх2 = 10Ср*tx*Sy*Vn *Kp = 10*46*0.8*0.89*0,75*0,89= 274 Н
3) Растачивание фаски
Рх3 = 10Ср*tx*Sy*Vn *Kp = 10*46*1,51*0,750,4*0,75*0,89= 340 Н















