124560 (690069), страница 2
Текст из файла (страница 2)
Ким = mз/mд = 4,2/4,8= 0,875 (1.1)
Рассчитаем массу заготовки получаемой методом литья в кокиль (1) и под давлением (2). Для этого разбиваем заготовку на элементарные объемы и с учетом известной плотности чугуна находим массу всей заготовки.
Mi = ∑[(Dзi-Dдi)*hi]/(π/4)*ρ*10-9+mд
Рассчитаем массу заготовки получаемой методом литья под давлением:
Определим коэффициент использования материала:
Ким = mд / mз = 4.2/4.341= 0.97
Определим себестоимость получения такой заготовки для каждого из вариантов по формуле (1.2):
(1.2)
где СБ.Ц – базовая цена одной тонны литья, изготовленного из базового материала; СБ.Ц = 3000 грн.
KTO – коэффициент точности размеров; kTO = 1,64 для класса точности 5 (кокиль) и kTO = 1,88 для класса точности 3 (под давлением) [4, табл. К.9, стр. 213].
KСO – коэффициент конструктивной и технологической сложности отливки; kСO = 1,7 для отливок второй группы сложности [4, табл. К.10 стр. 213]
kМ – коэффициент марки материла; kМ = 1,0 – серых чугунов [4, табл. К.11 стр. 213].
KПМО – коэффициент, зависящий от группы серийности; kПМО = 1,13 – для 7 группы серийности и массы менее 160 кг [4, табл. К.12, К.13 стр. 213, 214].
СОТХ – цена одной тонны отходов; СОТХ = 300 грн.
Рассчитаем себестоимость заготовки, получаемой литьем в кокиль:
Для литья под давлением получаем:
Коэффициент использования материала и при методе литья под давлением несколько выше, чем при литье в кокиль. Себестоимость литья под давлением оказалась выше, чем при литье в кокиль, поэтому при данной программе выпуска и условиях производства наиболее целесообразно использовать литье в кокиль.
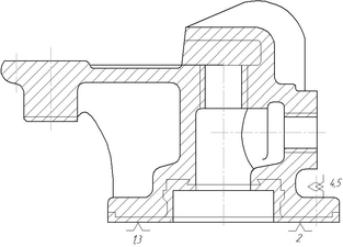
1.7 Обоснование выбора технологических баз и последовательности обработки
Деталь “Корпус кронштейна” имеет комплект основных конструкторских баз и один комплект исполнительных поверхностей. Следовательно, данная деталь относится к деталям второй группы. Для деталей данной группы выбор технологических баз осуществляется в два этапа. На первом этапе выбираем технологические базы для выполнения большинства операций технологического процесса. При этом в качестве баз должны быть выбраны поверхности или сочетания поверхностей, относительно которых задано большинство технических требований. В результате анализа технических требований выявлено, что такой поверхностью является свободная поверхность 18, вследствие малой длины поверхности 19 наиболее целесообразно будет использовать в качестве технологической базы комплект из поверхностей 18 и 19.
На втором этапе выбираем поверхности или сочетание поверхностей, которые будут использованы в качестве технологических баз при подготовке баз для операций фрезерования, сверления и нарезания резьбы. На следующих переходах производим обработку основных баз, используя в качестве технологических баз ранее обработанные.
Комплект баз для первой операции точения: двойная направляющая, опорная, опорная.
Комплект баз для остальных операций: установочная, направляющая, опорная. Теоретические схемы базирования представлены далее.
Рисунок 1.3 – Теоретическая схема базирования детали на операции точения 005.
Рисунок 1.4 – Теоретическая схема базирования детали на операциях фрезерования 010, сверления 015 и точения 020.
1.8 Маршруты обработки поверхностей
Данный этап работы выполняем в виде таблицы 1.6
Заготовка IT14, Rа = 40 мкм.
Таблица 1.6 – Методы обработки поверхностей
| № пов-ти | Точность поверхности | Маршрут обработки поверхностей | Достигаемые технические требования | Припуск на переход | Технологи-ческий размер | ||
| IT | Rа | IT | Rа | ||||
| 1 | 2 | 3 | 4 | 5 | 6 | 7 | 8 |
| 1 | 10 | 10 | Точение черновое Точение получистовое Точение чистовое | 14 12 10 | 40 20 10 | 3,5 0,5 0,25 | Ø 148,5-0,16 |
| 2 | 10 | 10 | Точение черновое Точение получистовое Точение чистовое | 14 12 10 | 40 20 10 | 1,3 0,45 0,25 | 8 -0,048 |
| 4 | 10 | 10 | Растачивание черновое Растачивание чистовое Нарезание резьбы | 13 11 10 | 40 20 10 | 2,5 1,7 1,0 | Ø 66,8+0,30 |
| 11 | 8 | 2,5 | Растачивание предварительное Растачивание черновое Растачивание получистовое Растачивание чистовое | 14 12 10 9 | 40 20 10 2,5 | 2,0 1,1 0,4 0,11 | Ø 22,28 +0,13 |
| 12 | 10 | 10 | Растачивание черновое Растачивание чистовое Нарезание резьбы | 13 11 10 | 40 20 10 | 3,0 1,1 0,52 | Ø 30,76+0,13 |
| 15 | 12 | 20 | Фрезерование черновое Фрезерование чистовое | 14 12 | 40 20 | 0,8 0,2 | 34+ 0,25 |
| 17 | 14 | 40 | Фрезерование черновое | 14 | 40 | 0,8 | Ø 36,6 -0,25 |
1.9 Аналитический расчет припуска
Расчет припусков аналитическим методом производим для отверстия Ø30Н6. Заготовка представляет собой отливку 3-го класса точности, массой 4.65 кг. Технологический маршрут обработки отверстия Ø30Н6 состоит из пяти переходов: чернового и чистового растачивания и развертывания, предварительного шлифования.
Расчет припусков на обработку отверстия Ø30Н6 приведен в таблице 1.7.
Таблица 1.7 – Расчет припусков и предельных размеров по технологическим переходам на обработку отверстия корпуса Ø30Н6
| Технологические переходы обработки поверхности Ø30h6 | Элементы припуска | Расчетный припуск 2zmin | расчетный размер dр, мм | Допуск δ, мкм | Предельный размер, мм | Предельные значение припусков, мкм | ||||||||||||||||
| Rz | h | ρ | ε | dmin | dmах |
|
| |||||||||||||||
| 1 | 2 | 3 | 4 | 5 | 6 | 7 | 8 | 9 | 10 | 11 | 12 | |||||||||||
| Заготовка | 200 | 300 | 514 | 50 | – | – | 840 | 27,375 | 28,215 | – | – | |||||||||||
| Растачивание предварительное | 25 | 25 | 31 | 50 | 2033 | 27,375 | 520 | 29,408 | 29,928 | 1713 | 2033 | |||||||||||
| – черновое | 50 | 50 | 26 | – | 252 | 29,408 | 210 | 29,66 | 29,87 | 92 | 252 | |||||||||||
| – чистовое | 20 | 20 | 21 | – | 218 | 29,66 | 84 | 29,878 | 29,962 | 58 | 218 | |||||||||||
| – тонкое | 10 | 5 | 15 | – | 122 | 29,878 | 52 | 29,948 | 30 | 38 | 70 | |||||||||||
Назначим расчетные формулы для определения припуска, обработка внутренних поверхностей вращения:
















