124480 (690028), страница 3
Текст из файла (страница 3)
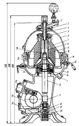
Очищенное молоко под давлением вновь поступающих порций проходит к центру и поднимается по каналам тарелкодержателя в камеру напорного диска. Неподвижный напорный диск захватывает вращающуюся жидкость и под давлением выводит ее из барабана в отводящую коммуникацию.
Давление молока, выходящего из барабана сепаратора, обеспечивает подачу его и преодоление сопротивлений в пастеризаторе без насоса. Чем дольше работает сепаратор, тем больше заполняется грязевое пространство, поэтому качество очистки с течением времени ухудшается. Практически сепаратор нормально работает 1,5-2 ч, причем этот срок зависит от степени загрязненности исходного молока.
Техническая характеристика сепаратора-молокоочистителя ОМА-3М
Производительность, л/ч - 5000
Скорость вращения барабана, об/мин - 6500
Количество тарелок, шт - 9
Угол наклона образующей тарелки, град - 55
Величина межтарелочного зазора, мм - 11
Мощность электродвигателя, кВт - 4,5
Габариты, мм - 900х680х1265
Масса с электродвигателем, кг - 420
Температура сепарирования, 0С - 40-60
Давление на выходе молока, кг/см2 - до 3
Рисунок 4
1 – манометр с мембранной приставкой; 2 – отводящая коммуникация; 3 – гайка для крепления приемно-отводящего устройства с крышкой; 4 – питающий патрубок; 5 – напорный диск; 6 – крышка сепаратора; 7 - крышка барабана; 8 – тарелкодержатель; 9 – конические тарелки; 10 – затяжное кольцо барабана; 11 – основание барабана; 12 – стопор; 13 – станина; 14 – центрируемые винтовые пружины горловой опоры; 15 – гнезда корпуса; 16 – веретено; 17 – шестерня; 18 – опорные шарики; 19 – пружина подпятника; 20 – стакан подпятника; 21 – указатель уровня масла; 22 – винтовое колесо; 23 – валик тахометра; 24 – тормоз (два); 25 – шламовое пространство; 26 – предохранительная гайка
Гомогенизатор А1-ОГМ
Гомогенизация – это раздробление (диспергирование) жировых шариков путем воздействия на молоко значительных внешних усилий. В процессе обработки уменьшаются размеры жировых шариков и скорость всплывания. Происходит перераспределение оболочечного вещества жирового шарика, стабилизируется жировая эмульсия, и гомогенизированное молоко не отстаивается.
Принцип действия клапанного гомогенизатора А1-ОГМ.
В цилиндре гомогенизатора на молоко оказывается механическое воздействие при давлении 15-20 МПа (125-175 ат). При подъеме клапана, приоткрывающего узкую щель, молоко выходит из цилиндра. Это возможно при достижении в цилиндре рабочего давления. При проходе через узкую круговую щель между седлом и клапаном, скорость молока возрастает от нулевой до величины, превышающей 100 м/с. Давление в потоке резко падает, и капля жира, попавшая в такой поток, вытягивается, а затем в результате действия сил поверхностного натяжения дробится на мелкие капельки-частицы. Во избежании слипания раздробленных частичек на выходе из клапанной щели применяют двухступенчатую гомогенизацию. На первой ступени создается давление, равное 75% рабочего, на второй ступени устанавливается рабочее давление.
Гомогенизатор представляет собой трехплунжерный насос. Каждый из трех плунжеров, совершая возвратно-поступательное движение, всасывает молоко из приемного канала, закрытого всасывающим клапаном, и нагнетает его через нагнетательный клапан в гомогенизирующую головку под давлением 15-20 МПа.
Техническая характеристика гомогенизатора А1-ОГМ
Производительность, л/ч - 5000
Рабочее давление, МПа - 15-20
Температура обрабатываемого продукта, 0С - 45-85
Число плунжеров - 3
Ход плунжеров, мм - 60
Частота вращения коленчатого вала, с-1 - 5,65
Число ступеней гомогенизатора - 2
Мощность электродвигателя, кВт - 37
Габаритные размеры, мм - 1480х1110х1640
Масса, кг - 1710
Рисунок 5
1 – электродвигатель; 2 – станина; 3 – кривошипно-шатунный механизм; 4 – плунжерный блок; 5 - манометрическая головка; 6 – гомогенизирующая головка; 7 – система смазки и охлаждения
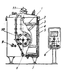
Танк Г6-ОПБ-1000 для выдерживания пастеризованного молока
В танке для выдерживания пастеризованного молока продукт нагревается через теплопередающую стенку-рубашку от поступающей в нее горячей воды или пара, пропускаемого через горячую воду.
Емкость состоит из корпуса цилиндрической формы, теплообменной рубашки, теплоизоляции и наружного кожуха. Для ее заполнения и опорожнения служит патрубок. Емкость снабжена мешалкой пропеллерного типа. С теплообменной рубашкой соединяется переливная труба и парораспределительная головка, к которой через трубопровод подается пар. Теплоноситель удаляется через патрубок в нижней части из теплообменной рубашки. Люк для осмотра и ремонта рабочей поверхности расположен в средней части. Моющее устройство, находящееся в верхней части емкости, представляет собой реактивную вертушку.
Техническая характеристика танка Г6-ОПБ-1000
Вместимость геометрическая, дм3 - 1180
Вместимость рабочая, дм3 - 1000
Мощность, кВт - 0,75
Время поддержания температуры пастеризации, мин - 3-90
Расход пара, кг/ч - 100
Расход воды для охлаждения, м3/ч - 5
Габариты ванны, мм - 1880х1410х2015
Габариты шкафа управления, мм - 540х460х650
Общая масса, кг - 625
Рисунок 6
1 – мешалка; 2 – теплоизоляция; 3 – теплообменная рубашка; 4 – внутренний корпус; 5 – наружный корпус; 6 – пульт управления; 7 – ножки; 8 – патрубок наполнения-опорожнения; 9 – пробоотборный кран; 10 – люк; 11 – привод мешалки
Шестеренный насос НРМ-2 с внутренним зацеплением
Основные рабочие органы – зубчатый ротор и ведомая шестерня, расположенная эксцентрично продольной оси насоса. Часть ее зубьев входит в зацепление с зубьями ротора. Шестерня свободно посажена на палец, снабженный втулкой.
Корпус насоса с одной стороны закреплен на кронштейне гайкой, с другой – закрыт крышкой, которая крепится к корпусу четырьмя шпильками. На внутренней стороне крышки имеется серповидный выступ для предупреждения обратного просачивания жидкости с нагнетательной стороны на всасывающую, являющийся замыкающей поверхностью переноса порций продукта. В крышке имеются пазы, в которых расположены шпильки. Пазы позволяют поворачивать крышку на определенный угол вокруг своей оси и, следовательно, изменять положение зубьев шестерни, находящихся в зацеплении с зубьями ротора, относительно входного отверстия. При этом меняется подача насоса. На крышке нанесены риски, соответствующие определенной часовой подаче насоса. Таким образом, поворот крышки позволяет регулировать подачу насоса в пределах 0,25-2,0 м3/ч. Между крышкой и корпусом помещены уплотнительные прокладки из картона толщиной 0,2 мм, с помощью которых регулируется необходимый зазор между торцом ротора и крышкой.
Отверстие для ввода жидкости расположено сбоку, для вывода – сверху, оба заканчиваются патрубками с муфтами для крепления молочных трубопроводов. В случае необходимости корпус с патрубками может быть повернут в нужное положение. При подаче жидкости в рабочую камеру через нагнетательный патрубок необходимо изменить направление вращения ротора.
Длина вала электродвигателя увеличена с помощью наконечника, который через сальниковое уплотнение входит в корпус насоса. Уплотнение сальниковой набивки осуществляется гайкой и нажимной втулкой. В качестве сальниковой набивки используют хлопчатобумажный шнур диаметром 5 мм, пропитанный животным жиром.
Принцип работы насоса
Перекачиваемый продукт самотеком поступает в рабочую камеру и заполняет впадины между зубьями ротора и шестерни. Вращаясь, зубья переносят перекачиваемый продукт вдоль серповидного выступа, а затем начинают входить в зацепление. При этом продукт вытесняется из впадин и поступает в нагнетательный патрубок.
Техническая характеристика шестеренного насоса НРМ-2
Подача, м3/ч - 0,25-2,0
Напор, МПа - 0,2
Диаметр всасывающего и нагнетательного
патрубков, мм - 36
Частота вращения ротора, с-1 - 15,5
Мощность электродвигателя, кВт - 1
Габаритные размеры, мм - 475х295х285
Масса, кг - 38
Рисунок 7
1 – прокладка; 2 – шестерня; 3 – палец; 4 – втулка; 5 – крышка; 6 – уплотнительное кольцо; 7 – гайка крепления корпуса насоса; 8 – кронштейн; 9 – гайка сальникового уплотнения; 10 – электродвигатель; 11 - нажимная втулка; 12 – сальниковое уплотнение; 13 – наконечник вала; 14 – ротор; 15 – корпус насоса; 16 – гайка крепления крышки; 17 – серповидный выступ.
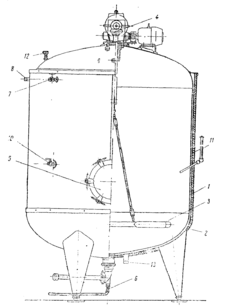
Танк двустенный ОТК-6 для сквашивания молока
Представляет собой цилиндрический резервуар из нержавеющей стали, закрытый приваренными сферическими днищами. Рабочий резервуар внутри изолирован. Он помещен в кожух (рубашку) из стали толщиной 8 мм, который служит основанием для крепления всей конструкции и арматуры танка. К днищу кожуха приварены конические опоры. Наверху рабочий резервуар соединен с кожухом при помощи фланца, а внизу – посредством системы связей.
По периметру фланца просверлены отверстия на расстоянии 30 мм. Через отверстия поступает вода, которая, омывая поверхность резервуара, охлаждает его и стекает к днищу, откуда через штуцер свободно сливается из межстенного пространства обратно в систему ледяного охлаждения.
В танке смонтирована мешалка. Ее верхние и нижние лопасти соединены между собой наклонно расположенными тягами. Мешалка установлена на упорном шарикоподшипнике, который закреплен в стакане привода, находящегося на верхнем днище рабочего резервуара; приводится в действие электродвигателем. Все элементы мешалки разъемные, что позволяет без особых затруднений осуществлять монтаж и сборку.
В нижней части цилиндра танка расположен люк диаметром 500 мм, закрываемый поворотной крышкой, которую укрепляют при помощи откидных болтов. Наличие на крышке резиновой прокладки позволяет плотно закрывать люк.
Техническая характеристика двустенного танка ОТК-6
Резервуар:
рабочая емкость, л - 6000
полная емкость, л - 6200
внутренний диаметр, мм - 1990
Наружный диаметр танка, мм - 2115
Диаметр штуцера для подводки хладагента, мм - 50
Диаметр патрубков для слива охлаждающей воды, мм - 70
Толщина теплоизоляции, мм - 32
Диаметр люка, мм - 500
Электродвигатель АО-32-4:
мощность, кВт - 1
число оборотов в минуту - 1410
Габариты, мм - 2235х2280х3100
Масса, кг - 2140
Рисунок 8
1 – стенка внутреннего резервуара; 2 – стенка кожуха; 3 – крестообразная мешалка; 4 – привод мешалки; 5 – люк; 6 – клапан для спуска готового продукта; 7 – штуцер для подачи хладагента; 8 – штуцер переливной трубы; 9 – штуцер моющего устройства; 10 – пробный кран; 11 – изоляция танка; 12 – штуцер датчика верхнего уровня; 13 – штуцер для удаления охлаждающей воды
Фасовочно-упаковочный автомат М6-ОПЗ-Е
Предназначен для фасования продуктов в пакеты из полимерных материалов. Состоит из разливочно-формовочного блока с механизмами сварки пакетов и устройства для укладки пакетов в транспортные ящики. Рабочие органы, кроме конвейера, подачи и отвода ящиков для пакетов, имеют пневмопривод, работой которого управляет командоаппарат. Конвейер имеет электромеханический привод. Разливочно-формовочный блок состоит их рулонодержателя, на котором находится рулон пленки, устройства для выравнивания и натяжения ленты пленки, печатающего устройства, рукавообразователя, механизма продольной сварки, поршневого дозатора с дозирующей трубой, механизма поперечной сварки и обрезки пакета. Поверхность пленки стерилизуют бактерицидной лампой.
Автомат осуществляет следующие операции: разматывает пленку с рулона, наносит на пленку дату и код молокозавода, проводит бактерицидную обработку пленки, формует из нее рукав, сваривает продольный и поперечный швы, наполняет пакет продуктом, отсасывает из пакета воздух, сваривает второй поперечный шов и одновременно отрезает пакет и отводит его на конвейер, который подает пакеты в ящик.
Опорой при сварке продольного шва служит формовочная труба, к которой пленка прижимается сваривающей головкой с нагревательным элементом. В нижней части трубы размещены пружинящие распорки, придающие рукаву удобную для поперечной сварки форму. Распорки предотвращают образование складок на поперечном шве.
К верхней части формовочной трубы подведена трубка от вакуумного устройства для отсасывания из пакета воздуха.
















