124480 (690028), страница 2
Текст из файла (страница 2)
Пастеризационно-охладительная установка ОПЛ-5
производительностью 5 тыс. л/час 1
В состав ОПЛ – 5 входят:
Молокоочиститель ОМА-3М производительностью 5 тыс. л/час…2
Гомогенизатор двухступенчатый А1-ОГМ с рабочим давлением
до 200 ат производительностью 5 тыс. л/час 1
Танк Г6-ОПБ-1000 для выдерживания пастеризованного молока
емкостью 1 тыс. л 1
Балансировочный бак 1
Центробежный насос для молока 36МЦ-10-20Щ 1
Бойлер 1
Насос для горячей воды 3К-9 1
Насос центробежный 36МЦ-6-12 1
Насос-дозатор НРМ-2 для подачи закваски
производительностью 250-2000 л/час .1
Смеситель для закваски с шаровым клапаном 1
Танк двустенный ОТК-6 для сквашивания молока
емкостью 6 тыс. л каждый .4
Фасовочно-упаковочный автомат М6-ОПЗ-Е 1
Данная технологическая линия производства кисломолочных напитков резервуарным способом рассчитана на производительность 12 т в сутки.
Техническая характеристика линии
Производительность л в сутки - 12000
Режим работы двухсменный
Температура пастеризации, 0С 85-90
Давление гомогенизации, 125-175
Температура заквашивания, 0С20-25
Температура охлаждения готового напитка, 0С 6
Технологическое оборудование
Танк молокохранительный В2-ОМГ-10
Емкость для хранения молока цилиндрической формы, состоит из алюминиевого корпуса и стального кожуха. Пространство между ними заполнено термоизолирующим веществом. В верхней части емкости предусмотрены смотровое окно, светильник, моечное устройство, датчик верхнего уровня и воздушный клапан. Смотровое окно и светильник предназначены для периодического осмотра внутренней полости емкости. Моечное устройство выполнено в виде двух трубчатых полудуг с отверстиями для подачи раствора. При вытекании моющего раствора из отверстий трубчатые дуги вращаются за счет возникающих реактивных сил. При этом внутренняя поверхность емкости равномерно орошается моющим раствором. Датчик верхнего уровня сигнализирует о заполнении рабочей вместимости емкости, а воздушный клапан впускает и выпускает воздух при ее опорожнении и заполнении.
В средней части емкости расположены люк, термометр, кран для отбора проб, устройство для контроля за уровнем молока и стационарная лестница для обслуживания верхней части. В нижней части имеются перемешивающее устройство, датчик нижнего уровня и опоры. Перемешивающее устройство состоит из центробежного насоса, эжектора, кранов и соединяющих из трубопроводов.
Емкость наполняется через нижний патрубок. Через этот же патрубок емкость и опорожняется при переключении трехходового крана. Окончание заполнения или опорожнения сопровождается подачей светового или звукового сигнала. При отборе проб пользуются специальным краником, а температуру молока контролируют термометром. Повышение температуры молока за 24 ч хранения в таких емкостях при разности температур окружающего воздуха и продукта, равной 24 0С, допускается не более чем на 2 0С.
Техническая характеристика молокохранительного танка В2-ОМГ-10
Рабочая вместимость, м3 - 10
Исполнение - горизонтальное
Габаритные размеры, мм - 4450х2125х2825
Установленная мощность, кВт - 0,75
Масса (без молока), кг - 2255
Рисунок 1
1 – рабочая емкость; 2 – теплоизоляция; 3 – кожух; 4 – мешалка; 5 – смотровое окно; 6 – люк; 7 – привод мешалки; 8 – ножки; 9 – сливной патрубок; 10 – термометр; 11 – наливная труба
Центробежный насос НМУ-6
Имеет корпус в виде цилиндра, закрываемого крышкой. Во внутренней полости корпуса через отверстие проходит вал с насаженной на него лопастью. Крышка уплотнена резиновым кольцом и зажимными винтами. На ней расположен по оси вала всасывающий патрубок. По касательной к цилиндру корпуса установлен нагнетательный патрубок.
При вращении вала в камере насоса молоко отбрасывается лопастью к периферии камеры и под действием центробежных сил создается давления для вывода продукта в нагнетательный патрубок и транспортирования по молокопроводу. При этом в центральной части камеры насоса образуется разрежение и туда поступает новая порция молока. Поток молок не прерывается. Возврат молока из полости нагнетания в полость всасывания между корпусом и лопастью предотвращения благодаря минимально возможным зазорам между ними.
Подводимая от электродвигателя к рабочему колесу насоса энергия затрачивается на преодоление гидравлических сопротивлений внутри самого насоса и на приращение энергии потока молока. Гидравлические сопротивления внутри насоса зависят от формы и расположения всасывающего и нагнетательного патрубков насоса, формы лопастей, зазоров между ними и корпусом, профиля клапанов и чистоты обработки их поверхностей. Приращение энергии потока молока в насосе зависит от частоты вращения рабочего колеса, размеров и формы камеры и рабочего колеса.
Техническая характеристика центробежного насоса НМУ-6
Подача, м3/ч - 6
Напор, м - 8
Диаметр патрубка, мм всасывания - 40
Нагнетания - 21; 29
Частота вращения рабочего органа, с- - 47
Мощность электродвигателя, кВт - 1,1
Габаритные размеры, мм - 390х275х200
Масса, кг - 14,8
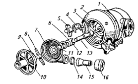
Рисунок 2
1 – защитный кожух; 2 – фланец; 3 – шпонка; 4 – зажимное устройство; 5 – гайка крепления кожуха; 6 – обойма; 7 – корпус насоса; 8 – лопасть; 9 – резиновое кольцо; 10 – крышка; 11 – торцевое уплотнение; 12 – торцевая шайба; 13 – наконечник вала; 14 – обратный клапан; 15 – патрубок; 16 – гайка крепления напорного патрубка
Автоматизированная пластинчатая пастеризационно-охладительная установка ОПЛ-5
Установка ОПЛ-5 предназначена для быстрой тонкослойной пастеризации молока в закрытом потоке с последующим охлаждением. Она работает при автоматическом регулировании технологического процесса, что исключает возможность выхода из аппарата недопастеризованного молока.
Принцип работы установки.
Сырое молоко поступает в балансировочный бак, снабженный поплавковым клапаном для поддержания постоянного уровня молока. Из бака молоко поступает в насос, который подает его в регулятор потока соответствующей производительности (5000 л/ч). Затем под напором оно входит в секцию регенерации, где прогревается пастеризованным молоком, движущимся с другой стороны пластины. Подогретое молоко из секции регенерации поступает в один из двух работающих по очереди сепараторов-молокоочистителей, где под действием центробежной силы взвешенные частицы вместе со слизью молока остаются на стенках барабана. Очищенное молоко под напором, создаваемым сепаратором (2-3 ат), подается в гомогенизатор, а из него молоко поступает в секцию регенерации теплообменника, где нагревается до заданной температуры и направляется в выдерживатель, затем возвращается в секцию регенерации теплообменника, проходит ее, отдавая тепло через стенку пластины встречному потоку молока, частично охлаждается и приходит в секцию охлаждения, где температура его снижается до заданной. При работе установки ОПЛ-5 в секцию пастеризации насосом (3К-9) подается теплоноситель – горячая вода из бойлера, обогреваемого паром. В секцию охлаждения подается хладоноситель – ледяная вода.
Контроль и регулирование технологического процесса обработки молока в установке ОПЛ-5 осуществляются автоматически. Если во время работы установки температура пастеризации снижается, то перепускной клапан автоматически возвращает недопастеризованное молоко в балансировочный бачок.
Техническая характеристика трехсекционной установки ОПЛ-5
Производительность, л/ч - 5000
Начальная температура молока, 0С - 5-10
Конечная температура молока, 0С - 85-90
Температура охлаждения, 0С - 20-25
Теплоноситель - горячая вода
Начальная температура теплоносителя, 0С - +95
Габаритные размеры, мм - 4400х4200х9500
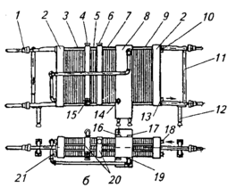
Рисунок 3
1 – пластинчатый пастеризатор; 2 – молокоочиститель ОМА-3М; 3 – балансировочный бак; 4 – центробежный насос для молока; 5 – регулятор потока; 6 – бойлер; 7 – насос для горячей воды; 8 – инжектор; 9 - гомогенизатор А1-ОГМ; 10 – выдерживатель пастеризованного молока Г6-ОПБ-1000; 11 – насос центробежный; 12 – щит управления
Пластинчатый пастеризатор
Имеет главную переднюю стойку и вспомогательную заднюю стойку, в которые закреплены концы верхней и нижней горизонтальных штанг. Верхняя предназначена для подвески теплообменных пластин. По периферии каждой пластины в специальной канавке уложена большая резиновая прокладка, герметично уплотняющая канал.
Пластины имеют отверстия с небольшими кольцевыми резиновыми прокладками. После сборки пластин в аппарате образуются две изолированные системы каналов, по которым перемещаются молоко и охлаждающая жидкость.
Пластинчатый аппарат снабжен теплообменными пластинами из нержавеющей стали, разбитыми на ряд секций. Секции отделены друг от друга специальными промежуточными плитами, имеющими по углам штуцера для подвода и отвода жидкостей. На пластине выбиты порядковые номера, те же номера указаны на схеме компоновки пластин.
Пластины прижаты к стойке с помощью плиты и прижимных устройств. Степень сжатия тепловых секций определяют по таблице со шкалой, установленной на верхней и нижней распорках. Нулевое деление устанавливают по оси болта вертикальной распорки, оно соответствуют минимальному сжатию, обеспечивающему герметичность.
В установках большой производительности пластинчатые аппараты имеют двустороннее расположение секций по отношению к главной стойке.
Техническая характеристика пластинчатого пастеризатора
Производительность, л/ч - 1000
Температура молока, 0С: на входе в аппарат - 5-10
нагрева (пастеризации) - 85-90
Время выдержки молока при температуре пастеризации, с - 25
Габаритные размеры, - 2150х900х18455
Масса установки, кг - 550
1 – зажимное устройство; 2 – нажимные плиты; 3 – первая секция рекуперации; 4 – штуцер для вывода молока из секции рекуперации (3) и подачи его к сепаратору-молокоочистителю; 5 – вторая секция рекуперации; 6 – штуцер для ввода молока в секцию рекуперации (5) после выдерживателя; 7 – секция пастеризации; 8 – главная стойка; 9 – секция водяного и рассольного охлаждения; 10 – штуцер для входа пастеризованного молока; 11 – распорка; 12 – ножка; 13 – штуцер для выхода рассола; 14 – штуцер для выхода пастеризованного молока из секции пастеризации и подачи его в выдерживатель; 15 – штуцер для входа молока в секцию рекуперации после центробежного молокоочистителя; 16 – штуцер для выхода горячей воды; 17 - штуцер для выхода холодной воды; 18 – штуцер для входа рассола; 19 – штуцер для входа пастеризованного молока в секцию водяного охлаждения; 20 – разделительные плиты; 21 – штуцер для входа сырого молока
Сепаратор-молокоочиститель ОМА-3М
Предназначен для очистки молока от посторонних примесей, микрофлоры и белковой слизи. В комплект установки ОПЛ-5 входят два молокоочистителя ОМА-3М.
ОМА-3М представляет собой тарельчатый сепаратор полузакрытого типа с ручной периодической выгрузкой осадка. Состоит из барабана, приемно-отводящего устройства и станины с механизмом привода.
Механические загрязнения удаляются путем тонкослойной сепарации в быстровращающемся барабане молокоочистителя. Молоко, подлежащее очистке, по центральной трубке поступает во внутреннюю полость тарелкодержателя. Закрытый ввод предохраняет молоко от попадания посторонней микрофлоры из окружающего воздуха. Через щель, образуемую между тарелкодержателем и основанием барабана, молоко под действием центробежной силы отбрасывается к стенкам корпуса барабана. Здесь наиболее тяжелые и крупные частицы оседают на стенке корпуса, а молоко вместе с мельчайшими частицами поступает в пакет конических тарелок. В пространстве между тарелками молоко очищается от взвешенных частиц.
















