124479 (690027), страница 2
Текст из файла (страница 2)
Механизированное производство карамели отличается высокой интенсивностью процессов. При формовании карамели производительность достигает 1800…2200 изделий в минуту. Такие условия производства предъявляют высокие требования в точности геометрических размеров, формы и прочностных характеристик изделий.
Карамельную массу получают путём уваривания водного раствора сахарозы и антикристаллизатора до остаточной влажности 2…4 %. В качестве антикристаллизатора используют крахмальную патоку, которую частично можно заменить инвертным сиропом.
Процесс обработки карамельной и изготовления из неё изделий обусловлен физическим состоянием и механическими характеристиками массы, которые прежде всего зависят от температуры. Карамельная масса при температуре выше 100
представляет собой вязкую жидкость. Вязкость массы при охлаждении увеличивается в десятки раз, а при температуре 65…
С она переходит в пластичное состояние, т.е. обретает способность принимать под давлением любую форму и сохранять её. При дальнейшем охлаждении ниже 35…
масса переходит в стекловидное аморфное состояние. Она становится твердой и хрупкой.
Особенности технологического процесса производства карамели обусловлены тем, что карамельная масса является весьма неустойчивой системой: сахар (сахароза) стремится принять свойственное ему кристаллическое состояние. Кроме того, при нагревании рецептурной смеси происходит химическое изменение сахарозы. Продукты такого изменения отличаются высокой гигроскопичностью, ухудшают внешний вид изделия и сокращают срок хранения карамели. Поэтому на всех стадиях технологического процесса требуется создание условий, обеспечивающих высокую стойкость карамельной массы. В частности, для снижения температуры и сокращения продолжительности удалении влаги из рецептурной смеси её уваривают под вакуумом. Вкусовые добавки, содержащие кислоту, вводят после предварительного охлаждения карамельной массы. Необходимым условием при изготовлении карамели является охлаждение уваренной карамельной массы в возможно более короткие сроки, так как скорость кристаллизации сахарозы зависит от скорости охлаждения и с понижением температуры быстро падает из-за резкого повышения вязкости массы.
Поверхность готовой карамели должна обязательно защищаться от влияния окружающего воздуха. Незащищённая карамель, поглощая влагу из воздуха, быстро увлажняется, слипается и теряет товарный вид. Наиболее распространённым способом защиты является завертка карамели во влагонепроницаемую этикетку.
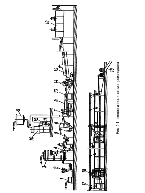
4. Машинно-аппаратная схема производства
Машино –аппаратная схема производства приводится ниже на рис. 4.1.
Предназначены для варки, уваривания, выпаривания под вакуумом различных кондитерских смесей (начинок, мармелада, желе и т.п.) Вакуум-аппарат представляет собой цилиндрический корпус с эллиптической крышкой и днищем, снабженный теплоизолированной паровой рубашкой и перемешивающим устройством. Внутренняя поверхность аппарата изготовлена из пищевой нержавеющей стали. Наружная – нержавеющая или крашенная. Аппарат оснащен люком для внутреннего обслуживания, манометром для измерения давления пара в рубашке, предохранительным клапаном, штуцерами для загрузки и выгрузки продукта, а также смотровым окном. Дополнительно поставляются вакуум-насосы для создания разряжения в аппарате.
Табл. 4.1
Технические характеристики вакуум-аппаратов
| Рабочая вместимость, м3, не менее | 0,075 | 0,15 | 0,3 | 0,5 | 1,0 |
| Геометрическая вместимость,м3 ,не менее | 0,160 | 0,325 | 0,648 | 1,27 | 2,54 |
| Площадь поверхности нагрева м2 | 0,5 | 0,98 | 1,95 | 2,2 | 3,8 |
| Рабочее давление пара в паровой рубашке, МПа не более | 0,6 | 0,6 | 0,6 | 0,25 | 0,25 |
| Расход пара, кг/ч | 70 | 90 | 110 | 130 | 150 |
| Рабочее давление пара в корпусе МПа, не более | 0,08 | 0,08 | 0,08 | 0,08 | 0,08 |
| Частота вращения мешалки об/мин | 18 | 18 | 18 | 45 | 45 |
| Установленная мощность кВт, не более | 0,55 | 0,55 | 0,75 | 1,8 | 3,0 |
| Наличие люка | да | да | да | да | да |
| Наличие дискового затвора Ду 50 | да | да | да | да | да |
| Наличие капиллярного термометра | да | да | да | да | да |
| Наличие моющей головки | да | да | да | да | да |
| Габаритные размеры, мм не более: -длина | 980 | 1200 | 1200 | 1750 | 1050 |
| -ширина | 950 | 1080 | 1080 | 1330 | 1530 |
| -высота | 1800 | 2280 | 2700 | 2840 | 3200 |
| Масса, кг не более | 270 | 380 | 440 | 940 | 1300 |
Конструкционные особенности:
Вакуум-аппарат представляет собой трехстенный, цилиндрический сосуд, установленный вертикально на опорах;
Между внутренней и средней стенкой создана паровая камера. Пространство между средней и наружной стенками заполнено пористым термоизолирующим материалом, предохраняющим обслуживающий персонал от ожогов.
Все соприкасающиеся с продуктами детали выполнены из пищевой нержавеющей стали;
Вакуум-аппарат оснащен мешалкой рамного типа (по желанию заказчика возможна установка фторопластовых скребков), мотор-редуктором, дисковым затвором Ду-50;
Вакуум-аппарат имеет коническое днище, это решает проблему застойных зон и гарантирует полный слив продукта;
Оборудование комплектуется блоком управления с кнопками включения/выключения перемешивающего устройства. По желанию заказчика комплектуется терморегуляторами Компании «Овен»;
В крышке вакуум-аппарата располагается люк для загрузки ингредиентов вручную, патрубки для подачи продукта (Ду50) ,форсунка для автоматической циркуляционной мойки, а так же патрубком для подсоединения вакуумного насоса;
По желанию заказчика вакуум-аппарат комплектуется вакуумными насосами серии ВВН;
Возможно изготовление аппаратов с электрическим нагревом рабочим до 0,5 м3.
Табл. 4.2
Технические характеристики
| 5007в | 5007г | МЗ-2С-241А | |
| Вместимость рабочая, л | 150 | 150 | 500 |
| Поверхность нагрева, м2 | 0,98 | 0,98 | 2,2 |
| Расположение перемешивающего устройства | вертикально | горизонтально | вертикально |
| Рабочее давление пара в паровой рубашке, МПа | 0,6 | 0,6 | 0,6 |
| Рабочее разрежение в корпус аппарата, МПа | -0,08 | -0,08 | -0,07 |
| Скорость вращения мешалки, об/мин | 16 | 120 | 48 |
| Установленная мощность, кВт | 0,55 | 0,55 | 3,0 |
| Габаритные размеры, мм | 950х1055х1800 | 1450х1080х1440 | 1750х1330х1440 |
| Масса, кг | 390 | 430 | 900 |
Предназначена для вытягивания наполненного или ненаполненного жгута мягкой или твердой карамели. Машина принимает карамельный жгут от обкаточной машины, калибрует и передает к карамелештампующей машине.
Табл. 4.3
Технические характеристики машины калибрующей ж7-шкж
| Производительность, кг/ч | 385-1500 |
| Скорость движения карамельного жгута, м/мин | 23-91 |
| Диаметр карамельного жгута, мм | 16-20 |
| Установленная мощность, кВт | 2,2 |
| Габаритные размеры, мм | 1300х580х1270 |
| Масса, кг | 500 |
Предназначена для формирования батона из карамельной массы с начинкой и без нее. Применяется на предприятиях кондитерской промышленности в составе поточно-механизированной линии для производства карамели, автономно при изготовлении леденцовой карамели, в комплекте с начиночной машиной Б4-ШМН-1 при изготовлении карамели с начинкой.
Табл. 4.4
Технические характеристики карамелеподкаточной машины б4-шмп-1
| Производительность, кг/ч: | 1100 |
| Число подкатывающих веретен | 6 |
| Диаметр жгута на выходе, мм | 50-70 |
| Установленная мощность, кВт | 2,2 |
| Габаритные размеры, мм | 2320х600х1480 |
| Масса, кг | 500 |
Ленточные конвейеры (Ленточные транспортёры)
Ленточные конвейеры предназначены для перемещения сыпучих, кусковых и штучных грузов в горизонтальном и наклонном направлениях. Ленточные конвейеры представляют собой транспортирующие устройства непрерывного действия, несущим и тяговым органом которых является гибкая бесконечная лента. Транспортер состоит из станины, двух концевых барабанов и собственно приводного и натяжного устройства. Приводной барабан приводится во вращение электродвигателем через редуктор.
Лента по всей ее длине опирается на образующие желоб или прямые роликоопоры, которые могут быть заменены на сплошной настил желобчатой или ровной формы или прямые направляющие. Желобчатая форма роликоопор и настила удобна для перемещения насыпных грузов на значительные расстояния.
Трехроликовый транспортер предназначен для перемещения больших масс сыпучего продукта с большой нагрузкой на ролики (цемента, песка и т.п.)
















