124441 (690009)
Текст из файла
Энергетический Институт
Кафедра:
«Котельные Установки и Экология Энергетики»
Курсовое проектирование
по курсу
«Котельные установки и парогенераторы»
Расчетно-пояснительная записка теплового расчета
парового котла типа: Пп-1000-25-545/542-ГМ
(ТГМП – 314).
Топливо – природный газ
Студент:
Группа: 02-03
Преподаватель:
2008
Содержание:
| 1. | Содержание. | |
| 2. | Задание на курсовой проект. | |
| 3. | Описание проектируемого котла. | 4 |
| 4. | Расчет экономичности и тепловой схемы парового котла | 10 |
2. Задание на курсовой проект.
Выполнить тепловой конструктивный расчет поверхностей нагрева прямоточного парового котла сверхкритического давления (С. К. Д.) типа ТГМП-314А, построить его тепловую схему и выполнить эскизный чертеж в масштабе 1:100.
Исходные данные:
Паропроизводительность: 275 кг/с
Давление перегретого пара: 25 МПа
Температура перегретого пара: 550С
Давление питательной воды: 31 МПа
Температура питательной воды: 270С
Компоновка парогенератора: прямоточный.
Вариантный расчет: tгв - 50ºС
-
Описание проектируемого котла.
Обоснование выбора типоразмера котла для ТЭС и турбины.
Котел используется на больших ГРЭС и ТЭС. Получил широкое распространение из-за того, что надежен в работе и экономичен. ТГМП-314-А предназначен для работы в блоке с турбинами К-300-240 (конденсационная турбина без отбора пара; давление пара перед турбиной 240
, мощность N=300 МВт) и Т-250/300-240 (теплофикационная турбина с отбором пара N=250 МВт, без отбора пара N=300 МВт, давление пара перед турбиной 240
).
Компоновка котла, особенности его конструкции и работы. Схема компоновки.
Прямоточный котел (ПК) – паровой котел, в котором полное превращение воды в пар происходит за время однократного прохождения воды через поверхность нагрева (разомкнутая гидравлическая система). Отличительной особенностью прямоточных котлов является отсутствие четкой фиксации экономайзерной и пароперегревательной зон (из-за отсутствия барабана). ПК работают на докритическом и сверхкритическом давлении. Проектируемый котел работает на сверхкритическом давлении.
Прямоточный котел типа ТГМП-314-А спроектирован и изготовлен на Таганрогском котельном заводе и рассчитан на сжигание жидкого и газообразного топлива.
Котел имеет П-образный профиль. П-образная компоновка – наиболее распространенная. В подъемной шахте располагается призматическая топочная камера, в опускной – конвективные поверхности нагрева. Ее преимущество – тягодутьевые машины устанавливают на нулевой отметке, что исключает вибрационные нагрузки на каркас котла. Недостатки компоновки: в связи с разворотом на
возникают неравномерности омывания поверхности нагрева продуктами сгорания и концентрации золы по сечению конвективной шахты.
Топка котла призматическая и экранирована НРЧ, СРЧ, ВРЧ. Верх топки экранирован фронтовым топочным экраном и панелями экранов боковых стенок. Горелки расположены встречно в два яруса. Движение среды в экранах одноходовое. В горизонтальном газоходе и на входе в конвективную шахту расположен перегреватель сверхкритического давления. Он состоит из последовательно расположенных в газовом тракте двухрядных ширм и пакета конвективного пароперегревателя. Тракт низкого давления пара состоит из двух пакетов промпароперегревателя. В опускном газоходе находится экономайзер. С котлом работают два регенеративных воздухоподогревателя
9,8 м.
В ПК вода с помощью питательного насоса подается в экономайзер, откуда поступает в панели, расположенные в топке. В выходной части панелей вода превращается в пар и начинается перегрев воды. В ПК отсутствует барабан и опускные трубы, что снижает удельный расход металла, т.е. удешевляет конструкцию котла. Существенный недостаток ПК заключается в том, что, попадающие в котел с питательной водой соли, либо отлагаются на стенках змеевиков, либо вместе с паром поступают в паровые турбины, где оседают на лопатках рабочего колеса, и снижают КПД турбины. Поэтому к качеству питательной воды для ПК предъявляются повышенные требования. Другой недостаток – увеличенный расход энергии на привод питательного насоса.
Топливо. Его характеристики. Процессы и параметры топливного тракта. Схема топливоподачи.
В качестве топлива используется природный газ. Природный газ представляет собой механическую смесь горючих и негорючих газов. Достоинства: топливо высококачественное (
), беззольное, с малым содержанием S, CO,
. Качественный состав топлива приведен ниже.
|
|
|
|
|
|
|
|
|
|
| % |
| % |
|
|
|
|
| 10,93 | 3,021 | 40503 | 0,1 | 36720 | 9,73 | 1,04 | 2,19 |
Основными техническими характеристиками газа являются:
-
Плотность. Почти все виды газового топлива легче воздуха, поэтому при утечке газ скапливается под перекрытиями. В целях безопасности перед пуском парового котла обязательно проверяют отсутствие газа в наиболее вероятных местах его скопления. Используется понятие относительной плотности газа:
, где
,
– плотность газа и воздуха при нормальных условиях,
. -
Взрываемость. Смесь горючего газа с воздухом в определенной пропорции при наличии огня или искры может взорваться (процесс воспламенения и сгорания со скоростью, близкой к скорости звука). Пропорции газовоздушной смеси зависят от химического состава и свойств газа.
-
Токсичность. Под токсичностью понимают способность газа вызывать отравление живых организмов. Наиболее опасными компонентами газа являются окись углерода (СО) и сероводород (
).
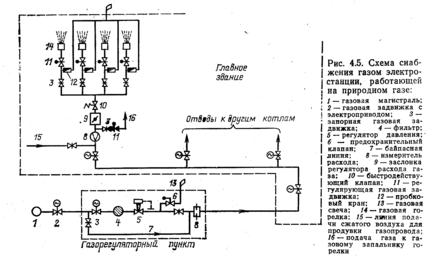
Газ поступает на электростанцию от магистрального газопровода или от газораспределительной станции с давлением 0.7 – 1.3 МПа. Газохранилищами электростанции не располагают. Для снижения давления поступающего газа до необходимого уровня у горелок 0.13 – 0.2 МПа предусматривается его дросселирование в газорегуляторном пункте (ГРП), который ввиду повышенной взрывоопасности и резкого шума при дросселировании газа размещают в отдельном помещении на территории ТЭС.
Для очистки газа от механических примесей перед регулирующими клапанами имеются фильтры. Регулирующие клапаны поддерживают необходимое давление «после себя». В аварийных ситуациях, когда давление газа окажется выше расчётного, срабатывают предохранительные клапаны и выбросят часть газа в атмосферу, сохранив в газопроводах необходимое давление. Количество газа, прошедшее ГРП, регистрируется расходомером. Основными устройствами на газопроводе к паровому котлу являются автоматический регулятор расхода газа (АРР) и отсекающий быстродействующий клапан (БК). Регулятор АРР обеспечивает необходимую тепловую мощность парового котла в любой момент времени. Импульсный отсекающий БК отключает подачу газа в котел в случае аварийной ситуации, когда поступление газа в топочную камеру может создать опасность взрыва (обрыв факела в топке, падение давления воздуха у горелок, останов электродвигателей дымососа или дутьевого вентилятора и т.д.).
Для удаления взрывоопасных газовоздушных смесей, образующихся в нерабочий период, газовые линии перед ремонтом продувают воздухом через специальные отводящие трубы в атмосферу («свечи»). Последние выведены за пределы здания в места, недоступные для пребывания людей. Перед растопкой котла после ремонта или останова в резерв газовоздушную смесь из газопровода вытесняют подачей природного газа и смеси через свечи. Окончание продувки газопровода газом определяют по содержанию кислорода в пробе не выше 1%.
Организация сжигания природного газа.
Характерной особенностью сжигания природного газа является образование горючей смеси из резко различных по объёму количеств газа и воздуха: на 1 м3 природного газа в горелке расходуется около 20 м3 горячего воздуха (при температуре 250 – 300 С). Обеспечить хорошее перемешивание с воздухом в этих условиях можно только путём ввода газа в поток воздуха большим числом отдельных тонких струй с высокой проникающей способностью, со скоростью газа до 120 м/с при скорости основного потока воздуха 25 – 40 м/с.
Газовые горелки являются горелками с частичным внутренним смешиванием, поскольку в пределах горелки не достигается полное перемешивание газа и воздуха, оно завершается уже в топочной камере. В результате небольшая часть газа в зонах высоких температур при нехватке кислорода подвергается термическому разложению (пиролизу) с образованием сажистых частиц. Поэтому при работе газовой горелки также создается достаточно яркий факел в топке с максимумом температуры горения на определённом удалении от амбразуры горелки.
В большинстве случаев ввод газа в воздушный поток выполняют перпендикулярно направлению движению воздуха. Для равномерного распределения газа в объёме воздуха глубина проникновения отдельных струй газа должна быть различной.
Тракты дымовых газов. Параметры тракта. Организация движения газов.
Тракт дымовых газов – комплекс элементов оборудования, по которому осуществляется движение продуктов сгорания до выхода в атмосферу. Он начинается в топочной камере, проходит ширмы, пароперегреватели, экономайзер, воздухоподогреватель (газовая сторона), золоуловитель и заканчивается дымовой трубой.
Рассматриваемый котел работает на природном газе, который практически не дает золы, поэтому золоуловитель здесь не требуется.
Продукты сгорания транспортируются дымососами, расположенными после котла, в связи с чем топка и все газоходы находятся под разряжением.
Температура газа в начале тракта
, на выходе из топки (при подходе к ширмам)
.
Пройдя топку, газы идут по горизонтальному газоходу, где их температура постепенно снижается.
Характеристики
Тип файла документ
Документы такого типа открываются такими программами, как Microsoft Office Word на компьютерах Windows, Apple Pages на компьютерах Mac, Open Office - бесплатная альтернатива на различных платформах, в том числе Linux. Наиболее простым и современным решением будут Google документы, так как открываются онлайн без скачивания прямо в браузере на любой платформе. Существуют российские качественные аналоги, например от Яндекса.
Будьте внимательны на мобильных устройствах, так как там используются упрощённый функционал даже в официальном приложении от Microsoft, поэтому для просмотра скачивайте PDF-версию. А если нужно редактировать файл, то используйте оригинальный файл.
Файлы такого типа обычно разбиты на страницы, а текст может быть форматированным (жирный, курсив, выбор шрифта, таблицы и т.п.), а также в него можно добавлять изображения. Формат идеально подходит для рефератов, докладов и РПЗ курсовых проектов, которые необходимо распечатать. Кстати перед печатью также сохраняйте файл в PDF, так как принтер может начудить со шрифтами.
, где
,
– плотность газа и воздуха при нормальных условиях,
.















