124266 (689952)
Текст из файла
Курсовая работа
Дисциплина Детали машин
Тема «Расчёт редуктора»
Содержание
Введение
-
Кинематическая схема и исходные данные
-
Кинематический расчет и выбор электродвигателя
-
Расчет зубчатых колес редуктора
-
Предварительный расчет валов редуктора и выбор подшипников
-
нструктивные размеры шестерни и колеса
-
Конструктивные размеры корпуса редуктора
-
Первый этап компоновки редуктора
-
Проверка долговечности подшипника
-
Второй этап компоновки. Проверка прочности шпоночных соединений
-
Уточненный расчет валов
-
Вычерчивание редуктора
-
Посадки шестерни, зубчатого колеса, подшипника
-
Выбор сорта масла
-
Сборка редуктора
Введение
Редуктором называют механизм, состоящий из зубчатых или червячных передач, выполненный в виде отдельного агрегата и служащий для передачи вращения от вала двигателя к валу рабочей машины. Кинематическая схема привода может включать, помимо редуктора, открытые зубчатые передачи, цепные или ременные передачи. Указанные механизмы являются наиболее распространенной тематикой курсового проектирования.
Назначение редуктора – понижение угловой скорости и соответственно повышение вращающего момента ведомого вала по сравнению с ведущим. Механизмы для повышения угловой скорости, выполненные в виде отдельных агрегатов, называют ускорителями или мультипликаторами.
Редуктор состоит из корпуса (литого чугунного или сварного стального), в котором помещают элементы передачи – зубчатые колеса, валы, подшипники и т. д. В отдельных случаях в корпусе редуктора размещают также устройства для смазывания зацеплений и подшипников (например, внутри корпуса редуктора может быть помещен шестеренный масляный насос) или устройства для охлаждения (например, змеевик с охлаждающей водой в корпусе червячного редуктора).
Редуктор проектируют либо для привода определенной машины, либо по заданной нагрузке (моменту на выходном валу) и передаточному числу без указания конкретного назначения. Второй случай характерен для специализированных заводов, на которых организовано серийное производство редукторов.
Кинематические схемы и общие виды наиболее распространенных типов редукторов представлены на рис. 2.1-2.20 [Л.1]. На кинематических схемах буквой Б обозначен входной (быстроходный) вал редуктора, буквой Т – выходной (тихоходный).
Редукторы классифицируют по следующим основным признакам: типу передачи (зубчатые, червячные или зубчато-червячные); числу ступеней (одноступенчатые, двухступенчатые и т. д.); типу – зубчатых колес (цилиндрические, конические, коническо-цилиндрические и т. д.); относительному расположению валов редуктора в пространстве (горизонтальные, вертикальные); особенностям кинематической схемы (развернутая, соосная, с раздвоенной ступенью и т. д.).
Возможности получения больших передаточных чисел при малых габаритах обеспечивают планетарные и волновые редукторы.
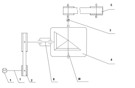
1. Кинематическая схема редуктора
Исходные данные:
Мощность на ведущем валу транспортера
;
Угловая скорость вала редуктора
;
Передаточное число редуктора
;
Отклонение от передаточного числа
;
Время работы редуктора
.
1 – электромотор;
2 – ременная передача;
3 – муфта упругая втулочно-пальцевая;
4 – редуктор;
5 – ленточный транспортёр;
I – вал электромотора;
II – ведущий вал редуктора;
III – ведомый вал редуктора.
2. Кинематический расчет и выбор электродвигателя
2.1 По табл. 1.1 коэффициент полезного действия пары цилиндрических зубчатых колес η1 = 0,98; коэффициент, учитывающий потери пары подшипников качения, η2 = 0,99; КПД клиноременной передачи η3 = 0,95; КПД плоскоременной передачи в опорах приводного барабана, η4 = 0,99
2.2 Общий КПД привода
η = η1 η2 η3 η4 = 0,98∙0,992∙0,95∙0,99= 0,90
2.3 Требуемая мощность электродвигателя
Pтр =
=
=1,88 кВт.
где PIII-мощность выходного вала привода,
-общий КПД привода.
2.4 По ГОСТ 19523-81 (см. табл. П1 приложениях [Л.1]) по требуемой мощности Рдв = 1,88кВт выбираем электродвигатель трехфазный асинхронный короткозамкнутый серии 4А закрытый, обдуваемый, с синхронной частотой вращения 750 об/мин 4А112МА8с параметрами Рдв = 2,2кВт и скольжением 6,0%.
Номинальная частота вращения
nдв.=nc1-s
где nc-синхронная частота вращения,
s- скольжение
nдв =
2.5 Угловая скорость
ωI =
=
= 73,79рад/с.
2.6 Частота вращения
nIII=
=
= 114,64об/мин
2.7 Передаточное отношение
Uоб= i =
=
= 6,1
где I-угловая скорость двигателя,
III-угловая скорость выходного привода
2.8 Намечаем для редуктора u =1,6; тогда для клиноременной передачи
ip =
=
=3,81– что находиться в пределах рекомендуемого
2.9 Крутящий момент, создаваемый на каждом валу.
кНм.
Крутящий момент на 1-м валу МI=0,025кНм.
PII=PIp=1,880,95=1,786 Нм.
радс
кНм.
Крутящий момент на 2-м валу МII=0,092 кНм.
кНм.
Крутящий момент на 3-м валу МIII=0,14 кНм.
2.10 Выполним проверку
Определим частоту вращения на 2-м валу
обмин.
Частоты вращения и угловые скорости валов
| Вал I | nI=705 обмин | I=73,79 рад/с | МI=0,025 кНм |
| Вал II | nII=184,9 обмин | II=19,36 рад/с | МII=0,092 кНм |
| Вал III | nIII=114,64 об/мин | III=12 рад/с | МIII=0,14 кНм |
3. Расчет зубчатых колес редуктора
Выбираем материалы для зубчатых колес такие же, как в § 12.1 [Л.1].
Для шестерни сталь 45, термообработка – улучшение, твердость НВ 260; для колеса сталь 45, термообработка – улучшение, твердость НВ 230.
Допускаемое контактное напряжение для прямозубых колес из указанных материалов определим с помощью формулы 3.9, [1], стр.33:
где H limb – предел контактной выносливости;
b – база нагружения;
KHV – коэффициент долговечности;
SH - коэффициент безопасности.
Значение H limb выбираем из [1] табл.3.2, стр.34.
Для шестерни:
H limb=2HB1+70=2260+70=590 МПа;
Для колеса
H limb=2HB2+70=2230+70=530 МПа.
Для шестерни
=
МПа;
Для колеса
=
МПа.
Допускаемое контактное напряжение принимаю
= 442 МПа.
Принимаю коэффициент ширины венца ψbRe = 0,285 (по ГОСТ 12289-76).
Коэффициент Кнβ, учитывающий неравномерность распределения нагрузки по ширине венца, примем по табл. 3.1 [Л.1]. Несмотря на симметричное расположение колес относительно опор, примем значение этого коэффициента, как в случае несимметричного расположения колес, так как со стороны клиноременной передачи действует сила давления на ведущий вал, вызывающая его деформацию и ухудшающая контакт зубьев: Кнβ = 1,25.
Внешний делительный диаметр колеса находим по формуле 3.9 1 стр.49
В этой формуле для прямозубых передач Кd= 99;
Передаточное число U=1,16;
МIII-крутящий момент на 3-м валу.
мм
Принимаем по ГОСТ 12289-76 ближайшее стандартное значение de2=180 мм
Примем число зубьев шестерни z1=32
3.1 Число зубьев колеса
z2=z1U=321,6=51
3.2 Внешний окружной модуль
мм
3.3 Уточняем значение
мм
3.4 Углы делительных конусов
ctq1=U=1,6 1= 320
2=900-1=900-320=580
3.5 Внешнее конусное расстояние
мм
3.6 Длина зуба
мм
3.7 Внешний делительный диаметр
мм
3.8 Средний делительный диаметр шестерни
мм
3.9 Внешние диаметры шестерни и колеса (по вершинам зубьев)
мм
мм
3.9 Средний окружной модуль
мм
3.10 Коэффициент ширины шестерни по среднему диаметру
3.11Средняя окружная скорость
м/с
Для конических передач обычно назначают 7-ю степень точности.
3.12 Для проверки контактных напряжений определяем коэффициент нагрузки
По табл. 3.5 [1] при ψbd =0,28;консольним расположением колес и твердости НВ < 350 коэффициент учитывающий распределение нагрузки по длине зуба, КНβ = 1,15.
Коэффициент, учитывающий распределение нагрузки между прямыми зубьями, КH=1,05 1 см. таб. 3.4
Коэффициент, учитывающий динамическую нагрузку в зацеплении, для прямозубых колес при 5 м/с, КH=1,05 1 cм. таб. 3.6
Таким образом, Кн = 1,151,051,05 = 1,268.
3.13 Проверяем контактные напряжения по формуле 3.27) из 1
= 346,4 МПа,
346,4H=442 МПа
Условие прочности выполнено
3.14 Силы, действующие в зацеплении:
Окружная
= 1920 Н;
радиальная
592,6 Н;
Осевая
370 H
3.15 Проверим зубья на выносливость по напряжениям изгиба по формуле3.31 из 1:
.
3.16 Коэффициент нагрузки
KF = KFβ∙KF
3.17 По табл. 3.7 [1] при ψbd = 0,28,консольном расположении, валах на роликовых подшипниках колес и твердости НВ < 350 значение KFβ = 1,37.
3.18 По табл. 3.8 [1] при твердости HB350, скорости =1,02 м/с и 7-й степени точности коэффициент KF =1,25(значение взято для 8-й степени точности в соответствии с указанием 1 стр.53
Таким образом, KF =1,371,25=1,71
3.19 Коэффициент, учитывающий форму зуба, YF зависит от эквивалентного числа зубьев;
у шестерни
37,7 ;
у колеса
Характеристики
Тип файла документ
Документы такого типа открываются такими программами, как Microsoft Office Word на компьютерах Windows, Apple Pages на компьютерах Mac, Open Office - бесплатная альтернатива на различных платформах, в том числе Linux. Наиболее простым и современным решением будут Google документы, так как открываются онлайн без скачивания прямо в браузере на любой платформе. Существуют российские качественные аналоги, например от Яндекса.
Будьте внимательны на мобильных устройствах, так как там используются упрощённый функционал даже в официальном приложении от Microsoft, поэтому для просмотра скачивайте PDF-версию. А если нужно редактировать файл, то используйте оригинальный файл.
Файлы такого типа обычно разбиты на страницы, а текст может быть форматированным (жирный, курсив, выбор шрифта, таблицы и т.п.), а также в него можно добавлять изображения. Формат идеально подходит для рефератов, докладов и РПЗ курсовых проектов, которые необходимо распечатать. Кстати перед печатью также сохраняйте файл в PDF, так как принтер может начудить со шрифтами.















