124178 (689892)
Текст из файла
Аннотация
Пояснительная записка представляет собой отчет о выполнении курсовой работы на тему: «Расчет кожухотрубчатого двухходового воздухоподогревателя парового котла».
Описанная в работе методика и формулы дают возможность формализованным путём с достаточной для инженерных целей точностью рассчитать размеры аппарата и выбрать их общую компоновку. Здесь рассматривается определение диаметра корпуса аппарата, количества и длины трубок, выбор размещения трубок в трубных плитах и расположение перегородок в трубном и межтрубном пространствах, определение диаметра патрубков для рабочих сред.
Для составления пояснительной записки в данной курсовой работе использовались: текстовый процессор Microsoft Word, табличный процессор Excel.
Введение
Широкое применение в технике водяного пара общеизвестно. Он применяется как рабочее тело на электрических станциях и как теплоноситель для технологических (выпаривание, сушка, нагрев и т.п.) и отопительных целей. Получение пара из воды осуществляется в котельных агрегатах – парогенераторах, паровых котлах.
Ведущее место в теплоэнергетике принадлежит паротехнике. Основным типом мощной тепловой электростанции является станция, работающая по паровому циклу и оборудованная котельными и турбинными агрегатами. Назначение котельных агрегатов заключается в надежном и экономичном производстве определенного количества пара заданных параметров.
Размеры, сложность и разнообразие оборудования, габариты здания, стоимость и сложность эксплуатации определяют важное место котельных установок на мощных электростанциях. Поэтому прогресс крупной энергетики самым тесным образом связан с развитием энергетического парогенераторостроения.
Котельные установки (меньшего масштаба) весьма распространены в различных отраслях промышленности – на промышленных теплоэлектростанциях, предназначенных для комбинирования выработки тепла и электрической энергии, как установки, вырабатывающие пар для производственных и отопительных целей, и т.п.
Современный котельный агрегат представляет собой крупное инженерное сооружение, сложный комплекс технических устройств и механизмов, работа которых для обеспечения надежности и экономичности работы агрегата должна быть весьма четкой и строго согласованной.
Целью выполнения курсовой работы является расчет тепломассообменных аппаратов при решении задач в сфере профессиональной деятельности.
1. Описание работы и конструкции паровых котлов
В этой главе подробно рассмотрены: котельный агрегат и его элементы, назначения парового котла и всех его составляющих, а также работа котельного агрегата и всех его элементов.
Котельный агрегат; его схема и элементы [1]
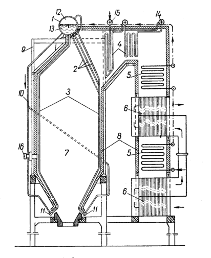
Котельный агрегат (рис. 1.) состоит из следующих элементов: собственно парового котла 1, 2, 3, пароперегревателя 4, водяного экономайзера 5, воздухоподогревателя 6, топочного устройства 7, обмуровки 8, каркаса 9, арматуры, гарнитуры и соединительных коммуникаций (труб и каналов).
Рис. 1 - Схема котельного агрегата
Назначением парового котла (в узком смысле слова, как элемента котлоагрегата) является превращение поступающей в него воды в насыщенный пар заданного давления. Собственно паровой котел состоит из разреженного пучка труб – фестона 2, системы экранных труб 3 и барабана 1.
Размещенные у стен топки экранные трубы 3 расположены вертикально. Из барабана 1 по опускным трубам 10 к нижним коллекторам экранных труб 11 подводится вода. Топочные экраны воспринимают большое количество тепла от заполняющих топочное пространство 7, интенсивно излучающих, раскаленных продуктов сгорания топлива. Вследствие этого в экранных трубах часть воды превращается в пар. Пароводяная смесь движется снизу вверх и отводится в барабан котла 1. Здесь пар отделяется от воды и поступает в паровое пространство 12, а вода из водяного пространства 13 поступает в опускные трубы 10.
Так осуществляется непрерывное движение воды по замкнутому пути, называемое естественной циркуляцией воды и происходящее вследствие разности удельных весов пароводяной смеси (в экранных трубах) и воды (в опускных трубах).
В экранах образуется основное количество пара, производимого котлом. Они служат также для предохранения стен топки от воздействия топочных газов, имеющих высокую температуру, и для предотвращения ошлакования топки.
Фестонные трубы 2 являются продолжением экранных труб, размещенных у задней стенки топки. Они образуются путем разводки труб заднего однорядного экрана в несколько рядов. Таким образом, создается пучок труб, которому тепло передается излучением и конвекцией, и продукты сгорания охлаждаются до заданной температуры перед пароперегревателем. Кроме того, фестон служит для защиты пароперегревателя от излучения заполняющих топку продуктов сгорания.
В барабане котла 1, как правило, устанавливаются сепарирующие устройства, служащие для отделения воды от пара и обеспечивающие получение практически сухого насыщенного пара.
Важным элементом котельного агрегата является пароперегреватель 4. Он предназначен для перегрева до заданной температуры полученного в котле насыщенного пара. Пароперегреватель состоит из группы параллельно включенных изогнутых труб-змеевиков, присоединенных к коллекторам. Насыщенный пар из парового пространства барабана котла по соединительным трубам поступает во входной коллектор пароперегревателя 14, далее движется по змеевикам, где перегревается до заданной температуры, а затем поступает в выходной коллектор 15 и оттуда направляется к потребителю.
Основное значение водяного экономайзера 5 заключается в подогреве питательной воды за счет тепла продуктов сгорания топлива. Конструкция экономайзера аналогична конструкции пароперегревателя. Вода подается питательным насосом во входной (нижний) коллектор экономайзера, проходит по змеевикам, поступает в выходной коллектор, а оттуда – в барабан котла. В крупных агрегатах, как правило, применяются двухступенчатые экономайзеры, как показано на рис 1.
Воздухоподогреватель 6 служит для подогрева поступающего в топку воздуха за счет тепла дымовых газов. Газы движутся сверху вниз внутри труб, омываемых снаружи поперечным потоком воздуха.
В топочном устройстве 7 осуществляется сжигание твердого топлива в виде пыли. Смесь топлива и воздуха поступает в топку из горелок 16, в топочной камере происходит воспламенение и горение топлива. Топочное устройство должно обеспечивать:
а) высокую степень полноты сжигания топлива при минимальном количестве избыточного воздуха;
б) охлаждение продуктов сгорания топлива до заданной условиями проектирования температуры.
Обмуровку 8 составляют стены и перекрытия котельного агрегата, выполненные из кирпича или из специальных плит и щитов. Она отделяет от наружного пространства топку и последующие газоходы агрегата – каналы, в которых размещены поверхности нагрева и по которым движутся дымовые газы. Внутренняя часть обмуровки топки, выполняемая из огнеупорных материалов, называется футеровкой. Обмуровка должна обладать хорошими теплоизоляционными свойствами для обеспечения невысокой температуры ее наружной поверхности и небольших потерь тепла в окружающую среду, а также должна быть плотной, обеспечивающей минимальные присосы внешнего воздуха в работающие под разряжением газоходы.
Каркас 9 служит для крепления и поддержания всех частей котельного агрегата и его обмуровки. Он выполняется в виде металлической конструкции из колонн и балок и опирается на фундамент.
Для возможности эксплуатации котельного агрегата необходим ряд приспособлений и устройств, носящих название арматуры и гарнитуры. К обязательной арматуре относятся: манометр, водоуказательные приборы, предохранительные клапаны, питательные, автоматические обратные, паровые, спускные и продувочные клапаны. Гарнитура агрегата – это преимущественно чугунные детали: дверки, крышки люков, гляделки в обмуровке, заслонки для регулирования тяги, а также обдувочные устройства, служащие для очистки поверхности нагрева от отложений летучей золы.
Соединительные коммуникации агрегата состоят из труб, подводящих воду к экранам и отводящих из экранов пароводяную смесь, из соединительных труб между экономайзером и барабаном котла и между котлом и пароперегревателем, из воздухопроводов – каналов для подвода воздуха и других более мелких внутренних коммуникаций.
На рис. 1 приведена П-образная компоновка агрегата. Она характеризуется наличием дух вертикальных шахт – топочной и конвективной и расположенного вверху соединительного газохода. Образующиеся в топке продукты горения движутся в топочном пространстве снизу вверх, омывают фестон, направляются в соединительный газоход, где расположен пароперегреватель, затем поворачивают на 90º, поступают конвективную шахту и движутся в ней сверху вниз, омывая последовательно поверхности нагрева водяного экономайзера и воздухоподогревателя. Охлажденные продукты горения отсасываются дымососом и через дымовую трубу удаляются в атмосферу. В случае надобности дымовые газы предварительно очищаются в специальных устройствах от летучей золы.
Воздухоподогреватели [1]
Воздухоподогреватель - теплообменный аппарат для нагревания проходящего через него воздуха. Его широко применяют в котельных установках тепловых электростанций и промышленных предприятиях, в печных агрегатах промышленности (например, металлургической, нефтеперерабатывающей), в системах воздушного отопления, приточной вентиляции и кондиционирования воздуха.
В качестве теплоносителя используют горячие газообразные продукты сгорания (в котельных и печных установках), водяной пар, горячую воду или электроэнергию (в системах отопления и вентиляции).
По принципу действия воздухоподогреватели разделяют на рекуперативные и регенеративные. В рекуперативных воздухоподогревателях теплообмен между теплоносителем и нагреваемым воздухом происходит непрерывно через разделяющие их стенки поверхностей нагрева, в регенеративных - осуществляется попеременно нагреванием и охлаждением насадок (металлических или керамических) неподвижных или вращающихся поверхностей нагрева воздухоподогревателя. На тепловых электростанциях применяются главным образом трубчатые (стальные и чугунные) рекуперативные воздухоподогреватели, реже - вращающиеся регенеративные. В металлургической промышленности широко распространены регенеративные Воздухоподогреватели периодического действия с керамической насадкой. Современные металлические воздухоподогреватели позволяют нагревать воздух до 450-600°С, воздухоподогреватели с керамической насадкой - до 900-1200°С.
Рис. 2 - Схема воздухоподогревателя
2. Составление модели расчета воздухоподогревателя
В данном разделе рассматривается формулировка задачи для расчета кожухотрубчатого двухходового воздухоподогревателя парового котла; представляются исходные данные и необходимые расчетные формулы.
2.1 Содержательная формулировка задачи
Задачей расчета теплообменного аппарата является определение основных размеров аппаратов и выбор их общей компоновки. Здесь рассматривается определение диаметра корпуса аппарата, количества и длины трубок, выбор размещения трубок в трубных плитах и расположение перегородок в трубном и межтрубном пространствах, определение диаметра патрубков для рабочих сред.
2.2 Исходные данные
Исходные данные к проекту: Дымовые газы(13% СО
,11% Н
О),в количестве 19,6 кг/с движутся по стальным трубам диаметром 53/50 мм со скоростью 14 м/с.Температура газов на входе в воздухоподогреватель - 380
.Воздух в количестве 21.5 кг/сек нагревается от 30
до 260
и движется поперёк трубного пучка со скоростью 8 м/с.Трубы расположены в шахматном порядке.
2.3 Расчетные формулы
Ниже подробно рассмотрены основные расчетные формулы для решения поставленной выше задачи.
2.3.1 Расчет проточной части трубного пространства
Основную группу теплообменных аппаратов, применяемых в промышленности, составляют поверхностные теплообменники, в которых тепло от горячего теплоносителя передается холодному теплоносителю через разделяющую их стенку.
Так как имеет место сложный теплообмен излучением и конвекцией, то основное уравнение теплопередачи будет иметь вид:
(1)
Характеристики
Тип файла документ
Документы такого типа открываются такими программами, как Microsoft Office Word на компьютерах Windows, Apple Pages на компьютерах Mac, Open Office - бесплатная альтернатива на различных платформах, в том числе Linux. Наиболее простым и современным решением будут Google документы, так как открываются онлайн без скачивания прямо в браузере на любой платформе. Существуют российские качественные аналоги, например от Яндекса.
Будьте внимательны на мобильных устройствах, так как там используются упрощённый функционал даже в официальном приложении от Microsoft, поэтому для просмотра скачивайте PDF-версию. А если нужно редактировать файл, то используйте оригинальный файл.
Файлы такого типа обычно разбиты на страницы, а текст может быть форматированным (жирный, курсив, выбор шрифта, таблицы и т.п.), а также в него можно добавлять изображения. Формат идеально подходит для рефератов, докладов и РПЗ курсовых проектов, которые необходимо распечатать. Кстати перед печатью также сохраняйте файл в PDF, так как принтер может начудить со шрифтами.















