124173 (689888)
Текст из файла
Расчётно-пояснительная записка к курсовой работе
«Расчет идеального цикла ГТД»
Самара 2010
Задание
Рассчитать идеальный цикл ГТД тягой R при полёте с числом М за время τ (час) по заданной высоте Н при температуре Т3 газа перед турбиной. Исходные данные приведены в табл. 1, 2, 3, 4, 5. Масса воздуха G = 1 кг. Топливо – керосин Т-2 с начальной температурой TT = 300 K.
Таблица 1 – Исходные данные
| Высота полёта H, м | Число М | Время , ч | Температура Т3, К | Тяга R, Н |
| 10000 | 1,3 | 4 | 1350 | 4550 |
Таблица 2 – Данные МСА
| Н, м | Т0, К | p0, Н/м2 | кг/м3 | µ105, Нс/м3 |
| 10000 | 223,3 | 26500 | 0,414 | 1,45 |
Таблица 3 – Состав топлива
| Марка керосина | Химическая формула | Содержание серы и влаги, % | Плотность при 20ºС | Низшая удельная теплота сгорания топлива Нu, кДж/кг |
| Т-2 | С1,1H2,15 | 0,005 | 0,755 | 43130 |
Таблица 4 – Объёмный состав воздушной смеси
| Компонент | N2 | O2 | CO2 | H2O |
|
| 0,7729 | 0,2015 | 0,0083 | 0,0173 |
Таблица 5 – Молярная масса компонентов воздушной смеси
| Компонент | кг/кмоль |
| N2 | 28 |
| O2 | 32 |
| CO2 | 44 |
| H2O | 18 |
Реферат
Определены следующие параметры, характеризующие воздух в точке 0 цикла ГТД: молекулярные массы, количество вещества, мольные и массовые доли, удельные газовые постоянные, изобарные и изохорные теплоёмкости компонентов воздуха, поступающего в диффузор, показатель адиабаты.
Рассчитано оптимальное значение степени сжатия воздуха в компрессоре, обеспечивающее максимально полезную работу цикла для заданного значения температуры Т3.
Вычислен коэффициент избытка воздуха в камере сгорания.
Найдены значения масс, количества вещества, мольных и массовых долей компонентов рабочего тела, как смеси продуктов сгорания и избыточного воздуха. Рассчитано количество топлива, сгорающего в 1 кг воздуха. Определена масса рабочей смеси, удельная изобарная и изохорная теплоёмкости, газовая постоянная и показатель адиабаты, характеризующие смесь при температуре Т3. Результаты расчётов сведены в таблицы.
Рассчитаны параметры состояния в характерных и нескольких промежуточных точках идеализированного цикла ГТД, определены изменения внутренней энергии, энтальпии, энтропии, теплоты, удельные работы процессов и за цикл. Изображён идеальный цикл в p-v и T-S-координатах. Определены погрешности рассчитанных
и
. Рассчитаны энергетические характеристики ГТД.
Введение
Авиационный газотурбинный двигатель является сложной технической системой с высокими удельными параметрами. Конструкция доводилась до совершенства на основе большого объёма экспериментальных исследований, накопленной статистики. Технические достижения в области конструкции, материалов, технологии, различных методов повышения нагрузочной способности, усталостной прочности нашли в современном двигателе самое непосредственное воплощение. В мировой практике разработаны и освоены в производстве двигатели новых поколений, где в конструкцию привнесены качественные изменения, приведшие к существенному повышению удельных эксплуатационных параметров. Продолжающие находиться в эксплуатации и выпускаться, проверенные временем и доведённые на основе анализа результатов практического использования до высокого уровня совершенства ряд моделей ГТД сформировали большой объём практической информации.
Циклы ГТД подразделяются на две основные группы: с подводом тепла при p = const и с подводом тепла при v = const.
1. Описание работы двигателя
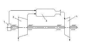
Принципиальная схема ГТД со сгоранием топлива при p = const показана на рисунке 1. Принцип его работы следующий: при полёте самолёта набегающий поток воздуха поступает в диффузор и там сжимается. Затем попадает в компрессор 2, где опять подвергается сжатию. Далее сжатый воздух поступает в камеру сгорания 3, где происходит сгорание топливно-воздушной смеси и, следовательно, осуществляется подвод тепла. Привод компрессора осуществляется от газовой турбины 4. Пройдя через газовую турбину, продукты сгорания расширяются в реактивном сопле до атмосферного давления, и, после истечения, изобарно охлаждаются в атмосфере. Поскольку адиабатно сжимаемый в компрессоре воздух и образовавшиеся продукты сгорания, расширяющиеся на лопатках турбины и в сопловом аппарате, имеют различный состав, параметры состояния рабочего тела в различных точках термодинамического цикла должны рассчитываться с учётом этой особенности. Расход воздуха на горение и количество продуктов сгорания определяются уравнениями химических реакций окисления элементов горючего с учётом содержания их в топливе.
Рисунок 1 – Принципиальная схема ГТД с подводом тепла при
p = const: 1 – топливный насос; 2 – компрессор; 3 – камера сгорания; 4 – газовая турбина
2. Расчёт состава рабочего тела
2.1 Предварительный расчёт состава воздуха
Расчёт количества вещества, массовых и мольных долей компонентов и теплоёмкостей производится для воздуха, потребляемого двигателем самолёта на высоте полёта Н=10000 м.
Рассчитаем массовые доли по формуле:
Обозначим
как
– молекулярная масса смеси:
Тогда:
Рассчитаем количество вещества:
Найдём удельную газовую постоянную для каждого компонента по формуле:
(3),
где R=8,314
Удельные изобарные теплоёмкости компонентов:
Удельные изохорные теплоёмкости компонентов найдём по формуле:
(4)
Для газовой смеси определим удельную изобарную теплоёмкость:
И удельную изохорную теплоёмкость:
Показатель адиабаты:
Удельную газовую постоянную:
2.2 Определение оптимальной степени сжатия в компрессоре ГТД
Для заданного числа М полёта оптимальное значение можно получить аналитически из условия, что при его значении полезная работа цикла ГТД наибольшая. Решение сводится к отысканию максимума функции
.
Этот максимум в идеальном цикле достигается при значении
(5).
Подставив исходные и рассчитанные в разделе 1.1 значения в формулу (5), получим:
2.3 Определение коэффициента избытка воздуха
Основано на обеспечении заданной температуры перед турбиной.
Для расчёта примем соотношение
для данного вида топлива
:
Для топлива керосин Т-2 с химической формулой
:
Коэффициент избытка воздуха определяется по формуле:
(6), где:
Тогда:
2.4 Расчёт состава продуктов сгорания и рабочей смеси
Массы продуктов сгорания:
Количества вещества продуктов сгорания:
Мольные доли компонентов:
(7)
Массовые доли компонентов:
(8)
Количество топлива, сгорающего в 1 кг воздуха:
Масса рабочей смеси:
Удельные теплоёмкости рабочей смеси:
Газовая постоянная:
Показатель адиабаты:
Результаты расчётов сведём в таблицы 6 и 7.
Таблица 6 – Состав рабочего тела цикла ГТД
| Характеристика | Компонент | |||||||||
| N2 | O2 | CO2 | H2O | |||||||
|
| 0,297 | 0,260 | 0,189 | 0,462 | ||||||
|
| Воздух | 1,039 | 0,915 | 0,815 | 1,859 | |||||
|
| Воздух | 0,742 | 0,655 | 0,626 | 1,397 | |||||
|
| 28 | 32 | 44 | 18 | ||||||
| G, кг | Воздух | 0,752 | 0,224 | 0,013 | 0,011 | |||||
| Пр. сгор. | 0,752 | 0,2116 | 0,0244 | 0,0133 | ||||||
| M, кмоль | Воздух | 0,0268 | 0,007 | 0,000295 | 0,00061 | |||||
| Пр. сгор. | 0,027 | 0,0066 | 0,000555 | 0,000642 | ||||||
| g | Воздух | 0,752 | 0,224 | 0,013 | 0,011 | |||||
| Пр. сгор. | 0,751 | 0,2113 | 0,0244 | 0,0133 | ||||||
| r | Воздух | 0,7729 | 0,2015 | 0,0083 | 0,0173 | |||||
| Пр. сгор. | 0,7759 | 0,1896 | 0,0159 | 0,0184 | ||||||
Таблица 7 – Характеристики рабочего тела в цикле ГТД
| Рабочее тело | Характеристика | ||||
|
|
|
|
| G, кг | |
| Воздух | 1,015 | 0,727 | 0,288 | 1,396 | 1 |
| Продукты сгорания | 1,018 | 0,729 | 0,289 | 1,396 | 1,0013 |
3. Расчет основных параметров состояния рабочего тела в узловых точках цикла ГТД
Прежде чем перейти к расчёту основных термодинамических параметров состояния рабочего тела в узловых точках цикла ГТД, рассчитаем плотность воздуха, поступающего в диффузор, при известных p0, R и Т0:
Точка 1. Процесс 0–1 – адиабатное сжатие воздуха в диффузоре:
Характеристики
Тип файла документ
Документы такого типа открываются такими программами, как Microsoft Office Word на компьютерах Windows, Apple Pages на компьютерах Mac, Open Office - бесплатная альтернатива на различных платформах, в том числе Linux. Наиболее простым и современным решением будут Google документы, так как открываются онлайн без скачивания прямо в браузере на любой платформе. Существуют российские качественные аналоги, например от Яндекса.
Будьте внимательны на мобильных устройствах, так как там используются упрощённый функционал даже в официальном приложении от Microsoft, поэтому для просмотра скачивайте PDF-версию. А если нужно редактировать файл, то используйте оригинальный файл.
Файлы такого типа обычно разбиты на страницы, а текст может быть форматированным (жирный, курсив, выбор шрифта, таблицы и т.п.), а также в него можно добавлять изображения. Формат идеально подходит для рефератов, докладов и РПЗ курсовых проектов, которые необходимо распечатать. Кстати перед печатью также сохраняйте файл в PDF, так как принтер может начудить со шрифтами.
















