124162 (689878), страница 4
Текст из файла (страница 4)
Колеса перегружены на 0,5%.
3.8 Вывод
При определении погрешности передаточного числа, получили Δi= 1,4% , что позволяет сделать вывод- передаточное число выбрано, верно.
Так как [σ]F1=547,83 МПа, [σ]F2=495,65 МПа и σF1=390,5 МПа, σF2=359,91 МПа то колеса прошли проверку по напряжениям на изгиб.
В результате расчетов определили, что
0,5% перегрузки. Это величина не превышает допустимого значения (5 % перегрузки и 10 % недогрузки), следовательно, колеса прошли проверку по контактным напряжениям.
В результате проверочного расчета убедились, что полусумма делительных диаметров равна межосевому расстоянию.
4 Расчет тихоходной прямозубой цилиндрической зубчатой передачи
4.1 Задача
Провести проектный расчет, подобрать материал, определить основные геометрические параметры и проверить на контакт.
4.2 Расчетная схема
Рисунок 4.1 – Расчетная схема зацепления колес
4.3 Данные для расчета
Данные для расчета передачи берем из кинематического расчета.
Таблица 3.1 - силовые и скоростные параметры для расчета промежуточной передачи
| /Параметр | Р, кВт | Т, Н·м | ω, с-1 | n, об/мин | i |
| 3 вал | 6,312 | 220,1 | 28,68 | 274 | 3,3 |
| 4 вал | 6,06 | 697,4 | 8,69 | 83 |
4.4 Условие расчета
Проектный расчет ведем на контакт, так как основной вид разрушения закрытых зубчатых передач - поверхностное выкрашивание зубьев в зоне контакта. Проверяем на контакт и изгиб.
4.5 Выбор материала и расчет допускаемых напряжений
Материалы для изготовления зубчатых колес подбирают по таблице 3.3 [1]).Для повышения механических характеристик материалы колес подвергают термической обработке. В зависимости от условий эксплуатации и требований к габаритным размерам передачи принимаем следующие материалы и варианты термической обработки (Т.О.).
Рекомендуется назначать для шестерни и колеса сталь одной и той же марки, но обеспечивать соответствующей термообработкой твердость поверхности зубьев шестерни на 20—30 единиц Бринеля выше, чем колеса.
Примем для колеса и шестерни сталь 40ХН и вариант термообработки ( таблица 3.3 [1]);
колесо—улучшение: НВ 280;
шестерня—улучшение: НВ 250.
Для непрямозубых колес расчетное допускаемое контактное напряжение определяют по формуле (3.9 [1])
, МПа (4.1)
где σнlim b – предел контактной выносливости при базовом числе циклов (таблица 3.2 [1])
σнlim b=2НВ+70, МПа (4.2)
для колеса σн1lim b=2·280+70=630н/мм2;
для шестерни _σн2lim b=2·250+70=570 н/мм2.
- коэффициент долговечности; если число циклов нагружения каждого зуба колеса больше базового, то принимают
= 1
[п]Н — коэффициент безопасности; для колес из нормализованной и улучшенной стали, а также при объемной закалке принимают [п]Н = 1,1—1,2, принимаем [п]Н = 1,15
[σ]н1=
МПа
[σ]н2=
Мпа
Принимаем наименьшее значение [σ]н =495,65 Мпа
Допускаемые напряжения на изгиб определяем по формуле
[σ]Fa=1,03·HB, МПа (4.3)
[σ]F1=1,03·280=288,4 МПа
[σ]F2=1,03·250=257,5 МПа
4.6 Проектный расчет передачи
Важнейшим геометрическим параметром редуктора является межосевое расстояние, которое необходимо для определения геометрических параметров колес.
1. Определяем межосевое расстояние по формуле (с.11 [2]) :
(4.4)
- вспомогательный коэффициент. Для косозубых передач
=43, для прямозубых —
=49,5;
- передаточное число тихоходной передачи;
Т2 - вращающий момент на 2 промежуточном валу, Н·м;
- коэффициент неравномерности нагрузки по длине зуба. Для прирабатывающихся зубьев
= 1(см. 3.1, п. 1 [1]);
- коэффициент ширины венца колеса, равный 0,28...0,36 — для шестерни, расположенной симметрично относительно опор
=0,3 (с. 13 [2]).
- допускаемое контактное напряжение колеса с менее прочным зубом или среднее допускаемое контактное напряжение, н/мм2.
=49,5·(3,3+1)·
=203,1 мм
Полученное значение межосевого расстояния
округляют в большую сторону до стандартного по СТ СЭВ 310-76 : 40, 50, 63, 71, 80, 90, 100, 112, 125, 140, 160, 180, 200, 220, 250, 280, 315 мм. Принимаем
=200 мм.
2. Выбирают модуль в интервале m=(0,01÷0,02)
, по СТ СЭВ 310—76 (в мм)
m=(0,01÷0,02) ·200=(2÷4)мм
Модуль принимаем из стандартного ряда (с.30 [1]) m=2мм
3. Определяем суммарное число зубьев данной передачи по формуле (с.13 [2]) :
ZΣ=
(4.5)
где
- межосевое расстояние, мм;
m –модуль передачи, мм;
ZΣ=
ZΣ – суммарное число зубьев передачи.
Находим число зубьев на шестерни по формуле (с.14 [2]) :
Z1=
(4.6)
где
- передаточное число промежуточной передачи.
Z1=
Число зубьев на колесе находится по формуле (с.14 [2]) :
Z2 =ZΣ - Z1 (4.7)
где Z1 – число зубьев шестерни.
Z2 =200-47=153
4. определяем фактическое передаточное число по формуле (с.18 [2]) :
(4.8)
где Z2 – число зубьев колеса.
Погрешность при выборе передаточного числа определяем по формуле (с.18 [2]) :
Δi=
% (4.9)
Δi =
%=1,5%
Погрешность составляет всего 1,5% , что позволяет сделать вывод, что передаточное число выбрано верно.
-
Определяем диаметры колес (с.41 [1]) .
Делительные диаметры:
шестерни
=
мм
колеса
=
мм
Диаметры окружностей вершин и впадин шестерни
da1=d1+2m =94+2·2=98 мм
df1=d1-2,5m = 94-2,5·2 =89 мм
колеса
da2=d2+2m =306+2·2 =310 мм
df2=d2-2,5m =153-2,5·2=148 мм
-
Определяем ширину шестерни и колеса.
Ширину колеса находим по формуле (с.41 [1]) :
b2=
·
где
- межосевое расстояние, мм;
- коэффициент ширины венца колеса, равный 0,28...0,36 — для шестерни, расположенной симметрично относительно опор, принимаем
=0,3 (с. 13 [2]).
b2=200·0,3 =60 мм
Ширина шестерни больше на (3÷8) мм чем у колеса
b1= b2+(3÷8)=60+5=65 мм.
4.7 Проверочный расчет передачи
Определяем точность найденных диаметров по межосевому расстоянию
(4.10)
мм
Таким образом, найденные диаметры определены, верно.
Определяем силы в зацеплении:
Окружная сила направлена по касательной в точки касания колеса и шестерни.
(4.11)
где Т2 - вращающий момент на 2 промежуточном валу, Н·м;
d2 – делительный диаметр шестерни, мм.
Н
Радиальная сила направлена к центру окружности и определяется по формуле (с.19 [2]) :
(4.12)
где α – между геометрической суммой радиальной и осевой силами,
β- угол наклона зубьев, tg β=0,364.
Н
Проверяем зубья колес по напряжениям изгиба. Должно выполняться неравенство
Для колеса
(4.13)
где
- коэффициент, учитывающий распределение нагрузки между зубьями. (с.15 [2]),
=1;
- коэффициент динамической нагрузки, зависящий от окружной скорости колес и степени точности передачи (с.16 [2]),
=1,4;
- коэффициент неравномерности нагрузки по длине зуба (с.16 [2]),
=1,25;
- коэффициент, учитывающий наклон зуба,
=
;
- коэффициенты формы зуба шестерни и колеса (с.16 [2]),
=3,61.
Мпа
Для шестерни
(
4.14)
где
- коэффициенты формы зуба шестерни и колеса (с.16 [2]),
=3,61;
- коэффициенты формы зуба шестерни и колеса (с.16 [2]),
=3,88;
- напряжение изгиба на колесе, Мпа.
Мпа
Так как [σ]F1=547,83 МПа, [σ]F2=495,65 МПа и σF1=233,67 МПа, σF2=217,41 МПа , то колеса прошли проверку по напряжениям на изгиб.
Проверяем зубья колес по контактным напряжениям .
где
,
,
-коэффициенты учитывающие распределение нагрузки между зубьями, неравномерность распределения нагрузки по длине контактной линии, дополнительные динамические нагрузки, так как редуктор рассчитан на долгий срок службы, то
=1,
=1,
=1 .
=491,28 МПа
Определяем, как нагружены колеса:
%=0,88%
Колеса недогружены на 0,88%.
4.8 Вывод
При определении погрешности передаточного числа, получили Δi= 1,5% , что позволяет сделать вывод- передаточное число выбрано, верно.
Так как[σ]F1=547,83 МПа, [σ]F2=495,65 МПа и σF1=233,67 МПа, σF2=217,41 МПа то колеса прошли проверку по напряжениям на изгиб.
В результате расчетов определили, что
0,88% недогрузки. Это величина не превышает допустимого значения (5 % перегрузки и 10 % недогрузки), следовательно, колеса прошли проверку по контактным напряжениям.
В результате проверочного расчета убедились, что полусумма делительных диаметров равна межосевому расстоянию.
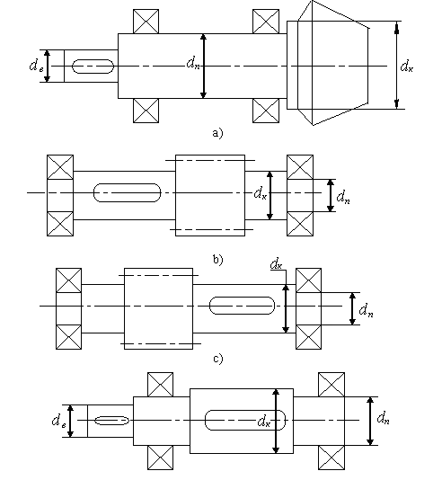
5 Ориентировочный расчет валов
5.1 Задачи
Определить основные размеры валов редуктора предварительно.
5.2 Расчетные схемы
Рисунок 5.1 – Схемы для расчета a) быстроходного вала; b) 1 промежуточного вала; c)2 промежуточного вала; d) тихоходного вала.
5.3 Данные
Крутящий момент быстроходного вала – 22,8 Н·м















